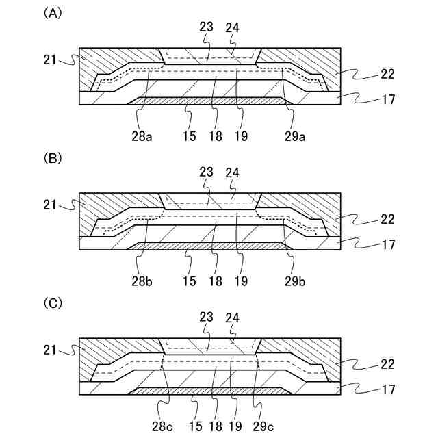
TOP
|
特許
|
意匠
|
商標
特許ウォッチ
Twitter
他の特許を見る
10個以上の画像は省略されています。
公開番号
2025176096
公報種別
公開特許公報(A)
公開日
2025-12-03
出願番号
2025144461,2023203698
出願日
2025-09-01,2013-10-23
発明の名称
表示装置
出願人
株式会社半導体エネルギー研究所
代理人
主分類
H10D
30/67 20250101AFI20251126BHJP()
要約
【課題】酸化物半導体膜の欠陥を低減し、電気特性を向上させ、かつ、信頼性を向上させる酸化物半導体を有する半導体装置、表示装置及び発光装置を提供する。
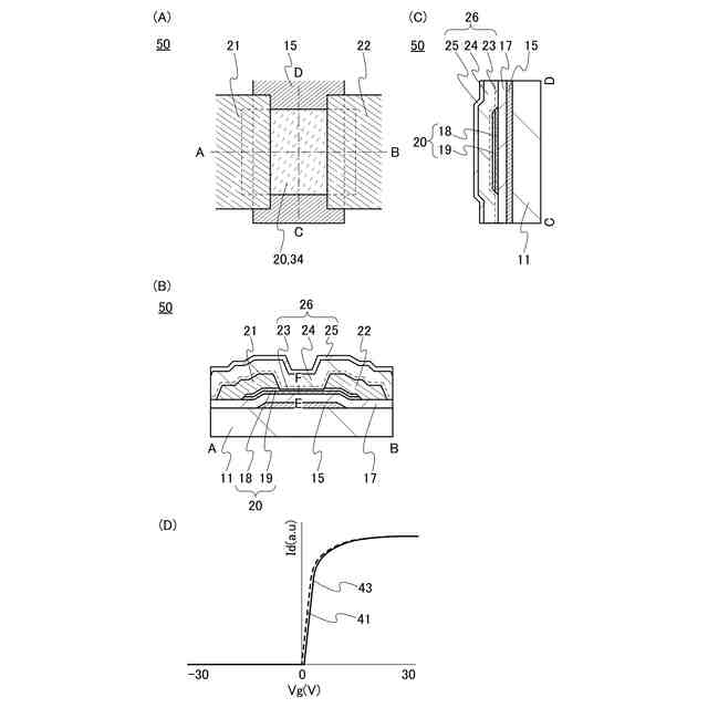
【解決手段】トランジスタ50は、基板11上に形成されるゲート電極15、ゲート電極を覆うゲート絶縁膜17、ゲート絶縁膜を介してゲート電極と重なる多層膜20及び多層膜に接する一対の電極21、22を有する。また、ゲート絶縁膜、多層膜及び一対の電極上には、酸化物絶縁膜23、24及び窒化物絶縁膜25で構成される保護膜26が形成される。多層膜は、酸化物半導体膜18及びIn若しくはGaを含む酸化物膜19を有し、酸化物絶縁膜23は、酸素を透過する酸化物絶縁膜であり、酸化物絶縁膜24は、化学量論的組成を満たす酸素よりも多くの酸素を含む酸化物絶縁膜である。
【選択図】図1
特許請求の範囲
【請求項1】
複数の画素を有し、
前記複数の画素はそれぞれ、トランジスタと、液晶素子と、を有する表示装置であって、
第1の導電膜と、
前記第1の導電膜の上方に位置する領域を有する第1の絶縁膜と、
前記第1の絶縁膜の上方に位置する領域を有する多層膜と、
前記多層膜の上方に位置する領域を有する第2の導電膜及び第3の導電膜と、
前記第2の導電膜の上方に位置する領域と前記第3の導電膜の上方に位置する領域と、を有する第2の絶縁膜と、
前記第2の絶縁膜の上方に位置する領域を有する第3の絶縁膜と、
前記第3の絶縁膜の上方に位置する領域を有する第4の導電膜と、
前記第4の導電膜の上方に位置する領域を有する第4の絶縁膜と、
前記第4の絶縁膜の上方に位置する領域を有する第5の導電膜と、
前記第5の導電膜の上方に位置する領域を有する第5の絶縁膜と、
前記第5の絶縁膜の上方に位置する領域を有する液晶層と、を有し、
前記第1の導電膜は、前記トランジスタのゲート電極としての機能と、走査線としての機能と、を有し、
前記第1の絶縁膜は、前記トランジスタのゲート絶縁膜としての機能を有し、
前記多層膜は、前記トランジスタのチャネル形成領域を有し、
前記多層膜は、酸化物半導体膜と、前記酸化物半導体膜の上方に位置する領域を有する酸化物膜と、を有し、
前記酸化物半導体膜は、InとGaとZnとをx2:y2:z2の原子数比で有し、
前記酸化物膜は、InとGaとZnとをx1:y1:z1の原子数比で有し、
y1/x1は、y2/x2よりも大きく、
前記第2の導電膜は、前記トランジスタのソース電極又はドレイン電極の一方としての機能と、信号線としての機能と、を有し、
前記第3の導電膜は、前記トランジスタのソース電極又はドレイン電極の他方としての機能を有し、
前記第2の絶縁膜は、酸化物絶縁膜と窒化物絶縁膜とを有し、
前記第3の絶縁膜は、有機樹脂膜を有し、
前記第4の導電膜は、前記液晶素子の共通電極としての機能を有し、
前記第5の導電膜は、前記液晶素子の画素電極としての機能を有し、
前記第5の絶縁膜は、配向膜としての機能を有し、
前記第2の絶縁膜は、第1の開口を有し、
前記第3の絶縁膜は、第2の開口を有し、
前記第4の導電膜は、第3の開口を有し、
前記第4の絶縁膜は、第4の開口を有し、
前記第5の導電膜は、前記第1の開口と前記第2の開口と前記第3の開口と前記第4の開口とが重なる領域で、前記第3の導電膜と接する領域を有し、
前記画素の断面視において、前記第4の絶縁膜は、前記第3の絶縁膜の側面と接する領域と、前記第2の絶縁膜と接する領域と、前記第3の導電膜と接する領域と、を有し、
前記画素の平面視において、前記第3の開口は、前記第1の開口の全体と重なりを有し、前記第2の開口の全体と重なりを有し、且つ、前記第4の開口の全体と重なりを有する表示装置。
続きを表示(約 1,500 文字)
【請求項2】
複数の画素を有し、
前記複数の画素はそれぞれ、トランジスタと、液晶素子と、を有する表示装置であって、
第1の導電膜と、
前記第1の導電膜の上方に位置する領域を有する第1の絶縁膜と、
前記第1の絶縁膜の上方に位置する領域を有する多層膜と、
前記多層膜の上方に位置する領域を有する第2の導電膜及び第3の導電膜と、
前記第2の導電膜の上方に位置する領域と前記第3の導電膜の上方に位置する領域と、を有する第2の絶縁膜と、
前記第2の絶縁膜の上方に位置する領域を有する第3の絶縁膜と、
前記第3の絶縁膜の上方に位置する領域を有する第4の導電膜と、
前記第4の導電膜の上方に位置する領域を有する第4の絶縁膜と、
前記第4の絶縁膜の上方に位置する領域を有する第5の導電膜と、
前記第5の導電膜の上方に位置する領域を有する第5の絶縁膜と、
前記第5の絶縁膜の上方に位置する領域を有する液晶層と、を有し、
前記第1の導電膜は、前記トランジスタのゲート電極としての機能と、走査線としての機能と、を有し、
前記第1の絶縁膜は、前記トランジスタのゲート絶縁膜としての機能を有し、
前記多層膜は、前記トランジスタのチャネル形成領域を有し、
前記多層膜は、酸化物半導体膜と、前記酸化物半導体膜の上方に位置する領域を有する酸化物膜と、を有し、
前記酸化物半導体膜は、InとGaとZnとをx2:y2:z2の原子数比で有し、
前記酸化物膜は、InとGaとZnとをx1:y1:z1の原子数比で有し、
y1/x1は、y2/x2よりも大きく、
前記第2の導電膜は、前記トランジスタのソース電極又はドレイン電極の一方としての機能と、信号線としての機能と、を有し、
前記第3の導電膜は、前記トランジスタのソース電極又はドレイン電極の他方としての機能を有し、
前記第2の絶縁膜は、酸化物絶縁膜と窒化物絶縁膜とを有し、
前記第3の絶縁膜は、有機樹脂膜を有し、
前記第4の導電膜は、前記液晶素子の共通電極としての機能を有し、
前記第5の導電膜は、前記液晶素子の画素電極としての機能を有し、
前記第5の絶縁膜は、配向膜としての機能を有し、
前記第2の絶縁膜は、第1の開口を有し、
前記第3の絶縁膜は、第2の開口を有し、
前記第4の導電膜は、第3の開口を有し、
前記第4の絶縁膜は、第4の開口を有し、
前記第5の導電膜は、前記第1の開口と前記第2の開口と前記第3の開口と前記第4の開口とが重なる領域で、前記第3の導電膜と接する領域を有し、
前記画素の断面視において、前記第4の絶縁膜は、前記第3の絶縁膜の側面と接する領域と、前記第2の絶縁膜と接する領域と、前記第3の導電膜と接する領域と、を有し、
前記画素の平面視において、前記第5の導電膜は複数のスリットを有し、
前記画素の平面視において、前記スリットは、前記第3の開口と重なり有さず、
前記画素の平面視において、前記第3の開口は、前記第1の開口の全体と重なりを有し、前記第2の開口の全体と重なりを有し、且つ、前記第4の開口の全体と重なりを有する表示装置。
【請求項3】
請求項1又は請求項2において、
y1/x1は、y2/x2よりも2倍以上大きい、表示装置。
【請求項4】
請求項1又は請求項2において、
y1/x1は、y2/x2よりも3倍以上大きい、表示装置。
発明の詳細な説明
【技術分野】
【0001】
本発明は、物、方法、または、製造方法に関する。または、本発明は、プロセス、マシ
ン、マニュファクチャ、または、組成物(コンポジション・オブ・マター)に関する。特
に、本発明は、例えば、半導体装置、表示装置、発光装置、蓄電装置、それらの駆動方法
、または、それらの製造方法に関する。特に、本発明は、例えば、酸化物半導体を有する
半導体装置、表示装置、または、発光装置に関する。特に、本発明は、例えば、トランジ
スタを有する半導体装置及びその作製方法に関する。
続きを表示(約 2,200 文字)
【背景技術】
【0002】
液晶表示装置や発光表示装置に代表されるフラットパネルディスプレイの多くに用いら
れているトランジスタは、ガラス基板上に形成されたアモルファスシリコン、単結晶シリ
コンまたは多結晶シリコンなどのシリコン半導体によって構成されている。また、該シリ
コン半導体を用いたトランジスタは、集積回路(IC)などにも利用されている。
【0003】
近年、シリコン半導体に代わって、半導体特性を示す金属酸化物をトランジスタに用い
る技術が注目されている。なお、本明細書中では、半導体特性を示す金属酸化物を酸化物
半導体とよぶことにする。
【0004】
例えば、酸化物半導体として、酸化亜鉛、またはIn-Ga-Zn系酸化物を用いたト
ランジスタを作製し、該トランジスタを表示装置の画素のスイッチング素子などに用いる
技術が開示されている(特許文献1及び特許文献2参照)。
【先行技術文献】
【特許文献】
【0005】
特開2007-123861号公報
特開2007-96055号公報
【発明の概要】
【発明が解決しようとする課題】
【0006】
酸化物半導体膜を用いたトランジスタにおいて、酸化物半導体膜に含まれる酸素欠損量
が多いことは、トランジスタの電気特性の不良に繋がると共に、経時変化やストレス試験
(例えば、BT(Bias-Temperature)ストレス試験)において、トラン
ジスタの電気特性、代表的にはしきい値電圧の変動量が増大することの原因となる。
【0007】
そこで、本発明の一態様は、酸化物半導体膜を用いた半導体装置などにおいて、酸化物
半導体膜の欠陥を低減することを課題の一とする。または、本発明の一態様は、酸化物半
導体膜を用いた半導体装置などにおいて、電気特性を向上させることを課題の一とする。
または、本発明の一態様は、酸化物半導体膜を用いた半導体装置などにおいて、信頼性を
向上させることを課題の一とする。または、本発明の一態様は、オフ電流の低い半導体装
置などを提供することを課題とする。または、本発明の一態様は、消費電力の低い半導体
装置などを提供することを課題とする。または、本発明の一態様は、目の疲労を軽減する
ことが可能な表示装置などを提供することを課題とする。または、本発明の一態様は、透
明な半導体膜を用いた半導体装置などを提供することを課題とする。または、本発明の一
態様は、新規な半導体装置などを提供することを課題とする。または、本発明の一態様は
、優れた特性を有する半導体装置などを提供することを課題とする。なお、これらの課題
の記載は、他の課題の存在を妨げるものではない。なお、本発明の一態様は、これらの課
題の全てを解決する必要はないものとする。なお、これら以外の課題は、明細書、図面、
請求項などの記載から、自ずと明らかとなるものであり、明細書、図面、請求項などの記
載から、これら以外の課題を抽出することが可能である。
【課題を解決するための手段】
【0008】
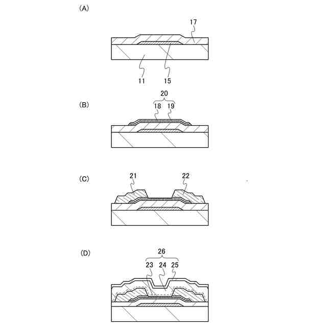
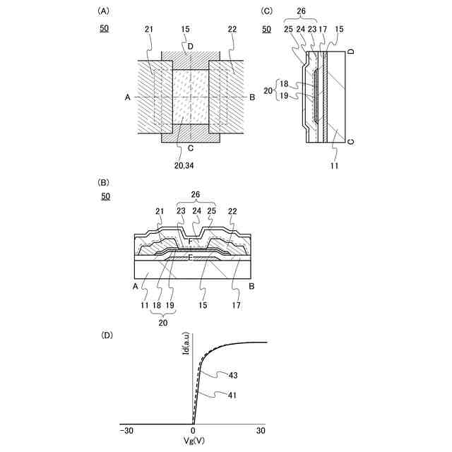
本発明の一態様は、基板上に形成されるゲート電極、ゲート電極を覆うゲート絶縁膜、
ゲート絶縁膜を介してゲート電極と重なる多層膜、及び多層膜に接する一対の電極を有す
るトランジスタと、該トランジスタを覆う第1の酸化物絶縁膜及び該第1の酸化物絶縁膜
上に形成される第2の酸化物絶縁膜とを備える半導体装置であって、多層膜は、酸化物半
導体膜及びIn若しくはGaを含む酸化物膜を有し、第1の酸化物絶縁膜は、酸素を透過
する酸化物絶縁膜であり、第2の酸化物絶縁膜は、化学量論的組成を満たす酸素よりも多
くの酸素を含む酸化物絶縁膜であり、トランジスタは、バイアス温度ストレス試験によっ
てしきい値電圧が変動しない、またはプラス方向若しくはマイナス方向に変動する特性を
有し、マイナス方向若しくはプラス方向への変動量が1.0V以下、好ましくは0.5V
以下であることを特徴とする。
【0009】
なお、酸化物半導体膜は、In若しくはGaを含むことが好ましい。
【0010】
また、In若しくはGaを含む酸化物膜の伝導帯の下端のエネルギー準位が、酸化物半
導体膜の伝導帯の下端のエネルギー準位よりも真空準位に近い。さらには、In若しくは
Gaを含む酸化物膜の伝導帯の下端のエネルギー準位と、酸化物半導体膜の伝導帯の下端
のエネルギー準位との差は0.05eV以上2eV以下であることが好ましい。なお、真
空準位と伝導帯下端のエネルギー差を電子親和力ともいうため、In若しくはGaを含む
酸化物膜の電子親和力が、酸化物半導体膜の電子親和力より小さく、その差が0.05e
V以上2eV以下であることが好ましい。
(【0011】以降は省略されています)
この特許をJ-PlatPat(特許庁公式サイト)で参照する
関連特許
個人
積和演算用集積回路
1か月前
サンケン電気株式会社
半導体装置
1か月前
日機装株式会社
半導体発光装置
26日前
ローム株式会社
半導体装置
10日前
三菱電機株式会社
半導体装置
18日前
株式会社東芝
半導体装置
18日前
株式会社半導体エネルギー研究所
表示装置
10日前
三菱電機株式会社
半導体装置
1か月前
三菱電機株式会社
半導体装置
5日前
ローム株式会社
半導体集積回路
1か月前
ローム株式会社
半導体装置
1か月前
サンケン電気株式会社
半導体装置
18日前
株式会社半導体エネルギー研究所
発光デバイス
26日前
株式会社半導体エネルギー研究所
発光デバイス
1か月前
ローム株式会社
半導体装置
3日前
日亜化学工業株式会社
発光素子
1か月前
新電元工業株式会社
半導体素子
3日前
新電元工業株式会社
半導体素子
3日前
新電元工業株式会社
半導体素子
3日前
日亜化学工業株式会社
発光装置
1か月前
日亜化学工業株式会社
発光装置
1か月前
日亜化学工業株式会社
発光素子
1か月前
ローム株式会社
半導体装置
18日前
日本ゼオン株式会社
構造体
1か月前
日亜化学工業株式会社
発光装置
3日前
日亜化学工業株式会社
発光装置の製造方法及び発光装置
1か月前
株式会社東芝
ウエーハ及び半導体装置
11日前
住友電気工業株式会社
炭化珪素半導体装置
10日前
ローム株式会社
半導体装置
1か月前
株式会社東芝
半導体装置及びウエーハ
1か月前
株式会社東芝
ウエーハ及び半導体装置
11日前
シチズン電子株式会社
発光装置
1か月前
京セラ株式会社
配線基板及びLEDモジュール
1か月前
住友電気工業株式会社
受光素子
1か月前
株式会社東芝
半導体装置及びその製造方法
1か月前
株式会社半導体エネルギー研究所
発光デバイスおよび表示装置
1か月前
続きを見る
他の特許を見る