TOP
|
特許
|
意匠
|
商標
特許ウォッチ
Twitter
他の特許を見る
10個以上の画像は省略されています。
公開番号
2025176052
公報種別
公開特許公報(A)
公開日
2025-12-03
出願番号
2025140440,2024110876
出願日
2025-08-26,2021-12-10
発明の名称
LEDブラケット、発光ユニット及び発光アセンブリ(LED BRACKET,LIGHT-EMITTING UNIT,AND LIGHT-EMITTING ASSEMBLY)
出願人
シェンツェン ジュフェイ オプトエレクトロニクス カンパニー リミテッド
,
SHENZHEN JUFEI OPTOELECTRONICS CO., LTD
代理人
TRY国際弁理士法人
主分類
H10H
20/851 20250101AFI20251126BHJP()
要約
【課題】LEDブラケットの強度が低く、外力を受けて折れやすい問題を解決するために、LEDブラケット、発光ユニット及び発光アセンブリを提供する。
【解決手段】LEDブラケット、発光ユニット及び発光アセンブリであって、LEDブラケットの基板は基板本体と、基板本体からLEDブラケットのボウル状カップの側壁内まで延びる支持部14と、を含み、支持部はボウル状カップの側壁内でLEDブラケットの一方の導電領域から他方の導電領域へ延びると共に、少なくともこの2つの導電領域を絶縁隔離する絶縁領域13の側壁に対応する側壁領域まで延びる、LEDブラケット、発光ユニット及び発光アセンブリに関する。
【選択図】図4
特許請求の範囲
【請求項1】
LEDチップとLEDブラケットとを含む発光ユニットであって、前記LEDブラケットはボウル状カップを有し、前記LEDチップは前記ボウル状カップの底部に設けられる赤色光LEDチップと藍色光LEDチップとを含み、
前記発光ユニットは前記ボウル状カップ内に設けられるパッケージ層を更に含み、前記パッケージ層は緑色媒体を含み、前記緑色媒体は前記ボウル状カップに充填されると共に前記赤色光LEDチップと前記藍色光LEDチップを覆い、
前記赤色光LEDチップと前記藍色光LEDチップは垂直構造又は水平構造であり、
前記赤色光LEDチップと前記藍色光LEDチップは前記緑色媒体を励起させ、白色光を射出し、
前記白色光の正規化スペクトログラムは、第1赤色光波長帯と緑色光波長帯を含み、前記第1赤色光波長帯の半値全幅は15nm~30nmであり、前記第1赤色光波長帯のピークは第1ピークであり、前記第1ピークに対応する相対的光パワーは0.9~1であり、前記第1ピークに対応する波長は645nm~665nmである、上記条件を満足し、
前記パッケージ層は前記ボウル状カップに充填される封止材を更に含み、前記緑色媒体と前記封止材との混合比率範囲は1:12~1:2である、発光ユニット。
続きを表示(約 1,100 文字)
【請求項2】
前記正規化スペクトログラムは、前記緑色光波長帯の半値全幅は35nm~60nmであり、前記緑色光波長帯のピークは第2ピークであり、前記第2ピークに対応する相対的光パワーは0.2~0.4であり、前記第2ピークに対応する波長は530nm~550nmである、請求項
1
に記載の発光ユニット。
【請求項3】
前記正規化スペクトログラムは、藍色光波長帯を更に含み、前記藍色光波長帯の半値全幅は15nm~30nmであり、前記藍色光波長帯のピークは第3ピークであり、前記第3ピークに対応する相対的光パワーは0.3~0.5であり、前記第3ピークに対応する波長は445nm~455nmである、請求項
1
に記載の発光ユニット。
【請求項4】
前記正規化スペクトログラムは、黄色光波長帯を更に含み、前記黄色光波長帯に対応する波長範囲は585nm~630nmであり、黄色光波長帯の相対的光パワーは0.15未満である、請求項
1
に記載の発光ユニット。
【請求項5】
前記正規化スペクトログラムは、青色光波長帯を更に含み、青色光波長帯に対応する波長範囲は465nm~515nmであり、前記青色光波長帯の相対的光パワーは0.1未満である、請求項
1
に記載の発光ユニット。
【請求項6】
前記正規化スペクトログラムは、紫色光波長帯を更に含み、前記紫色光波長帯に対応する波長範囲は350nm~420nmであり、前記紫色光波長帯の相対的光パワーは0.1未満である、請求項
1
に記載の発光ユニット。
【請求項7】
前記正規化スペクトログラムは、前記第1赤色光波長帯と隣接する第2赤色光波長帯を更に含み、前記第2赤色光波長帯に対応する波長範囲は680nm~780nmであり、前記第2赤色光波長帯の相対的光パワーは0.1未満である、請求項
1
に記載の発光ユニット。
【請求項8】
前記緑色媒体の材質はβ-Sialonを含み、前記藍色光LEDチップの材質は窒化ガリウムを含み、前記赤色光LEDチップの材質はアルミニウムインジウムガリウムリンを含む、請求項
1
に記載の発光ユニット。
【請求項9】
前記白色光はCIE1931色度図において、X軸における分布範囲は0.31~0.39であり、Y軸における分布範囲は0.3~0.4であり、且つ前記白色光の色温度範囲は4000K~7000Kである、請求項1に記載の発光ユニット。
発明の詳細な説明
【技術分野】
【0001】
本願は、LED(LightEmittingDiode、LEDチップ)分野に関し、特にLEDブラケット、発光ユニット及び発光アセンブリに関する。
続きを表示(約 4,000 文字)
【背景技術】
【0002】
チップLEDは、照明、装飾、バックライト、ディスプレイなどの分野で幅広く応用されている。チップLEDは、LEDブラケットと、LEDブラケットに設けられるLEDチップと、を含む。従来のチップLEDのLEDブラケットは、通常、基板と、基板に設けられるパッケージと、含み、パッケージにLEDチップを収容するためのボウル状カップが形成される。しかし、従来のLEDブラケットのボウル状カップの側壁は強度が低いため、例えば板材のひずみなどによる外力影響を受けて折れやすい。
【0003】
そのため、LEDブラケットの強度を如何に向上させることは、現在、早急に解決すべき技術問題である。
【発明の概要】
【発明が解決しようとする課題】
【0004】
上記従来技術の欠陥を鑑み、本願は、関連技術においてLEDブラケットの強度が低く、外力を受けて折れやすい問題を解決するために、LEDブラケット、発光ユニット及び発光アセンブリを提供することを目的とする。
【課題を解決するための手段】
【0005】
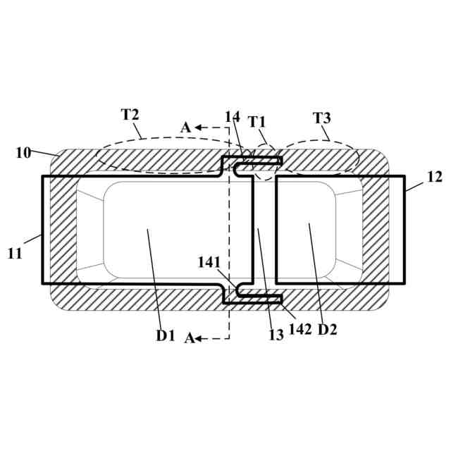
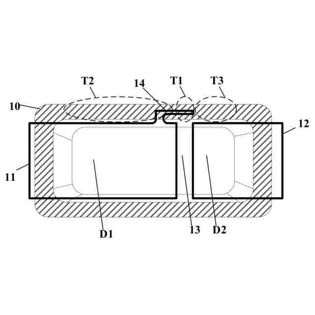
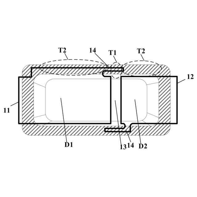
本願は、パッケージと、その一部が上記パッケージに覆われる基板と、を含むLEDブラケットであって、上記パッケージにボウル状カップが形成され、上記基板の一部は上記ボウル状カップの底部として上記ボウル状カップ内にあり、上記基板は上記ボウル状カップ内にある2つの導電領域を含むと共に、上記2つの導電領域の間に両者を絶縁隔離する絶縁領域が設けられ、
上記基板が基板本体と、上記基板本体から上記ボウル状カップの側壁内まで延びる支持部と、を含み、上記支持部は上記側壁内で一方の上記導電領域から他方の上記導電領域へ延びると共に、少なくとも上記絶縁領域の上記側壁に対応する側壁領域まで延びる、LEDブラケット。
【0006】
同一の発明概念に基づき、本願は、LEDチップと、上述したようなLEDブラケットと、を含む発光ユニットであって、上記LEDチップは上記ボウル状カップの底部に設けられ、上記LEDチップの正・負極は上記2つの導電領域にそれぞれ電気的に接続され、
上記ボウル状カップ内に設けられるパッケージ層を更に含む、発光ユニットを提供する。
【0007】
同一の発明概念に基づき、本願は、回路板と、上述したような発光ユニットと、を含む発光アセンブリであって、上記発光ユニットは上記回路板に設けられると共に、上記回路板に電気的に接続される、発光アセンブリを更に提供する。
【発明の効果】
【0008】
本願は、LEDブラケット、発光ユニット及び発光アセンブリであって、そのうち、LEDブラケットの基板は基板本体と、基板本体からLEDブラケットのボウル状カップの側壁内まで延びる支持部と、を含むLEDブラケット、発光ユニット及び発光アセンブリを提供し、当該支持部によりボウル状カップの側壁の強度を向上させることで、LEDブラケットの全体強度を向上させることができる。また、支持部はボウル状カップの側壁内でLEDブラケットの一方の導電領域から他方の導電領域へ延びると共に、少なくともこの2つの導電領域を絶縁隔離する絶縁領域の側壁に対応する側壁領域まで延び、即ち、支持部は2つの導電領域のボウル状カップの側壁に投影する2つの領域の間の領域まで延びており、この領域はLEDブラケットの強度の最も弱い領域であり、支持部がこの領域まで延びることで、LEDブラケットの強度を更に向上させ、特にLEDブラケットの強度の最も弱い部分が効果的に補強され、LEDブラケットが外力を受けて折れる状況の発生は最大限で避けることができる。本願により提供される発光ユニット及び発光アセンブリはより優れた強度のLEDブラケットを採用したため、発光ユニット及び発光アセンブリの全体強度と信頼性を向上させることができる。
【図面の簡単な説明】
【0009】
本願の実施例1により提供されるLEDブラケットの上面図1である。
本願の実施例1により提供されるLEDブラケットの上面図2である。
本願の実施例1により提供されるLEDブラケットの上面図3である。
本願の実施例1により提供されるLEDブラケットの上面図4である。
図4におけるLEDブラケットのA-A断面図である。
本願の実施例1により提供されるLEDブラケットの上面図5である。
本願の実施例2により提供されるLEDブラケットの構成図1である。
本願の実施例2により提供されるLEDブラケットの構成図2である。
本願の実施例2により提供されるLEDブラケットの構成図3である。
本願の実施例2により提供される第1凹溝の構成図1である。
本願の実施例2により提供される第1凹溝の構成図2である。
本願の実施例2により提供される第1凹溝の構成図3である。
本願の実施例2により提供されるLEDブラケットの構成図4である。
本願の実施例2により提供されるLEDブラケットの構成図5である。
本願の実施例2により提供される発光アセンブリの構成図である。
本願の実施例3により提供されるLEDブラケットの構成図1である。
本願の実施例3により提供されるLEDブラケットの構成図2である。
本願の実施例3により提供されるLEDブラケットの構成図3である。
本願の実施例3により提供されるLEDブラケットの構成図4である。
本願の実施例3により提供されるLEDブラケットの構成図5である。
本願の実施例3により提供される発光ユニットの構成図である。
本願の実施例4により提供されるLEDブラケットの基板の構成図1である。
本願の実施例4により提供されるLEDブラケットの基板の構成図2である。
本願の実施例4により提供されるLEDブラケットの基板の構成図3である。
本願の実施例4により提供される発光ユニットの構成図である。
本願の実施例5により提供されるLEDブラケットの構成図1である。
本願の実施例5により提供されるLEDブラケットの構成図2である。
本願の実施例5により提供されるLEDブラケットの構成図3である。
本願の実施例5により提供されるLEDブラケットの上面図1である。
本願の実施例5により提供されるLEDブラケットの上面図2である。
本願の実施例5により提供されるLEDブラケットの上面図3である。
本願の実施例5により提供されるLEDブラケットの構成図4である。
本願の実施例5により提供される発光ユニットの構成図である。
本願の実施例6により提供される従来の正規化スペクトログラムの模式図1である。
本願の実施例6により提供される従来の正規化スペクトログラムの模式図2である。
本願の実施例6により提供される発光ユニットの構成図1である。
図36における発光ユニットの上面図である。
本願の実施例6により提供される改善後の正規化スペクトログラムの模式図1である。
本願の実施例6により提供される発光ユニットの構成図2である。
図39における発光ユニットの上面図である。
本願の実施例6により提供される改善後の正規化スペクトログラム2である。
本願の実施例7により提供される発光ユニットの構成図1である。
本願の実施例7により提供される発光ユニットの構成図2である。
本願の実施例7により提供される発光ユニットの構成図3である。
本願の実施例7により提供される発光ユニットの構成図4である。
本願の実施例7により提供される発光ユニットの構成図5である。
本願の実施例7により提供されるLEDブラケットの上面におけるジグザグ状構造の構成図である。
本願の実施例7により提供される発光ユニットの構成図6である。
本願の実施例8により提供される回路板の構成図1である。
本願の実施例8により提供される回路板の上面図である。
本願の実施例8により提供される発光アセンブリの構成図である。
本願の実施例8により提供される電子機器の折れ曲れ状態の模式図である。
本願の実施例8により提供される電子機器の構成図である。
本願の実施例9により提供される回路板の構成図2である。
本願の実施例9により提供される発光アセンブリの構成図1である。
本願の実施例9により提供される発光アセンブリの構成図2である。
本願の実施例9により提供される発光アセンブリの構成図3である。
本願の実施例9により提供される発光アセンブリの構成図4である。
本願の実施例9により提供される発光アセンブリの構成図5である。
本願の実施例9により提供される放熱リブの構成図である。
【発明を実施するための形態】
【0010】
以下、本願を容易に理解するために、関連図面を参照しながら本願についてより全面的に記述する。図面は本願の好適な実施形態を示している。しかし、本願は本明細書で記述される実施形態に限定されず、様々な形態で実現できる。逆に、これらの実施形態を提供する目的は、本願により開示された内容についてより全面的に理解するためである。
(【0011】以降は省略されています)
この特許をJ-PlatPat(特許庁公式サイト)で参照する
関連特許
個人
積和演算用集積回路
27日前
サンケン電気株式会社
半導体装置
26日前
旭化成株式会社
発光素子
1か月前
エイブリック株式会社
縦型ホール素子
1か月前
エイブリック株式会社
縦型ホール素子
1か月前
日機装株式会社
半導体発光装置
21日前
ローム株式会社
半導体装置
5日前
ローム株式会社
抵抗チップ
1か月前
富士通株式会社
半導体装置
1か月前
株式会社半導体エネルギー研究所
表示装置
5日前
三菱電機株式会社
半導体装置
1か月前
株式会社東芝
半導体装置
13日前
三菱電機株式会社
半導体装置
13日前
株式会社半導体エネルギー研究所
表示装置
1か月前
三菱電機株式会社
半導体装置
今日
三菱電機株式会社
半導体装置
1か月前
富士電機株式会社
半導体装置
1か月前
日亜化学工業株式会社
発光装置
1か月前
ローム株式会社
半導体集積回路
1か月前
日亜化学工業株式会社
発光素子
1か月前
日亜化学工業株式会社
発光装置
1か月前
TDK株式会社
圧電素子
1か月前
ローム株式会社
半導体装置
26日前
富士電機株式会社
半導体装置の製造方法
1か月前
株式会社半導体エネルギー研究所
発光デバイス
1か月前
ローム株式会社
半導体装置
1か月前
ローム株式会社
窒化物半導体装置
1か月前
サンケン電気株式会社
半導体装置
13日前
ローム株式会社
窒化物半導体装置
1か月前
ローム株式会社
半導体装置
1か月前
株式会社半導体エネルギー研究所
発光デバイス
21日前
株式会社カネカ
太陽電池モジュール
1か月前
大日本印刷株式会社
太陽電池
1か月前
日亜化学工業株式会社
発光素子
26日前
サンケン電気株式会社
発光装置
1か月前
日本電気株式会社
超伝導量子回路装置
1か月前
続きを見る
他の特許を見る