TOP
|
特許
|
意匠
|
商標
特許ウォッチ
Twitter
他の特許を見る
10個以上の画像は省略されています。
公開番号
2025176043
公報種別
公開特許公報(A)
公開日
2025-12-03
出願番号
2025138671,2023146032
出願日
2025-08-22,2019-01-25
発明の名称
サージカルアパレルシステムおよび使用方法
出願人
ストライカー・コーポレイション
代理人
個人
,
個人
,
個人
,
個人
主分類
A42B
3/22 20060101AFI20251126BHJP(頭部に着用するもの)
要約
【課題】医療提供者と患者との間に確実なバリアを維持することによって、医療処置または検査中の粒子または異物の交換および/または移動を防止する。
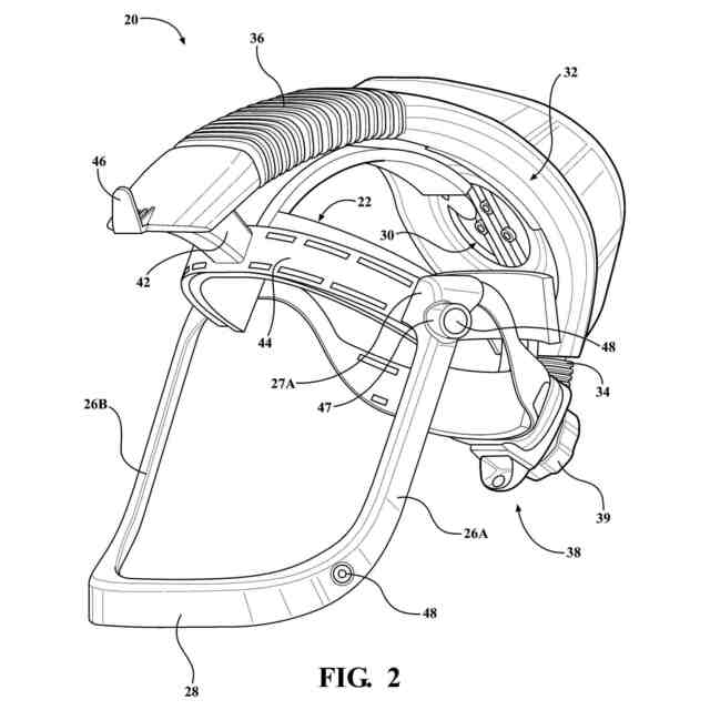
【解決手段】サージカルアパレルシステム10である。このシステムは、サージカルガーメント12およびサージカルヘルメット20を備える。ヘルメットは、遠位面に凹部を有する下顎バーと、凹部内に配設され、下顎バーの前記遠位面に近接して位置決めされた結合部材48とを備える。サージカルガーメントは、透明フェイスシールド18と、透明フェイスシールドに結合された取り付け要素58とを備える。取り付け要素は、ヘルメットの結合部材に対して取り外し可能に係合するように構成された近位面を有するヘッドを備える。取り付け要素が結合部材に係合した場合に、ヘッドの一部が前記下顎バーの前記遠位面に近接して位置決めされる。
【選択図】図1
特許請求の範囲
【請求項1】
周辺機器を含むサージカルアパレルシステムであって、
着用者の頭部に装着されるサージカルヘルメットであり、
遠位面を有し、前記遠位面において凹部を規定する下顎バーと、
前記凹部内に配設され、前記下顎バーの前記遠位面に近接して位置決めされた遠位面
を有し、強磁性材料または磁性材料の一方を含む第1の結合部材と、
を備えたフェイスフレームを備えた、サージカルヘルメットと、
前記サージカルヘルメットの上方に少なくとも一部が配設され、医療環境と前記着用者
との間に微生物バリアを設けるように構成されたサージカルガーメントであり、
前記サージカルヘルメットの上方に少なくとも一部が配設された場合に、前記着用者
の顔面の前方に位置決めされるように構成された開口を規定するサージカル布と、
前記サージカル布の前記開口内に配設され、上部、下部、第1の表面、および反対の
第2の表面を備えた透明フェイスシールドと、
前記透明フェイスシールドに結合され、前記強磁性材料または前記磁性材料の他方を
含み、近位面を有するヘッドを備えた第1の取り付け要素で、前記ヘッドが、前記サージ
カルガーメントの少なくとも一部が前記サージカルヘルメットの上方に配設された場合に
、前記第1の結合部材に対して取り外し可能に係合するように構成された、第1の取り付
け要素と、
を備え、前記ヘッドの前記近位面が、前記第1の取り付け要素が前記第1の結合部材に
係合した場合に、前記下顎バーの前記遠位面に近接して位置決めされた、サージカルガー
メントと、
を備えた、サージカルアパレルシステム。
続きを表示(約 1,700 文字)
【請求項2】
前記サージカルヘルメットが、前記下顎バー内に配設され、前記第1の結合部材に隣接
して位置決めされたセンサをさらに備え、
前記センサが、前記第1の結合部材に隣り合う前記第1の取り付け要素の存在を検出す
ることによって、前記サージカルガーメントの第1の取り付け要素が前記サージカルヘル
メットに結合されたタイミングを検出するように構成された、請求項1に記載のサージカ
ルアパレルシステム。
【請求項3】
前記第1の結合部材が、磁性材料を含み、前記第1の取り付け要素が、強磁性材料を含
み、
前記センサが、前記第1の結合部材に対する前記第1の取り付け要素の近接性に少なく
とも部分的に基づいて、前記第1の結合部材を囲む磁界の変化を検出するように構成され
たホール効果センサである、請求項2に記載のサージカルアパレルシステム。
【請求項4】
前記第1の結合部材が、強磁性材料を含み、前記第1の取り付け要素が、磁性材料を含
み、
前記センサが、前記第1の結合部材に対する前記第1の取り付け要素の近接性に少なく
とも部分的に基づいて、前記第1の結合部材を囲む磁界の変化を検出するように構成され
たホール効果センサである、請求項2に記載のサージカルアパレルシステム。
【請求項5】
前記第1の結合部材が
前記遠位面の反対の近位面と、
前記第1の結合部材の前記近位面および前記遠位面を通って延び、前記第1の結合部材
の両側部を規定する横断面と、
をさらに備え、
前記第1の結合部材が、前記横断面を横切って分極した磁性材料を含む、請求項1~4
のいずれか1項に記載のサージカルアパレルシステム。
【請求項6】
前記第1の結合部材が
前記遠位面の反対の近位面と、
前記第1の結合部材の前記近位面および前記遠位面を通って延び、前記第1の結合部材
の両側部を規定する横断面と、
をさらに備え、
前記第1の結合部材が、当該第1の結合部材の前記両側部の一方が第1の極性を備え、
前記両側部の他方が第2の極性を備えるように、前記横断面を横切って分極した磁性材料
を含む、請求項1~5のいずれか1項に記載のサージカルアパレルシステム。
【請求項7】
前記近位面および前記遠位面それぞれの外縁が前記第1の結合部材の中心軸を規定し、
前記横断面が、前記第1の結合部材の前記中心軸と交差するように構成された、請求項
5または6に記載のサージカルアパレルシステム。
【請求項8】
前記サージカルヘルメットが、前記横断面上で前記第1の結合部材に隣接して位置決め
されたセンサをさらに備え、
前記センサが、前記第1の結合部材に隣り合う前記第1の取り付け要素の存在を検出す
ることによって、前記サージカルガーメントの第1の取り付け要素が前記サージカルヘル
メットに結合されたタイミングを検出するように構成された、請求項5~7のいずれか1
項に記載のサージカルアパレルシステム。
【請求項9】
前記第1の取り付け要素が、前記透明フェイスシールドへの横力の印加に応じた前記サ
ージカルガーメントの前記サージカルヘルメットからの分離に抗するように成形された、
請求項1~8のいずれか1項に記載のサージカルアパレルシステム。
【請求項10】
前記ヘッドの前記近位面が、前記第1の結合部材に係合するように構成され、
前記第1の取り付け要素の前記近位面が、前記第1の取り付け要素が前記第1の結合部
材に係合した場合に、前記下顎バーの前記遠位面に近接して位置決めされた、請求項1~
9のいずれか1項に記載のサージカルアパレルシステム。
(【請求項11】以降は省略されています)
発明の詳細な説明
【技術分野】
【0001】
本願は、2018年1月26日に出願された米国仮特許出願第62/622,520号
および2018年5月24日に出願された米国仮特許出願第62/676,135号の優
先権および利益を主張する2018年12月18日に出願された米国特許出願第16/2
23,523号の優先権および利益を主張するものであり、そのすべての内容を本明細書
に援用する。
続きを表示(約 5,800 文字)
【背景技術】
【0002】
外科手術においては、手術従事者と患者との間に無菌バリアを設けるため、個人用保護
システムが使用される。具体的に、従来のシステムは、トーガまたはフードを支持するヘ
ルメットを具備する。このシステムは、無菌バリアを確立したい医療従事者/手術従事者
が着用する。トーガまたはフードは、透明なフェイスシールドを具備する場合がある。ヘ
ルメットは、ファンを含む換気ユニットを具備する。換気ユニットは、空気が着用者の周
りで循環するように、トーガ/フードを通じて空気を取り込む。これにより、トーガ/フ
ードに閉じ込められる熱の量およびこの空間に溜まるCO
2
の量の両者が減る。さらに、
手術部位を照らすように指向され得る照明のヘルメットへの取り付けが知られている。
【0003】
従来のトーガまたはフードは、ヘルメットに対して取り外し可能に結合されるように構
成されていた。これにより、トーガ/フードは、外科手術の後にヘルメットから取り外し
て、廃棄することができる。個人用保護システムの以前の設計には、トーガ/フードをヘ
ルメットに結合するフックおよび/または一般的なファスナを含んでいた。ただし、個人
用保護システムの以前の設計で利用されていたファスナには、多くの制約があった。
【発明の概要】
【0004】
本開示は、一般的にはサージカルアパレルシステムに関する。サージカル(手術用/外
科用/防護用)アパレルシステムは、サージカルヘルメットに取り付けられるように構成
可能なサージカルガーメントアセンブリを備え、このサージカルガーメントアセンブリは
、当該システムを着用している個人と周囲環境との間にバリアを設けるように採用可能で
ある。
【0005】
例示的な一構成は、サージカルヘルメットに取り付けられるように構成され、取り付け
部材を一体的に含むサージカルガーメントを備え、サージカルガーメントをサージカルヘ
ルメットに対して取り外し可能に結合するように構成されたサージカルアパレルシステム
を提供する。取り付け部材は、サージカルガーメントにより形成された微生物バリアの着
用者側でサージカルヘルメットに対して取り外し可能に結合するように構成されていても
よい。サージカルヘルメットは、取り付け部材に嵌め合い係合することによって、サージ
カルガーメントを当該サージカルヘルメットに対して取り外し可能に結合するように構成
されたヘルメット結合器アセンブリを備えていてもよい。ヘルメット結合器アセンブリは
、サージカルヘルメットに対するサージカルガーメントの位置に少なくとも部分的に基づ
いて、検出器に対して選択的に係合するように構成された可動部材をさらに備えていても
よい。このスイッチは、サージカルヘルメットの周辺機器の動作特性を制御するように構
成されたコントローラに対して通信可能に接続されていてもよい。
【0006】
別の例示的な構成において、サージカルアパレルシステムは、医療環境と着用者との間
に微生物バリアを設けるように構成されたサージカルガーメントを備えていてもよい。サ
ージカルガーメントは、位置合わせチャネル内に少なくとも一部が配設されたフックおよ
び下顎バーを含むサージカルヘルメットの上方に配設されるように構成されていてもよい
。下顎バーは、少なくとも2つの磁性結合部材を含んでいてもよい。サージカルガーメン
トは、サージカルヘルメットの上方に少なくとも一部が配設されるように構成された第1
の材料を備えていてもよい。第1の材料は、サージカルヘルメットの上方に配設された場
合に、着用者の顔面の前方に位置決めされるように構成された開口を備えていてもよい。
サージカルガーメントは、第1の材料の前記開口内に配設された透明フェイスシールドを
さらに備えていてもよい。透明フェイスシールドは、第1の表面および反対の第2の表面
と、上部および下部と、サージカルヘルメットの突起に対して取り外し可能に係合するこ
とにより、サージカルヘルメットに対して第1の材料を位置合わせするように構成された
当該透明フェイスシールド中の第1の開口部とを備えていてもよい。サージカルガーメン
トは、第1の開口部の両側部上で透明フェイスシールドの下部に固定可能な第1の取り付
け要素および第2の取り付け要素をさらに備えていてもよい。第1の取り付け要素および
第2の取り付け要素はそれぞれ、当該第1の取り付け要素および当該第2の取り付け要素
を透明フェイスシールドに固定するように構成された保持機構を備えていてもよい。第1
の取り付け要素および第2の取り付け要素の少なくとも一方は、少なくとも部分的に強磁
性材料を含んでいてもよく、第1の取り付け要素および第2の取り付け要素の少なくとも
一方は、微生物バリアの着用者側に凹部を規定し、それぞれ、サージカルヘルメットの磁
性結合部材のうちの1つに対して取り外し可能に係合するように構成されている。
【0007】
さらに別の例示的な構成において、サージカルアパレルシステムは、医療環境と着用者
との間に微生物バリアを設けるように構成されたサージカルガーメントを備えていてもよ
い。サージカルガーメントは、少なくとも2つの磁性結合部材を含むサージカルヘルメッ
トの上方に配設されるように構成されていてもよい。サージカルガーメントは、サージカ
ルヘルメットの上方に少なくとも一部が配設されるように構成された第1の材料を備えて
いてもよい。第1の材料は、開口を備えていてもよい。サージカルガーメントは、第1の
材料の開口内に配設された透明フェイスシールドをさらに備えていてもよい。透明フェイ
スシールドは、第1の表面および反対の第2の表面と、上部および下部と、前記第1の材
料の着用者側に配設され、サージカルヘルメットに対して取り外し可能に係合する第1の
結合器とを備えていてもよい。また、サージカルガーメントは、第1の取り付け要素およ
び第2の取り付け要素を備えていてもよい。第1の取り付け要素および第2の取り付け要
素は、透明フェイスシールドの下部に固定されていてもよい。また、第1の取り付け要素
および第2の取り付け要素はそれぞれ、当該第1の取り付け要素および当該第2の取り付
け要素を透明フェイスシールドに固定するように構成された保持機構を備えていてもよい
。第1の取り付け要素および第2の取り付け要素の少なくとも一方は、強磁性材料を含む
とともに、前記微生物バリアの前記着用者側に凹部を規定していてもよい。凹部は、サー
ジカルヘルメットの磁性結合部材に対して取り外し可能に係合するように構成されていて
もよい。
【0008】
さらに別の例示的な構成において、サージカルアパレルシステムは、医療環境と着用者
との間に微生物バリアを設けるように構成されたサージカルガーメントを備えていてもよ
い。サージカルガーメントは、少なくとも2つの磁性結合部材を含むサージカルヘルメッ
トの上方に配設されるように構成されていてもよい。サージカルガーメントは、サージカ
ルヘルメットの上方に少なくとも一部が配設されるように構成された第1の材料を備えて
いてもよい。第1の材料は、開口を備えていてもよい。サージカルガーメントは、第1の
材料の開口内に配設された透明フェイスシールドをさらに備えていてもよい。透明フェイ
スシールドは、上部および下部を備えていてもよい。サージカルガーメントは、前記第1
の材料の着用者側に配設され、サージカルヘルメットに対して取り外し可能に係合するよ
うに構成された第1の結合器をさらに備えていてもよい。また、サージカルガーメントは
、第1の取り付け要素および/または第2の取り付け要素を備えていてもよい。第1の取
り付け要素および第2の取り付け要素は、透明フェイスシールドの下部に固定されていて
もよい。第1の取り付け要素および第2の取り付け要素はそれぞれ、遠位面および近位面
を含むヘッドを備えていてもよい。また、第1の取り付け要素および第2の取り付け要素
はそれぞれ、ヘッドの前記遠位面から延びたポストを備えていてもよい。ポストは、遠位
部と、ヘッドの遠位面に隣接するように構成された近位部とを備えていてもよい。近位部
が第1の寸法を有し、遠位部が第2の寸法を有し、第1の寸法が第2の寸法より大きくて
もよい。第1の取り付け要素および第2の取り付け要素それぞれのヘッドは、強磁性材料
をさらに含み、各ヘッドの前記近位面は、サージカルヘルメットの磁性結合部材のうちの
1つに対して取り外し可能に係合するように構成されていてもよい。
【0009】
さらに別の例示的な構成において、ヘルメットと併用されるように構成された保護用ア
パレルシステムは、環境と着用者との間にバリアを設けるようにしてもよい。ヘルメット
は、位置合わせチャネル内に少なくとも一部が配設された突起および下顎バーを含んでい
てもよい。下顎バーは、少なくとも2つの磁性結合部材を含んでいてもよい。保護用アパ
レルシステムは、ヘルメットの上方に少なくとも一部が配設されるように構成されたシェ
ルをさらに備えていてもよい。シェルは、ヘルメットの上方に少なくとも一部配設された
場合に、着用者の顔面の前方に位置決めされるように構成された開口を備えていてもよい
。また、保護用アパレルシステムは、シェルの開口内に配設された透明フェイスシールド
を備えていてもよい。透明フェイスシールドは、上部および下部を備えていてもよい。保
護用アパレルシステムは、ヘルメットの位置合わせチャネルにより、ヘルメットに対して
シェルを位置合わせする外側縁部を備えたシェルの着用者側のタブをさらに備えていても
よい。タブは、ヘルメットの突起に対して取り外し可能に係合することにより、ヘルメッ
トに対して前記シェルを位置合わせするように構成された第1の開口部を備えていてもよ
い。保護用アパレルシステムは、第1の開口部の両側部上で透明フェイスシールドの下部
に固定された第1の取り付け要素および第2の取り付け要素をさらに備えていてもよい。
第1の取り付け要素および第2の取り付け要素の少なくとも一方は、少なくとも部分的に
強磁性材料を含むとともに、前記バリアの前記着用者側に結合凹部を規定する。第1の取
り付け要素および第2の取り付け要素ならびに/または結合凹部は、ヘルメットの磁性結
合部材に対して取り外し可能に係合するように構成されている。
【0010】
さらに別の例示的な構成において、ヘルメットと併用されるように構成された保護用ア
パレルシステムは、環境と着用者との間にバリアを設けるようにしてもよい。ヘルメット
は、位置合わせチャネル内に少なくとも一部が配設された突起および下顎バーを含んでい
てもよい。下顎バーは、少なくとも2つの磁性結合部材を含んでいてもよい。保護用アパ
レルシステムは、ヘルメットの上方に少なくとも一部が配設されるように構成されたシェ
ルを備えていてもよい。シェルは、ヘルメットの上方に少なくとも一部配設された場合に
、着用者の顔面の前方に位置決めされるように構成された開口を備えていてもよい。保護
用アパレルシステムは、シェルの開口内に配設された透明フェイスシールドをさらに備え
ていてもよい。透明フェイスシールドは、第1の表面および反対の第2の表面と、上部お
よび下部とを備えていてもよい。保護用アパレルシステムは、ヘルメットの位置合わせチ
ャネルにより、ヘルメットに対してシェルを位置合わせする外側縁部を有する前記シェル
の着用者側のタブをさらに備えていてもよい。保護用アパレルシステムは、前記タブに少
なくとも一部が形成され、ヘルメットの突起に対して取り外し可能に係合することにより
、ヘルメットに対してシェルを位置合わせするように構成された第1の開口部をさらに備
えていてもよい。保護用アパレルシステムは、タブの前記第1の開口部の両側部上で前記
透明フェイスシールドの前記下部に固定された第1の取り付け要素および第2の取り付け
要素をさらに備えていてもよい。第1の取り付け要素および第2の取り付け要素はそれぞ
れ、透明フェイスシールドの第1の表面よりも第2の表面に近く位置決めされた保持機構
を備えていてもよい。第1の取り付け要素および第2の取り付け要素は、少なくとも部分
的に強磁性材料を含むとともに、前記バリアの前記着用者側に各結合凹部を規定していて
もよい。第1の取り付け要素および第2の取り付け要素ならびに/または結合凹部は、ヘ
ルメットの磁性結合部材に対して取り外し可能に係合するように構成されている。
(【0011】以降は省略されています)
この特許をJ-PlatPat(特許庁公式サイト)で参照する
関連特許
個人
帽子
6か月前
個人
フレーム
10か月前
個人
瞬間日陰
7か月前
個人
頭部装着具
7か月前
個人
雨除け帽子
11か月前
個人
頭部保護具
1か月前
個人
通気性帽子
11か月前
個人
かぶり物
10か月前
個人
熱中症対策帽子
6か月前
個人
肩車補助ヘルメット
19日前
株式会社TAT
冷却具
9か月前
株式会社K設計
サウナハット
10か月前
株式会社スペースシーファイブ
帽子
6か月前
個人
制振機能を有する疲労軽減ヘルメット
7か月前
有限会社トラッド
冷却装置付きヘルメット
5か月前
有限会社トップエンタープライズ
帽子
3か月前
東洋物産工業株式会社
分割ヘルメット
4か月前
株式会社トーヨーセーフティ
ヘルメット
2か月前
パイオニア株式会社
通信装置
2か月前
パイオニア株式会社
通信装置
2か月前
ミドリ安全株式会社
インナーキャップ
6か月前
ミドリ安全株式会社
帽体、ヘルメット
7か月前
株式会社イエロー
頭部保護具用内装材
6か月前
株式会社日曜発明ギャラリー
帽子等に用いる冷却構造
5か月前
ミドリ安全株式会社
保護帽
9か月前
個人
圧縮収納できるレインコートを付けたヘルメット
28日前
個人
スマートあご紐を有するヘルメット
3か月前
ミドリ安全株式会社
保護帽
8か月前
株式会社ダイセル
保護装置
3か月前
株式会社サンロード
帽子
11か月前
補装具工房スタンス株式会社
頭蓋形状誘導ヘルメット
6か月前
パイオニア株式会社
通信装置、ヘルメット
2か月前
株式会社谷沢製作所
ヘルメット
4か月前
株式会社谷沢製作所
ヘルメット
4か月前
株式会社オリエンタルミラクル
帯体および帯体の製造方法
6か月前
株式会社セフト研究所
スペーサ及びスペーサ付帽子
10か月前
続きを見る
他の特許を見る