TOP
|
特許
|
意匠
|
商標
特許ウォッチ
Twitter
他の特許を見る
10個以上の画像は省略されています。
公開番号
2025176027
公報種別
公開特許公報(A)
公開日
2025-12-03
出願番号
2025135081,2024501270
出願日
2025-08-14,2022-07-11
発明の名称
3D DRAMのためのひずみが小さいSi/SiGeヘテロエピタキシースタック
出願人
アプライド マテリアルズ インコーポレイテッド
,
APPLIED MATERIALS,INCORPORATED
代理人
園田・小林弁理士法人
主分類
H10B
12/00 20230101AFI20251126BHJP()
要約
【課題】リラクゼーションもしくはウエハの反りを小さくするか又は除去するSi/SiGe3次元メモリ構造およびその構造を形成する方法を提供する。
【解決手段】3次元ダイナミックランダムアクセスメモリ(3D DRAM)構造において、3D DRAMスタック100は、交互するシリコン(Si)層102およびシリコンゲルマニウム(SiGe)層104を含む。複数のSi層102の各々は、複数のSiGe層104の各々の高さより高い高さを有する。
【選択図】図1
特許請求の範囲
【請求項1】
交互するシリコン(Si)層およびシリコンゲルマニウム(SiGe)層のスタックであって、個々のSi層の高さが個々のSiGe層の高さより高い、スタック
を備える3次元ダイナミックランダムアクセスメモリ(3D DRAM)の製造に係る構造。
続きを表示(約 1,400 文字)
【請求項2】
少なくとも1つのSi層が少なくとも1つの他のSi層の高さより低い高さを有する、請求項1に記載の3D DRAMの製造に係る構造。
【請求項3】
交互する層の前記スタックの底部に配置されたドープ分離層
をさらに備える、請求項1に記載の3D DRAMの製造に係る構造。
【請求項4】
少なくとも1つのSiGe層が、ホウ素、炭素、窒素、酸素またはリンのうちの少なくとも1つを含む少なくとも1つのドーパントを含むドープSiGe層である、請求項1から3のいずれか一項に記載の3D DRAMの製造に係る構造。
【請求項5】
前記ドープSiGe層の両側に配置されたドープSi層をさらに備え、前記ドープSi層が前記ドープSiGe層の高さより低い高さを有する、請求項4に記載の3D DRAMの製造に係る構造。
【請求項6】
前記SiGe層が、ホウ素、炭素、窒素、酸素またはリンのうちの少なくとも1つを含む少なくとも1つのドーパントを含むドープSiGe層であり、交互するSi層がドープSi層であり、個々のSi層の高さが個々のドープSi層の高さより高い、請求項1から3のいずれか一項に記載の3D DRAMの製造に係る構造。
【請求項7】
少なくとも1つの対のSiGe層が、ホウ素、炭素、窒素、酸素またはリンのうちの少なくとも1つを含む少なくとも1つのドーパントを含み、前記少なくとも1つの対のSiGe層の個々の対のSiGe層の間に配置された中心SiGe層をさらに備え、前記中心SiGe層がドープされ、前記少なくとも1つの対のSiGe層のドーパント濃度より高いドーパント濃度を有する、請求項1から3のいずれか一項に記載の3D DRAM構造。
【請求項8】
3次元ダイナミックランダムアクセスメモリ(3D DRAM)構造を形成する方法であって、
交互するシリコン(Si)層およびシリコンゲルマニウム(SiGe)層のスタックを形成することであって、前記Si層の高さが前記SiGe層の高さより高い、スタックを形成することと、
前記スタックの中に垂直スリットまたは孔を異方性エッチングすることと、
複数の前記SiGe層のうちの少なくとも1つを等方性エッチングして、第1の水平方向の凹みを形成することであって、前記Si層の部分の間で前記SiGe層が実質的に完全に除去される、少なくとも1つのSiGe層を等方性エッチングすることと、
前記少なくとも1つのエッチングされたSiGe層に隣接する前記Si層の前記部分に第2の水平方向の凹みを等方性エッチングして、前記Si層の薄い部分を形成することであって、前記第1の水平方向の凹みおよび前記第2の水平方向の凹みが一緒に、隣接するSi層間に空洞を形成する、第2の水平方向の凹みを等方性エッチングすることと
を含む、方法。
【請求項9】
前記スタックを形成することが、交互するSi層を他のSi層の高さより低い高さで形成することをさらに含む、請求項8に記載の方法。
【請求項10】
前記スタックを形成することが、交互する層の前記スタックの底部に配置されたドープ分離層を形成することをさらに含む、請求項8に記載の方法。
(【請求項11】以降は省略されています)
発明の詳細な説明
【技術分野】
【0001】
本原理の実施形態は、一般に半導体製造に関する。
続きを表示(約 1,800 文字)
【背景技術】
【0002】
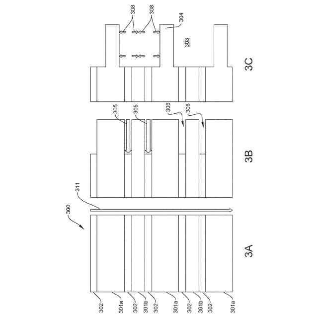
データのストレージおよび検索は、コンピューティング産業の多くの態様にとって制限要因であった。メモリデバイスは、現代のコンピューティングデバイスの全体性能を容易に低下させ得る。メモリをより高速にするために、メモリ構造は非常に小さいサイズにスケールダウンされ、メモリ構造の密度が劇的に高くなっている。3次元ダイナミックランダムアクセスメモリ(3D DRAM)などの3次元メモリ構造を使用して、メモリ密度をさらに高くすることができる。いくつかの3次元メモリ構造では、SiおよびSiGeの交互層が結晶シリコン基板からエピタキシャル成長される。しかしながら図1に示されているように、典型的な3D DRAMスタック100では、Si層102の高さは実質的にSiGe層104の高さに等しい。いくつかのメモリアプリケーションの場合、凹み領域の最終間隙幅は最終シリコンチャネル幅と同様の寸法、さらには最終シリコンチャネル幅より広くしなければならない。しかしながら本発明者らは、SiとGeとの間の格子の不整合から誘導されるひずみが存在することを観察した。薄い層の場合、誘導されるひずみは問題ではない。しかしながら厚い層の場合、誘導されるひずみは十分に大きく、「リラクゼーション」として知られている、単結晶構造における欠陥の原因になり得る。
【0003】
したがって本発明者らは、リラクゼーションもしくはウエハの反りを小さくするか、または除去するSi/SiGe3次元メモリ構造およびその構造を作る方法を提供した。
【発明の概要】
【0004】
本明細書においては、3次元ダイナミックランダムアクセスメモリ(3D DRAM)構造ならびにこのような構造を形成するための方法および装置が提供される。
【0005】
本明細書においては、「層」は、材料の単結晶層、ならびに組み合わせで単結晶層を形成する同じ材料の複数の結晶層を意味し、それらを指す。
【0006】
いくつかの実施形態では、3D DRAM構造は、交互するシリコン(Si)層とシリコンゲルマニウム(SiGe)層のスタックを含み、個々のSi層の高さは個々のSiGe層の高さより高い。
【0007】
いくつかの実施形態では、3D DRAM構造は、交互するSi層およびSiGe層のスタックを含み、個々のSi層の高さは個々のSiGe層の高さより高く、少なくとも1つのSi層は、少なくとも1つの他のSi層の高さより低い高さを有している。
【0008】
いくつかの実施形態では、3D DRAM構造は、交互するSi層およびSiGe層のスタックを含み、個々のSi層の高さは個々のSiGe層の高さより高く、少なくとも1つのSiGe層は少なくとも1つのドーパントを含み、少なくとも1つのドーパントは、ホウ素、炭素、窒素、酸素およびリンのうちの少なくとも1つである。
【0009】
いくつかの実施形態では、3D DRAM構造は、交互する非ドープSi層、ドープSi層およびドープSiGe層のスタックを含み、それぞれのドープSi層はドープSiGe層に直に隣接して、ドープSiGe層の互いに反対側に配置され、個々の非ドープSi層の高さは個々のドープSi層の高さより高く、個々のドープSiGe層の高さより高く、ドープSi層およびドープSiGe層は少なくとも1つのドーパントを含み、少なくとも1つのドーパントは、ホウ素、炭素、窒素、酸素およびリンのうちの少なくとも1つである。
【0010】
いくつかの実施形態では、3D DRAM構造は、交互する非ドープSi層、ドープSi層およびドープSiGe層のスタックを含み、それぞれのドープSiGe層はドープSi層に直に隣接して、ドープSi層の互いに反対側に配置され、個々の非ドープSi層の高さは個々のドープSi層の高さより高く、個々のドープSiGe層の高さより高く、ドープSi層およびドープSiGe層は少なくとも1つのドーパントを含み、少なくとも1つのドーパントは、ホウ素、炭素、窒素、酸素およびリンのうちの少なくとも1つである。
(【0011】以降は省略されています)
この特許をJ-PlatPat(特許庁公式サイト)で参照する
関連特許
個人
積和演算用集積回路
28日前
サンケン電気株式会社
半導体装置
27日前
エイブリック株式会社
縦型ホール素子
1か月前
旭化成株式会社
発光素子
1か月前
日機装株式会社
半導体発光装置
22日前
エイブリック株式会社
縦型ホール素子
1か月前
ローム株式会社
半導体装置
6日前
ローム株式会社
抵抗チップ
1か月前
富士電機株式会社
半導体装置
1か月前
三菱電機株式会社
半導体装置
1か月前
株式会社半導体エネルギー研究所
表示装置
6日前
株式会社半導体エネルギー研究所
表示装置
1か月前
三菱電機株式会社
半導体装置
1日前
三菱電機株式会社
半導体装置
14日前
株式会社東芝
半導体装置
14日前
日亜化学工業株式会社
発光装置
1か月前
日亜化学工業株式会社
発光装置
1か月前
ローム株式会社
半導体集積回路
1か月前
ローム株式会社
半導体装置
1か月前
ローム株式会社
窒化物半導体装置
1か月前
ローム株式会社
窒化物半導体装置
1か月前
株式会社半導体エネルギー研究所
発光デバイス
22日前
ローム株式会社
半導体装置
1か月前
サンケン電気株式会社
半導体装置
14日前
ローム株式会社
半導体装置
27日前
富士電機株式会社
半導体装置の製造方法
1か月前
株式会社半導体エネルギー研究所
発光デバイス
1か月前
株式会社カネカ
太陽電池モジュール
1か月前
大日本印刷株式会社
太陽電池
1か月前
日亜化学工業株式会社
発光素子
27日前
サンケン電気株式会社
発光装置
1か月前
株式会社MARUWA
発光装置及び照明器具
1か月前
日本ゼオン株式会社
構造体
29日前
日亜化学工業株式会社
発光素子
27日前
ローム株式会社
半導体装置
14日前
今泉工業株式会社
光発電装置及びその製造方法
1か月前
続きを見る
他の特許を見る