TOP
|
特許
|
意匠
|
商標
特許ウォッチ
Twitter
他の特許を見る
10個以上の画像は省略されています。
公開番号
2025175811
公報種別
公開特許公報(A)
公開日
2025-12-03
出願番号
2024082088
出願日
2024-05-20
発明の名称
広角カメラ装置及び測量システム
出願人
株式会社トプコン
代理人
個人
主分類
G03B
37/00 20210101AFI20251126BHJP(写真;映画;光波以外の波を使用する類似技術;電子写真;ホログラフイ)
要約
【課題】広画角で且つ画像周辺部での歪み、解像度の低下が少ない広角カメラ装置、及び3次元点群データ付画像の取得を可能にする測量システムを提供する。
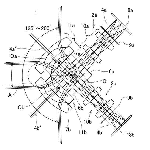
【解決手段】対物レンズとしての撮像レンズ後群10a,10bと、結像レンズとしての撮像レンズ前群11a,11bと、前記撮像レンズ後群と前記撮像レンズ前群とを光学的に連結するプリズム6a,6bと、前記撮像レンズ後群により結像される像を受光するイメージセンサ8a,8bとを有するカメラ2a,2bを複数具備し、前記プリズム同士を接合又は密着させ、複数のカメラを一体化し、隣接する前記カメラの画角が部分的にオーバラップする様構成され、各カメラの入射瞳位置Oa,Obが前記撮像レンズ前群と前記プリズム間に形成され、光軸が交差する点がカメラ原点Oとなる様構成された。
【選択図】図1
特許請求の範囲
【請求項1】
対物レンズとしての撮像レンズ後群と、結像レンズとしての撮像レンズ前群と、前記撮像レンズ後群と前記撮像レンズ前群とを光学的に連結するプリズムと、前記撮像レンズ後群により結像される像を受光するイメージセンサとを有するカメラを複数具備し、前記プリズム同士を接合又は密着させ、複数のカメラを一体化し、隣接する前記カメラの画角が部分的にオーバラップする様構成され、各カメラの入射瞳位置が前記撮像レンズ前群と前記プリズム間に形成され、光軸が交差する点がカメラ原点となる様構成された広角カメラ装置。
続きを表示(約 1,300 文字)
【請求項2】
前記広角カメラ装置が2つのカメラを具備し、前記プリズムが反射面を有し、該反射面によってカメラの光軸が偏向され、偏向された一方の光軸に前記撮像レンズ後群が設けられ、他方の光軸に前記撮像レンズ前群が設けられ、2つのカメラの前記プリズムが前記反射面で接合又は密着され一体化された請求項1に記載の広角カメラ装置。
【請求項3】
前記広角カメラ装置が同一平面内に配設される3つのカメラを具備し、中央に配設されるカメラの中央のプリズムは6面で形成される立体形状であり、該中央のカメラの光軸は前記プリズムを直進し、他の2つのカメラのプリズムはそれぞれカメラの光軸を偏向する反射面を有し、前記中央のプリズムの対峙する2面に前記2つのカメラのプリズムの前記反射面がそれぞれ接合又は密着され、3つのカメラが一体化された請求項1に記載の広角カメラ装置。
【請求項4】
前記広角カメラ装置が同一平面内に放射状に所定角度間隔で配設される複数のカメラを具備し、各カメラのプリズムは平面形状が台形であり、隣接する前記プリズムが順次接合又は密着されることで複数のカメラが一体化された請求項1に記載の広角カメラ装置。
【請求項5】
前記プリズムが反射面を有し、該反射面が前記カメラの光軸を前記同一平面に対して垂直な方向に偏向する請求項4に記載の広角カメラ装置。
【請求項6】
前記反射面による光軸の偏向方向が、隣接するカメラ間で逆方向となる様構成された請求項5に記載の広角カメラ装置。
【請求項7】
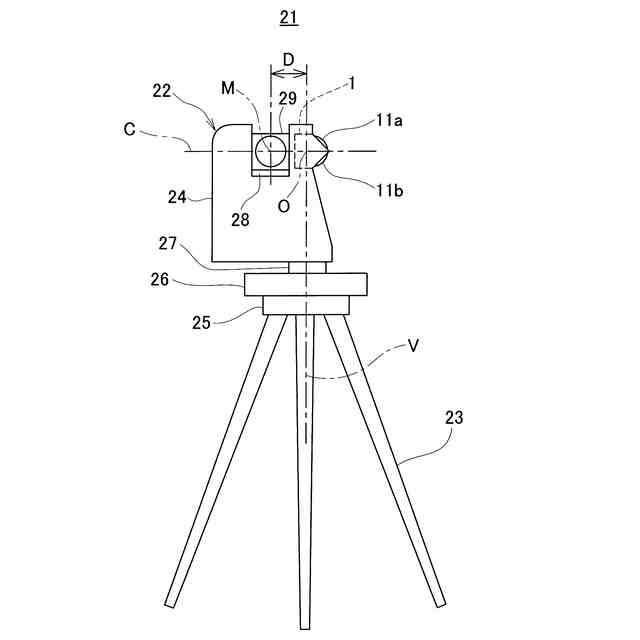
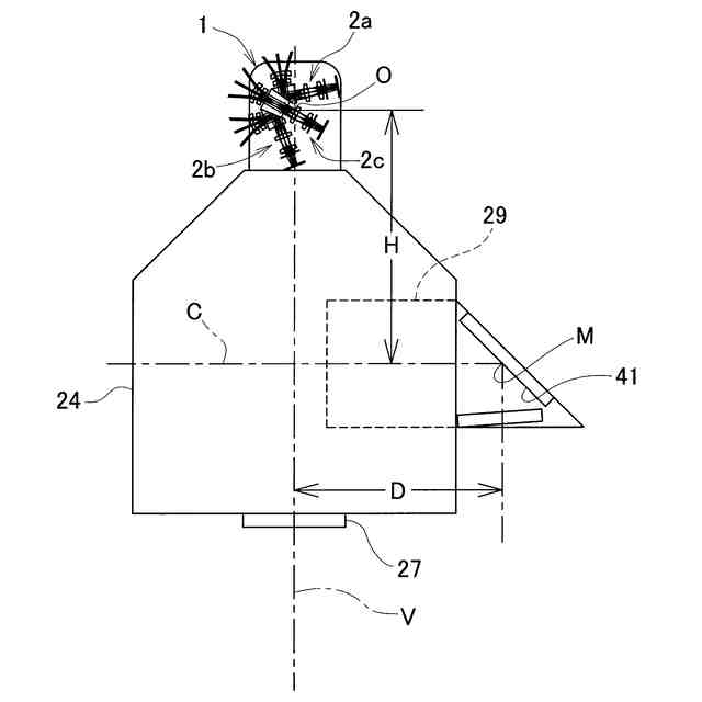
請求項1乃至請求項6のいずれかの広角カメラ装置と、三脚上に設けられた測量装置とを有する測量システムであって、前記広角カメラ装置は前記測量装置に一体的に設けられ、前記測量装置は機械中心を有し、前記広角カメラ装置はカメラ原点を有し、前記測量装置は、前記カメラ原点を通過する中心線を中心に前記測量装置が回転可能に構成され、前記機械中心と前記カメラ原点間のオフセット距離が既知である測量システム。
【請求項8】
前記測量装置は測距光を発し、測定対象物からの反射測距光を受光する測距部と、前記測距光を照射する回転部と、該回転部を鉛直方向に回転させる鉛直回転駆動部と、前記回転部が設けられる測量装置本体と、該測量装置本体を水平方向に回転させる水平回転駆動部と、前記測距光の照射方向を検出する測角部と、前記鉛直回転駆動部と前記水平回転駆動部の駆動を制御し、前記反射測距光の受光結果と前記測角部の検出結果に基づき3次元の点群データを演算する演算制御部とを有し、該演算制御部は、前記点群データを前記オフセット距離に基づき前記カメラ原点基準の点群データに換算し、換算した前記点群データと前記広角カメラ装置が取得した広角画像とを合成する様に構成された請求項7に記載の測量システム。
【請求項9】
前記広角カメラ装置は、前記測量装置の側面に設けられた請求項7に記載の測量システム。
【請求項10】
前記広角カメラ装置は、前記測量装置の上面に設けられた請求項7に記載の測量システム。
発明の詳細な説明
【技術分野】
【0001】
本発明は、広画角で画像を取得する広角カメラ装置、及びレーザスキャナにより点群データを取得し、点群データと画像とを合成して3次元座標付きの画像を取得する測量システムに関するものである。
続きを表示(約 1,300 文字)
【背景技術】
【0002】
測定対象物の形状や3次元点群データを取得する為の測量装置として、例えば、レーザスキャナがある。
【0003】
レーザスキャナは広範囲の点群データの取得が可能であり、レーザスキャナにより3次元点群データを取得することで、広範囲に亘る測定対象の3次元の立体形状の測定が可能である。更に、測定対象の画像を取得し、測定対象の画像と点群データとを合成し、3次元データ付きの画像とすることで、測定結果の把握、視認性が向上する。
【0004】
レーザスキャナの測定範囲をカバーする画像を取得する為のカメラとして、広画角カメラが使用される。通常、広画角カメラは、広画角のレンズ、例えば魚眼レンズを有し、広範囲、例えば、180°或は180°を超える画角で画像を取得する。一方、広画角レンズで得られる画像は、周辺部で歪みが大きくなり、又、周辺部で解像度が低下する。
【0005】
この為、点群データと合成した場合、周辺部で画像の画素と点群の測定点とのズレが大きくなり、画像付き点群データの色付け精度や解像度が低下する。
【先行技術文献】
【特許文献】
【0006】
特表2023-509137号公報
【発明の概要】
【発明が解決しようとする課題】
【0007】
本発明は、広画角で且つ画像周辺部での歪み、解像度の低下が少ない広角カメラ装置、及び3次元点群データ付画像の取得を可能にする測量システムを提供する。
【課題を解決するための手段】
【0008】
本発明は、対物レンズとしての撮像レンズ後群と、結像レンズとしての撮像レンズ前群と、前記撮像レンズ後群と前記撮像レンズ前群とを光学的に連結するプリズムと、前記撮像レンズ後群により結像される像を受光するイメージセンサとを有するカメラを複数具備し、前記プリズム同士を接合又は密着させ、複数のカメラを一体化し、隣接する前記カメラの画角が部分的にオーバラップする様構成され、各カメラの入射瞳位置が前記撮像レンズ前群と前記プリズム間に形成され、光軸が交差する点がカメラ原点となる様構成された広角カメラ装置に係るものである。
【0009】
又本発明は、前記広角カメラ装置が2つのカメラを具備し、前記プリズムが反射面を有し、該反射面によってカメラの光軸が偏向され、偏向された一方の光軸に前記撮像レンズ後群が設けられ、他方の光軸に前記撮像レンズ前群が設けられ、2つのカメラの前記プリズムが前記反射面で接合又は密着され一体化された広角カメラ装置に係るものである。
【0010】
又本発明は、前記広角カメラ装置が同一平面内に配設される3つのカメラを具備し、中央に配設されるカメラの中央のプリズムは6面で形成される立体形状であり、該中央のカメラの光軸は前記プリズムを直進し、他の2つのカメラのプリズムはそれぞれカメラの光軸を偏向する反射面を有し、前記中央のプリズムの対峙する2面に前記2つのカメラのプリズムの前記反射面がそれぞれ接合又は密着され、3つのカメラが一体化された広角カメラ装置に係るものである。
(【0011】以降は省略されています)
この特許をJ-PlatPat(特許庁公式サイト)で参照する
関連特許
日本精機株式会社
プロジェクタ
3日前
キヤノン株式会社
撮像装置
10日前
株式会社リコー
画像形成装置
24日前
キヤノン株式会社
画像形成装置
18日前
レーザーテック株式会社
光源装置
5日前
レーザーテック株式会社
光源装置
26日前
沖電気工業株式会社
画像形成装置
5日前
シャープ株式会社
捺染トナー
3日前
キヤノン株式会社
画像形成装置
24日前
キヤノン株式会社
画像形成装置
13日前
キヤノン株式会社
画像形成装置
24日前
キヤノン株式会社
画像形成装置
24日前
キヤノン株式会社
二成分現像剤
10日前
キヤノン株式会社
画像形成装置
13日前
キヤノン株式会社
撮像装置
12日前
沖電気工業株式会社
画像形成装置
11日前
株式会社リコー
定着装置及び画像形成装置
10日前
株式会社リコー
光源装置および画像表示装置
4日前
キヤノン株式会社
撮像装置、撮像装置システム
18日前
キヤノン株式会社
トナー用微粉末及びトナー
26日前
ブラザー工業株式会社
画像形成装置
1か月前
キヤノン株式会社
トナー
1か月前
キヤノン株式会社
トナー用外添剤及びトナー
1か月前
シャープ株式会社
画像形成装置
12日前
株式会社トプコン
広角カメラ装置及び測量システム
5日前
株式会社リコー
加熱搬送装置、及び、画像形成装置
1か月前
キヤノン株式会社
定着装置
24日前
キヤノン株式会社
定着装置
24日前
花王株式会社
静電荷像現像用トナーの製造方法
5日前
キヤノン株式会社
定着装置
24日前
キヤノン株式会社
画像形成装置
19日前
キヤノン株式会社
雲台装置
1か月前
キヤノン株式会社
定着装置
18日前
セイコーエプソン株式会社
画像記録装置
11日前
キヤノン株式会社
画像形成装置
19日前
キヤノン株式会社
画像形成装置
19日前
続きを見る
他の特許を見る