TOP
|
特許
|
意匠
|
商標
特許ウォッチ
Twitter
他の特許を見る
10個以上の画像は省略されています。
公開番号
2025175179
公報種別
公開特許公報(A)
公開日
2025-11-28
出願番号
2025159207,2022001088
出願日
2025-09-25,2022-01-06
発明の名称
収穫機
出願人
株式会社クボタ
代理人
弁理士法人R&C
主分類
A01D
41/12 20060101AFI20251120BHJP(農業;林業;畜産;狩猟;捕獲;漁業)
要約
【課題】ラジエータのメンテナンスを容易に行うことが可能な収穫機が要望されている。
【解決手段】冷却ファンに対して機体左右方向の外側に配置される冷却装置(21、22、23)と、冷却装置(21、22、23)に接続され、冷却装置(21、22、23)に冷却対象を導入する管状の導入部材(29A、31A、33A)と、冷却装置に接続され、冷却装置から冷却対象を導出する管状の導出部材(29B、31B、33B)と、が備えられ、冷却装置(21、22、23)は、揺動軸心周りにおいて、使用時の姿勢となる閉位置と、機体左右方向の外側に開いた姿勢となる開位置とに亘って揺動開閉可能に構成され、冷却装置(21、22、23)と導入部材(29A、31A、33A)との接続箇所、及び、冷却装置(21、22、23)と導出部材(29B、31B、33B)との接続箇所は、冷却装置(21、22、23)において揺動軸心側に位置する。
【選択図】図3
特許請求の範囲
【請求項1】
水冷式のエンジンと、
前記エンジンに対して機体左右方向の外側に配置され、冷却風を供給する冷却ファンと、
前記冷却ファンに対して機体左右方向の外側に配置される冷却装置と、
前記冷却装置に接続され、前記冷却装置に冷却対象を導入する管状の導入部材と、
前記冷却装置に接続され、前記冷却装置から冷却対象を導出する管状の導出部材と、が備えられ、
前記冷却装置は、揺動軸心周りにおいて、使用時の姿勢となる閉位置と、機体左右方向の外側に開いた姿勢となる開位置とに亘って揺動開閉可能に構成され、
前記冷却装置と前記導入部材との接続箇所、及び、前記冷却装置と前記導出部材との接続箇所は、前記冷却装置において前記揺動軸心側に位置する収穫機。
続きを表示(約 1,200 文字)
【請求項2】
前記導入部材及び前記導出部材は、前記冷却装置に対して前記揺動軸心が位置する側において、前記揺動軸心に沿って延びている請求項1に記載の収穫機。
【請求項3】
前記揺動軸心は、上下に沿って延びる軸心である請求項1又は2に記載の収穫機。
【請求項4】
前記エンジンに対して機体左右方向の外側に配置され、前記エンジン用の冷却水を冷却するラジエータが備えられている請求項1から3のいずれか一項に記載の収穫機。
【請求項5】
前記冷却装置を支持する支持フレームが備えられ、
前記支持フレームは、前記揺動軸心周りにおいて、前記開位置と前記閉位置に亘って揺動開閉可能に構成されている請求項1から4のいずれか一項に記載の収穫機。
【請求項6】
前記支持フレームは、前記閉位置に位置する状態において、着脱可能な固定具によって固定され、
前記固定具が取り付けられることにより、前記支持フレームを前記開位置に位置保持する保持部を備えている請求項5に記載の収穫機。
【請求項7】
前記冷却装置は、前記冷却ファンに対して機体左右方向の外側に配置される第一冷却装置と第二冷却装置とを含み、
前記第一冷却装置は、前記第一冷却装置の前記揺動軸心である第一揺動軸心周りにおいて、前側に揺動して前記開位置である第一開位置に位置変更可能なように構成され、前記第二冷却装置は、前記第二冷却装置の前記揺動軸心である第二揺動軸心周りにおいて、後側に揺動して前記開位置である第二開位置に位置変更可能なように構成されている請求項1から6のいずれか一項に記載の収穫機。
【請求項8】
前記第一揺動軸心及び前記第二揺動軸心は、機体前後方向で互いに異なる位置に配置されている請求項7に記載の収穫機。
【請求項9】
前記導入部材は、前記第一冷却装置に冷却対象を導入する第一導入部材と、前記第二冷却装置に冷却対象を導入する第二導入部材と、を含み、
前記導出部材は、前記第一冷却装置から冷却対象を導出する第一導出部材と、前記第二冷却装置から冷却対象を導出する第二導出部材と、を含み、
前記第一冷却装置と前記第一導入部材との接続箇所、及び、前記第一冷却装置と前記第一導出部材との接続箇所は、前記第一冷却装置に対して前記第一揺動軸心側に位置する請求項7又は8に記載の収穫機。
【請求項10】
前記第一導入部材及び前記第一導出部材は、前記第一冷却装置に対して前記第一揺動軸心が位置する側において、前記第一揺動軸心に沿って延び、前記第二導入部材及び前記第二導出部材は、前記第二冷却装置に対して前記第二揺動軸心が位置する側において、前記第二揺動軸心に沿って延びている請求項9に記載の収穫機。
(【請求項11】以降は省略されています)
発明の詳細な説明
【技術分野】
【0001】
本発明は、収穫機に関する。
続きを表示(約 1,700 文字)
【背景技術】
【0002】
従来、収穫機として、例えば、特許文献1に記載の収穫機が知られている。特許文献1に記載の収穫機は、水冷式のエンジン(文献では「エンジン〔16〕」)と、エンジンに対して機体左右方向の外側に配置され、エンジン用の冷却水を冷却するラジエータ(文献では「ラジエータ〔17〕」)と、機体左右方向でエンジンとラジエータとの間に配置され、ラジエータに冷却風を供給する冷却ファン(文献では「冷却ファン〔18〕」)と、ラジエータに対して機体左右方向の外側に配置される第一冷却装置(文献では「オイルクーラ〔60〕」)と、ラジエータに対して機体左右方向の外側に配置される第二冷却装置(文献では「インタークーラ〔80〕」)と、を備えている。
【先行技術文献】
【特許文献】
【0003】
特開2021-65150号公報
【発明の概要】
【発明が解決しようとする課題】
【0004】
特許文献1に記載の収穫機では、ラジエータのメンテナンスを行う際に、第一冷却装置や第二冷却装置を取り外さなければならず、ラジエータのメンテナンスを容易に行う点で改善の余地がある。
【0005】
上記状況に鑑み、ラジエータのメンテナンスを容易に行うことが可能な収穫機が要望されている。
【課題を解決するための手段】
【0006】
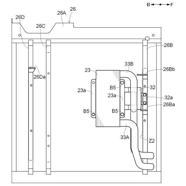
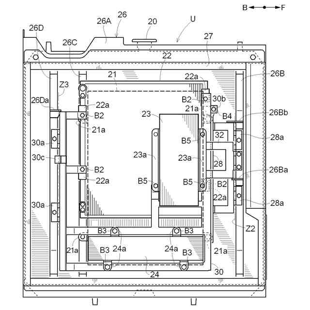
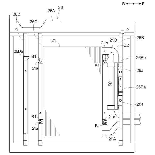
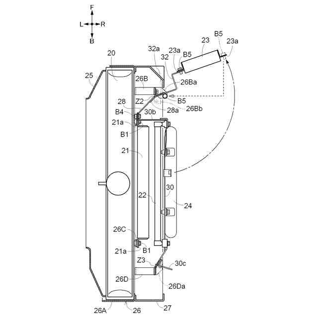
本発明の特徴は、水冷式のエンジンと、前記エンジンに対して機体左右方向の外側に配置され、前記エンジン用の冷却水を冷却するラジエータと、機体左右方向で前記エンジンと前記ラジエータとの間に配置され、前記ラジエータに冷却風を供給する冷却ファンと、前記ラジエータに対して機体左右方向の外側に配置される第一冷却装置と、前記ラジエータに対して機体左右方向の外側に配置される第二冷却装置と、を備えている収穫機であって、前記第一冷却装置を支持する第一支持フレームと、前記第二冷却装置を支持する第二支持フレームと、を備え、前記第一支持フレームは、第一揺動軸心周りにおいて、前記第一冷却装置が使用時の姿勢となる第一閉位置と、前記第一冷却装置が機体左右方向の外側に開いた姿勢となる第一開位置とに亘って揺動開閉可能に構成され、前記第二支持フレームは、第二揺動軸心周りにおいて、前記第二冷却装置が使用時の姿勢となる第二閉位置と、前記第二冷却装置が機体左右方向の外側に開いた姿勢となる第二開位置とに亘って揺動開閉可能に構成されていることにある。
【0007】
本特徴構成によれば、第一支持フレームを第一揺動軸心周りで揺動させて第一開位置に位置変更し、第二支持フレームを第二揺動軸心周りで揺動させて第二開位置に位置変更すると、ラジエータのうち機体左右方向の外側の側面(横外側面)が開放されることになる。これにより、ラジエータのメンテナンスを行う際に、ラジエータの横外側面に対して機体左右方向の外側から容易にアクセスすることができる。すなわち、ラジエータのメンテナンスを容易に行うことが可能な収穫機を実現することができる。
【0008】
また、第一冷却装置の裏面及び第二冷却装置の裏面もそれぞれ開放されることになる。
これにより、第一冷却装置及び第二冷却装置のメンテナンスを容易に行うことができる。
【0009】
さらに、本発明において、前記第一冷却装置及び前記第二冷却装置は、前記第二冷却装置が前記第一冷却装置に対して機体左右方向の外側に位置し、かつ、側面視で互いに重複する状態で配置され、前記第二支持フレームを前記第二開位置に位置変更することにより、前記第一支持フレームを前記第一開位置に位置変更可能なように構成されていると好適である。
【0010】
本特徴構成によれば、第一冷却装置及び第二冷却装置をコンパクトに配置することができる。そして、第二支持フレームを第二開位置に位置変更することにより、第二冷却装置が第一冷却装置と干渉することなく、第一支持フレームを第一開位置に位置変更することができる。
(【0011】以降は省略されています)
この特許をJ-PlatPat(特許庁公式サイト)で参照する
関連特許
株式会社クボタ
作業車
1か月前
株式会社クボタ
作業機
13日前
株式会社クボタ
作業車
1か月前
株式会社クボタ
作業機
27日前
株式会社クボタ
作業車
1か月前
株式会社クボタ
作業車
1か月前
株式会社クボタ
作業車
21日前
株式会社クボタ
作業車
19日前
株式会社クボタ
作業車
19日前
株式会社クボタ
作業車
1か月前
株式会社クボタ
作業車
5日前
株式会社クボタ
作業車両
1か月前
株式会社クボタ
作業車両
1か月前
株式会社クボタ
作業車両
28日前
株式会社クボタ
農業機械
5日前
株式会社クボタ
作業車両
19日前
株式会社クボタ
作業車両
1か月前
株式会社クボタ
作業車両
19日前
株式会社クボタ
多目的車両
1か月前
株式会社クボタ
多目的車両
26日前
株式会社クボタ
電動作業車
1か月前
株式会社クボタ
竪型の反応炉
13日前
株式会社クボタ
車両用シート
26日前
株式会社クボタ
農作物測定装置
1か月前
株式会社クボタ
作業車及び座席
26日前
株式会社クボタ
作業支援システム
6日前
株式会社クボタ
鋳造用砂型の製造方法
13日前
株式会社クボタ
ヘッドレスト及び作業車
5日前
株式会社クボタ
有機性廃棄物の処理方法
5日前
株式会社クボタ
作業車両、作業支援システム
6日前
株式会社クボタ
鋳鋼品および鋳鋼品の製造方法
19日前
株式会社クボタ
浄水処理方法および原水評価方法
5日前
株式会社クボタ
作業支援装置、作業支援システム
6日前
株式会社クボタ
表示装置及び表示装置を備えた車両
1か月前
株式会社クボタ
電動作業車両のバッテリ管理システム
19日前
株式会社クボタケミックス
揚水装置、揚水装置を用いた施工方法
1か月前
続きを見る
他の特許を見る