TOP
|
特許
|
意匠
|
商標
特許ウォッチ
Twitter
他の特許を見る
10個以上の画像は省略されています。
公開番号
2025175158
公報種別
公開特許公報(A)
公開日
2025-11-28
出願番号
2025158492,2022013150
出願日
2025-09-24,2022-01-31
発明の名称
スタイラスペン
出願人
三菱鉛筆株式会社
代理人
弁理士法人太陽国際特許事務所
主分類
G06F
3/03 20060101AFI20251120BHJP(計算;計数)
要約
【課題】静電結合方式及び電磁結合方式の入力端末に対し、1つの入力先端で対応可能なスタイラスペンを提供する。
【解決手段】入力端末とともに使用されるスタイラスペンであって、信号を発するパルス電極と、前記パルス電極の外側に設けられるとともに前記パルス電極とは絶縁された接地電極と、外周にコイルが巻き回された円筒形のフェライトコアと、前記コイル及びコンデンサが接続されたLC回路と、を有し、前記パルス電極は前記フェライトコアの内側を貫通する。
【選択図】図2
特許請求の範囲
【請求項1】
本願明細書に記載の発明。
発明の詳細な説明
【技術分野】
【0001】
本発明は、入力端末への入力操作に用いられるスタイラスペンに関する。
続きを表示(約 1,800 文字)
【背景技術】
【0002】
位置検出センサを備えた入力端末への入力操作に用いられるスタイラスペンには、従来種々の方式が提案されている。たとえば、特許文献1には、静電放射方式の信号ペンが開示されている。また、特許文献2には、静電容量方式のスタイラスが開示されている。
【0003】
特許文献3には、入力面との接触点を示す第1の電界発生部と、入力面に対する本体の角度を示す第2の電界発生部と、入力面に印加された力を判定する力センサとを備えるスタイラスが開示されている。また、特許文献4には、第1の電極と第2の電極とを備え、位置検出センサからの交流信号を第1の電極を介して検出したときのみに、第2の電極を介して信号を送信する位置指示器が開示されている。さらに、特許文献5には、1対の電極を用いて、接触検知とペンの角度検知とを時分割で切り替えるスタイラスが開示されている。
【0004】
特許文献6には、第1の受信部及び第1の送信部並びに第2の受信部及び第2の送信部を備え、複数のタイプの位置検出システムに対して1個の位置指示器で対応する技術が開示されている。特許文献7には、軸筒の先端側から出没する電子ペンリフィルと、軸筒の後端に設けられる入力部とを備える位置指示器が開示されている。
【先行技術文献】
【特許文献】
【0005】
特開平8-272509号公報
特開平7-295722号公報
特表2018-531444号公報
特開2012-221304号公報
WO2020/129336
特開2020-129416号公報
特開2020-67797号公報
【発明の概要】
【発明が解決しようとする課題】
【0006】
静電結合方式の入力デバイスの中には、全ての方式の入力端末でも利用可能なものがある。しかし、静電結合方式は、原理的に指先で入力端末を操作するのと同様であるため、たとえば電磁結合方式の入力端末における微細な文字入力や描画目的には不十分であることがある。
【0007】
そこで、本願の各実施態様は、静電結合方式及び電磁結合方式の入力端末に対し、1つの入力先端で対応可能なスタイラスペンを提供することを課題とする。
【課題を解決するための手段】
【0008】
(1)第1の実施態様
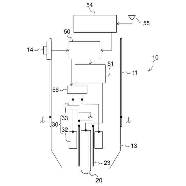
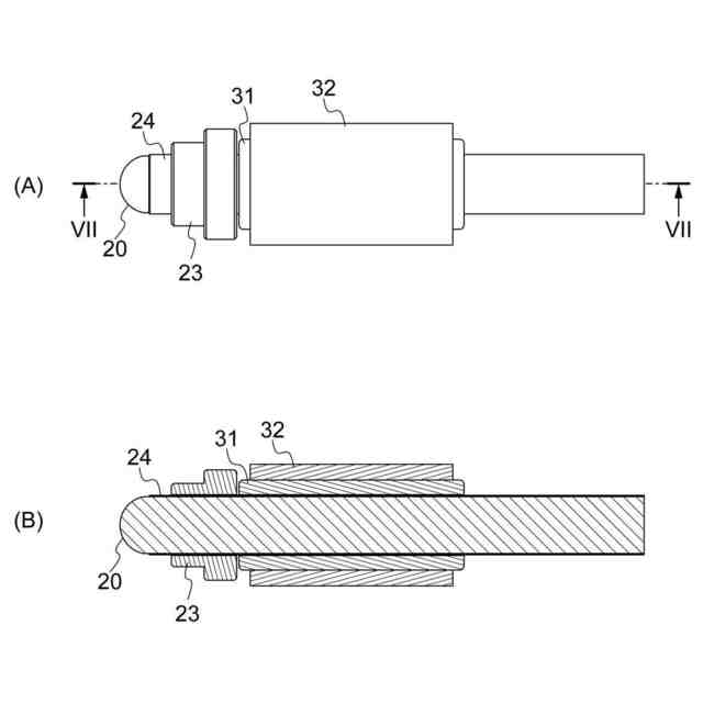
本願の第1の実施態様のスタイラスペンは、入力端末とともに使用され、信号を発するパルス電極と、前記パルス電極の外側に設けられるとともに前記パルス電極とは絶縁された接地電極と、外周に電磁結合方式用のコイルが巻き回された円筒形のフェライトコアと、を有し、前記パルス電極は前記フェライトコアの内側を貫通する。このように構成することで、本実施態様によると、静電結合方式及び電磁結合方式の入力端末に対し、1つの入力先端で対応可能なスタイラスペンが提供される。
【0009】
(2)第2の実施態様
本願の第2の実施態様は、第1の実施態様の構成に加え、前記接地電極は前記フェライトコアの内側を貫通する。換言すると、パルス電極の外側に接地電極が設けられ、その接地電極のさらに外側にフェライトコアが設けられる。このように構成することで、静電結合方式に対応するパルス電極と、パルス電極と電気回路を通じて接続される接地電極と、電磁結合方式に用いられるコイルとを、スタイラスペンの入力先端に効率よく収納することが可能となる。
【0010】
(3)第3の実施態様
本願の第3の実施態様は、第1の実施態様の構成に加え、前記接地電極は前記フェライトコアよりも前方に設けられ、前記接地電極の径は前記コイルの径よりも小さい。換言すると、パルス電極の外側の前方側に接地電極が設けられるとともに、パルス電極の外側の後方側にフェライトコアが設けられる。このように構成することで、接地電極をペン先の前方側に納めることができるため、静電結合方式に対応する場合の誤入力が起こりにくくなる。また、パルス電極の周囲の外径をより小さく設計することも可能となる。さらに、接地電極の後方に位置するコイルによる電磁結合を妨げることも避けられる。
(【0011】以降は省略されています)
この特許をJ-PlatPat(特許庁公式サイト)で参照する
関連特許
個人
職業自動販売機
14日前
個人
5掛けポイント
21日前
個人
情報処理装置
24日前
個人
インターネットの利用構造
28日前
個人
サービス情報提供システム
16日前
株式会社ワコム
電子ペン
23日前
株式会社ケアコム
項目選択装置
24日前
キヤノン株式会社
情報処理装置
8日前
キヤノン株式会社
画像認識装置
8日前
株式会社ケアコム
項目選択装置
24日前
キヤノン株式会社
情報処理装置
8日前
キヤノン株式会社
情報処理装置
22日前
株式会社ワコム
電子ペン
23日前
株式会社ITP
仮想展示システム
2日前
大同大學
スーパーアプリ構築方法
8日前
株式会社アジラ
行動推定システム
8日前
個人
請求金額算出システム
今日
トヨタ自動車株式会社
作業計画装置
9日前
株式会社ゼロワン
ケア支援システム
21日前
PRONI株式会社
受発注支援装置
14日前
株式会社フジシール
識別情報利用システム
14日前
PRONI株式会社
受発注支援装置
14日前
村田機械株式会社
ストレージシステム
1日前
個人
キャリアウーマン家庭科実習プログラム
14日前
キヤノン株式会社
映像送受信システム
21日前
村田機械株式会社
タスク管理システム
8日前
個人
新規提案・特典情報提供システム
3日前
株式会社神路社
おみくじシステム
8日前
エレコム株式会社
入力機器
14日前
株式会社大林組
運搬管理システム
1日前
株式会社大林組
進捗管理システム
8日前
トヨタ自動車株式会社
作業手順管理方法
9日前
個人
電子文書データ、電子文書の閲覧用電子機器
今日
株式会社SUBARU
操作システム
21日前
株式会社野村総合研究所
電子契約システム
今日
株式会社セガ
プログラム及び情報処理装置
21日前
続きを見る
他の特許を見る