TOP
|
特許
|
意匠
|
商標
特許ウォッチ
Twitter
他の特許を見る
10個以上の画像は省略されています。
公開番号
2025175145
公報種別
公開特許公報(A)
公開日
2025-11-28
出願番号
2025158115,2022044755
出願日
2025-09-24,2022-03-19
発明の名称
半導体装置の駆動方法
出願人
株式会社東芝
,
東芝デバイス&ストレージ株式会社
代理人
個人
,
個人
,
個人
主分類
H10D
84/83 20250101AFI20251120BHJP()
要約
【課題】スイッチング損失の低減を可能とする半導体装置の駆動方法を提供する。
【解決手段】
実施形態の半導体装置の駆動方法は、第1のトレンチと、第1のトレンチの中に設けられた第1のゲート電極と、第2のトレンチと、第2のトレンチの中に設けられた第2のゲート電極と、第3のトレンチと、第3のトレンチの中に設けられた第3のゲート電極と、第1のゲート電極と電気的に接続された第1の電極パッドと、第2のゲート電極と電気的に接続された第2の電極パッドと、第3のゲート電極と電気的に接続された第3の電極パッドと、を備える半導体装置の駆動方法であって、第2のゲート電極と第3のゲート電極は、異なる大きさのターンオフ電圧で制御される。
【選択図】図6
特許請求の範囲
【請求項1】
第1の面と、前記第1の面と対向する第2の面を有する半導体層と、
前記半導体層の中に設けられた第1導電形の第1の半導体領域と、
前記半導体層の中に設けられ、前記第1の半導体領域と前記第1の面との間に設けられた第2導電形の第2の半導体領域と、
前記半導体層の中に設けられ、前記第2の半導体領域と前記第1の面との間に設けられた第1導電形の第3の半導体領域と、
前記半導体層の中に設けられ、前記第3の半導体領域と前記第1の面との間に設けられた第2導電形の第4の半導体領域と、
前記半導体層の中の前記第1の面の側に設けられ、前記第2の半導体領域、前記第3の半導体領域、及び前記第4の半導体領域に接する第1のトレンチと、
前記第1のトレンチの中に設けられた第1のゲート電極と、
前記第1のゲート電極と前記第2の半導体領域との間、前記第1のゲート電極と前記第3の半導体領域との間、及び前記第1のゲート電極と前記第4の半導体領域との間に設けられた第1のゲート絶縁膜と、
前記半導体層の中の前記第1の面の側に設けられ、前記第2の半導体領域、前記第3の半導体領域、及び前記第4の半導体領域に接する第2のトレンチと、
前記第2のトレンチの中に設けられた第2のゲート電極と、
前記第2のゲート電極と前記第2の半導体領域との間、前記第2のゲート電極と前記第3の半導体領域との間、及び前記第2のゲート電極と前記第4の半導体領域との間に設けられた第2のゲート絶縁膜と、
前記半導体層の中の前記第1の面の側に設けられ、前記第2の半導体領域、前記第3の半導体領域、及び前記第4の半導体領域に接する少なくとも一つの第3のトレンチと、
前記少なくとも一つの第3のトレンチの中に設けられた第3のゲート電極と、
前記第3のゲート電極と前記第2の半導体領域との間、前記第3のゲート電極と前記第3の半導体領域との間、及び前記第3のゲート電極と前記第4の半導体領域との間に設けられた第3のゲート絶縁膜と、
前記半導体層に対し前記第1の面の側に設けられ、前記第4の半導体領域に接する第1の電極と、
前記半導体層に対し前記第2の面の側に設けられ、前記第1の半導体領域に接する第2の電極と、
前記半導体層に対し前記第1の面の側に設けられ、前記第1のゲート電極と電気的に接続された第1の電極パッドと、
前記半導体層に対し前記第1の面の側に設けられ、前記第2のゲート電極と電気的に接続された第2の電極パッドと、
前記半導体層に対し前記第1の面の側に設けられ、前記第3のゲート電極と電気的に接続された第3の電極パッドと、
を備え、
前記第1のゲート電極を有する第1のトランジスタと、前記第2のゲート電極を有する第2のトランジスタと、前記第3のゲート電極を有する第3のトランジスタを含み、
前記第3のトランジスタの閾値電圧は、前記第1のトランジスタの閾値電圧より低く、
前記第3のトランジスタの閾値電圧は、前記第2のトランジスタの閾値電圧より低い、半導体装置の駆動方法であって、
前記第2のゲート電極と前記第3のゲート電極は、異なる大きさのターンオフ電圧で制御される、半導体装置の駆動方法。
続きを表示(約 2,500 文字)
【請求項2】
前記第3の半導体領域は、前記第1のトレンチに接する第1の部分と、前記第2のトレンチに接する第2の部分と、前記少なくとも一つの第3のトレンチに接する第3の部分と、を含み、
前記第3の部分の前記第1の面から前記第2の面に向かう方向の厚さは、前記第1の部分の前記方向の厚さより薄く、
前記第3の部分の前記第1の面から前記第2の面に向かう方向の厚さは、前記第2の部分の前記方向の厚さより薄い、請求項1記載の半導体装置の駆動方法。
【請求項3】
前記第3の半導体領域は、前記第1のトレンチに接する第1の部分と、前記第2のトレンチに接する第2の部分と、前記少なくとも一つの第3のトレンチに接する第3の部分と、を含み、
前記第3の部分の第1導電形不純物濃度は、前記第1の部分の第1導電形不純物濃度より低く、
前記第3の部分の第1導電形不純物濃度は、前記第2の部分の第1導電形不純物濃度より低い、請求項1記載の半導体装置の駆動方法。
【請求項4】
第1の面と、前記第1の面と対向する第2の面を有する半導体層と、
前記半導体層の中に設けられた第1導電形の第1の半導体領域と、
前記半導体層の中に設けられ、前記第1の半導体領域と前記第1の面との間に設けられた第2導電形の第2の半導体領域と、
前記半導体層の中に設けられ、前記第2の半導体領域と前記第1の面との間に設けられた第1導電形の第3の半導体領域と、
前記半導体層の中に設けられ、前記第3の半導体領域と前記第1の面との間に設けられた第2導電形の第4の半導体領域と、
前記半導体層の中に設けられ、前記第2の半導体領域と前記第3の半導体領域の間に設けられ、前記第2の半導体領域の第2導電形不純物濃度よりも第2導電形不純物濃度の高い第2導電形の第5の半導体領域と、
前記半導体層の中の前記第1の面の側に設けられ、前記第2の半導体領域、前記第3の半導体領域、前記第4の半導体領域、及び前記第5の半導体領域に接する第1のトレンチと、
前記第1のトレンチの中に設けられた第1のゲート電極と、
前記第1のゲート電極と前記第2の半導体領域との間、前記第1のゲート電極と前記第3の半導体領域との間、前記第1のゲート電極と前記第4の半導体領域、及び前記第1のゲート電極と前記第5の半導体領域との間に設けられた第1のゲート絶縁膜と、
前記半導体層の中の前記第1の面の側に設けられ、前記第2の半導体領域、前記第3の半導体領域、前記第4の半導体領域、及び前記第5の半導体領域に接する第2のトレンチと、
前記第2のトレンチの中に設けられた第2のゲート電極と、
前記第2のゲート電極と前記第2の半導体領域との間、前記第2のゲート電極と前記第3の半導体領域との間、前記第2のゲート電極と前記第4の半導体領域との間、及び前記第2のゲート電極と前記第5の半導体領域との間に設けられた第2のゲート絶縁膜と、
前記半導体層の中の前記第1の面の側に設けられ、前記第2の半導体領域、前記第3の半導体領域、前記第4の半導体領域、及び前記第5の半導体領域に接する少なくとも一つの第3のトレンチと、
前記少なくとも一つの第3のトレンチの中に設けられた第3のゲート電極と、
前記第3のゲート電極と前記第2の半導体領域との間、前記第3のゲート電極と前記第3の半導体領域との間、前記第3のゲート電極と前記第4の半導体領域との間、及び前記第3のゲート電極と前記第5の半導体領域との間に設けられた第3のゲート絶縁膜と、
前記半導体層に対し前記第1の面の側に設けられ、前記第4の半導体領域に接する第1の電極と、
前記半導体層に対し前記第2の面の側に設けられ、前記第1の半導体領域に接する第2の電極と、
前記半導体層に対し前記第1の面の側に設けられ、前記第1のゲート電極と電気的に接続された第1の電極パッドと、
前記半導体層に対し前記第1の面の側に設けられ、前記第2のゲート電極と電気的に接続された第2の電極パッドと、
前記半導体層に対し前記第1の面の側に設けられ、前記第3のゲート電極と電気的に接続された第3の電極パッドと、
を備え、
前記第5の半導体領域は、前記第1のトレンチに接する第1の部分と、前記第2のトレンチに接する第2の部分と、前記少なくとも一つの第3のトレンチに接する第3の部分と、を含み、
前記第3の部分の第2導電形不純物濃度は、前記第1の部分の第2導電形不純物濃度よりも高く、前記第3の部分の第2導電形不純物濃度は、前記第2の部分の第2導電形不純物濃度よりも高い半導体装置の駆動方法であって、
前記第2のゲート電極と前記第3のゲート電極は、異なる大きさのターンオフ電圧で制御される、半導体装置の駆動方法。
【請求項5】
前記第1の電極パッドに第1のターンオン電圧を印加し、
前記第2の電極パッドに第2のターンオン電圧を印加し、
前記第3の電極パッドに第3のターンオン電圧を印加し、
前記第1の電極パッドに前記第1のターンオン電圧を印加し、前記第2の電極パッドに前記第2のターンオン電圧を印加し、前記第3の電極パッドに前記第3のターンオン電圧を印加した後に、前記第3の電極パッドに第3のターンオフ電圧を印加し、
前記第3の電極パッドに前記第3のターンオフ電圧を印加した後に、前記第2の電極パッドに第2のターンオフ電圧を印加し、
前記第2の電極パッドに前記第2のターンオフ電圧を印加した後に、前記第1の電極パッドに第1のターンオフ電圧を印加する、請求項1乃至4のいずれか1項に記載の半導体装置の駆動方法。
【請求項6】
前記第2のターンオフ電圧は負電圧である、請求項5に記載の半導体装置の駆動方法。
発明の詳細な説明
【技術分野】
【0001】
本発明の実施形態は、半導体装置の駆動方法に関する。
続きを表示(約 2,900 文字)
【背景技術】
【0002】
電力用の半導体装置の一例として、Insulated Gate Bipolar Transistor(IGBT)がある。IGBTは、例えば、コレクタ電極上に、p形のコレクタ領域、n形のドリフト領域、p形のベース領域が設けられる。そして、p形のベース領域を貫通し、n形のドリフト領域に達するトレンチ内に、ゲート絶縁膜を間に挟んでゲート電極が設けられる。さらに、p形のベース領域表面のトレンチに隣接する領域に、エミッタ電極に接続されるn形のエミッタ領域が設けられる。
【0003】
IGBTでは、スイッチング損失を低減することが期待される。
【先行技術文献】
【特許文献】
【0004】
特開2020-161786号公報
【発明の概要】
【発明が解決しようとする課題】
【0005】
本発明が解決しようとする課題は、スイッチング損失の低減を可能とする半導体装置の駆動方法を提供することにある。
【課題を解決するための手段】
【0006】
実施形態の半導体装置の駆動方法は、第1の面と、前記第1の面と対向する第2の面を有する半導体層と、前記半導体層の中に設けられた第1導電形の第1の半導体領域と、前記半導体層の中に設けられ、前記第1の半導体領域と前記第1の面との間に設けられた第2導電形の第2の半導体領域と、前記半導体層の中に設けられ、前記第2の半導体領域と前記第1の面との間に設けられた第1導電形の第3の半導体領域と、前記半導体層の中に設けられ、前記第3の半導体領域と前記第1の面との間に設けられた第2導電形の第4の半導体領域と、前記半導体層の中の前記第1の面の側に設けられ、前記第2の半導体領域、前記第3の半導体領域、及び前記第4の半導体領域に接する第1のトレンチと、前記第1のトレンチの中に設けられた第1のゲート電極と、前記第1のゲート電極と前記第2の半導体領域との間、前記第1のゲート電極と前記第3の半導体領域との間、及び前記第1のゲート電極と前記第4の半導体領域との間に設けられた第1のゲート絶縁膜と、前記半導体層の中の前記第1の面の側に設けられ、前記第2の半導体領域、前記第3の半導体領域、及び前記第4の半導体領域に接する第2のトレンチと、前記第2のトレンチの中に設けられた第2のゲート電極と、前記第2のゲート電極と前記第2の半導体領域との間、前記第2のゲート電極と前記第3の半導体領域との間、及び前記第2のゲート電極と前記第4の半導体領域との間に設けられた第2のゲート絶縁膜と、前記半導体層の中の前記第1の面の側に設けられ、前記第2の半導体領域、前記第3の半導体領域、及び前記第4の半導体領域に接する少なくとも一つの第3のトレンチと、前記少なくとも一つの第3のトレンチの中に設けられた第3のゲート電極と、前記第3のゲート電極と前記第2の半導体領域との間、前記第3のゲート電極と前記第3の半導体領域との間、及び前記第3のゲート電極と前記第4の半導体領域との間に設けられた第3のゲート絶縁膜と、前記半導体層に対し前記第1の面の側に設けられ、前記第4の半導体領域に接する第1の電極と、前記半導体層に対し前記第2の面の側に設けられ、前記第1の半導体領域に接する第2の電極と、前記半導体層に対し前記第1の面の側に設けられ、前記第1のゲート電極と電気的に接続された第1の電極パッドと、前記半導体層に対し前記第1の面の側に設けられ、前記第2のゲート電極と電気的に接続された第2の電極パッドと、前記半導体層に対し前記第1の面の側に設けられ、前記第3のゲート電極と電気的に接続された第3の電極パッドと、を備え、前記第1のゲート電極を有する第1のトランジスタと、前記第2のゲート電極を有する第2のトランジスタと、前記第3のゲート電極を有する第3のトランジスタを含み、前記第3のトランジスタの閾値電圧は、前記第1のトランジスタの閾値電圧より低く、前記第3のトランジスタの閾値電圧は、前記第2のトランジスタの閾値電圧より低い、半導体装置の駆動方法であって、前記第2のゲート電極と前記第3のゲート電極は、異なる大きさのターンオフ電圧で制御される前記第2のゲート電極と前記第3のゲート電極は、異なる大きさのターンオフ電圧で制御される。
【図面の簡単な説明】
【0007】
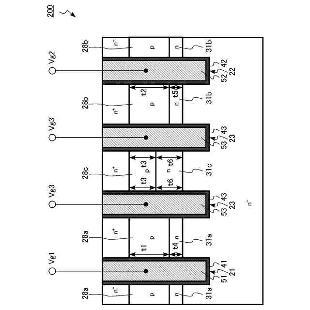
第1の実施形態の半導体回路の模式図。
第1の実施形態の半導体装置の一部の模式断面図。
第1の実施形態の半導体装置の一部の模式上面図。
第1の実施形態の半導体装置の一部の模式断面図。
第1の実施形態の半導体装置の一部の拡大模式断面図。
第1の実施形態の半導体装置の駆動方法の説明図。
第1の実施形態の変形例の半導体装置の一部の拡大模式断面図。
第2の実施形態の半導体装置の一部の模式断面図。
第2の実施形態の半導体装置の一部の拡大模式断面図。
第3の実施形態の半導体装置の一部の模式断面図。
第3の実施形態の半導体装置の一部の拡大模式断面図。
第4の実施形態の半導体装置の一部の模式断面図。
第4の実施形態の半導体装置の一部の拡大模式断面図。
第5の実施形態の半導体装置の一部の模式断面図。
第5の実施形態の半導体装置の一部の模式上面図。
第5の実施形態の半導体装置の一部の模式断面図。
【発明を実施するための形態】
【0008】
以下、図面を参照しつつ本発明の実施形態を説明する。なお、以下の説明では、同一又は類似の部材などには同一の符号を付し、一度説明した部材などについては適宜その説明を省略する。
【0009】
本明細書中、n
+
形、n形、n
-
形との表記がある場合、n
+
形、n形、n
-
形の順でn形不純物濃度が低くなっていることを意味する。また、p
+
形、p形、p
-
形の表記がある場合、p
+
形、p形、p
-
形の順で、p形不純物濃度が低くなっていることを意味する。n
+
形、n形、n
-
形をまとめて単にn形と記載する場合がある。また、p
+
形、p形、p
-
形をまとめて単にp形と記載する場合がある。
【0010】
本明細書中、n形不純物濃度は、実際のn形不純物濃度を示すのではなく、補償後の実効的なn形不純物濃度を示す。同様に、p形不純物濃度は、実際のp形不純物濃度を示すのではなく、補償後の実効的なp形不純物濃度を示す。例えば、実際のn形不純物濃度が、実際のp形不純物濃度よりも大きい場合は、実際のn形不純物濃度からp形不純物濃度を引いた濃度を、n形不純物濃度とする。p形不純物濃度についても同様である。
(【0011】以降は省略されています)
この特許をJ-PlatPat(特許庁公式サイト)で参照する
関連特許
株式会社東芝
センサ
2か月前
株式会社東芝
モータ
2か月前
株式会社東芝
センサ
2か月前
株式会社東芝
端子台
1か月前
株式会社東芝
吸音装置
2か月前
株式会社東芝
電子装置
2か月前
株式会社東芝
金型構造
2か月前
株式会社東芝
除去装置
25日前
株式会社東芝
電子装置
1か月前
株式会社東芝
電子回路
1か月前
株式会社東芝
半導体装置
1か月前
株式会社東芝
半導体装置
1か月前
株式会社東芝
高周波回路
1か月前
株式会社東芝
半導体装置
1か月前
株式会社東芝
半導体装置
1か月前
株式会社東芝
半導体装置
1か月前
株式会社東芝
半導体装置
1か月前
株式会社東芝
真空バルブ
1か月前
株式会社東芝
半導体装置
2か月前
株式会社東芝
半導体装置
2か月前
株式会社東芝
半導体装置
1か月前
株式会社東芝
真空バルブ
1か月前
株式会社東芝
半導体装置
1か月前
株式会社東芝
半導体装置
1か月前
株式会社東芝
半導体装置
1か月前
株式会社東芝
半導体装置
2か月前
株式会社東芝
半導体装置
2か月前
株式会社東芝
半導体装置
2か月前
株式会社東芝
半導体装置
1か月前
株式会社東芝
半導体装置
1か月前
株式会社東芝
半導体装置
1か月前
株式会社東芝
半導体装置
2か月前
株式会社東芝
半導体装置
3日前
株式会社東芝
半導体装置
11日前
株式会社東芝
半導体装置
1か月前
株式会社東芝
粒子加速器
2か月前
続きを見る
他の特許を見る