TOP
|
特許
|
意匠
|
商標
特許ウォッチ
Twitter
他の特許を見る
10個以上の画像は省略されています。
公開番号
2025175081
公報種別
公開特許公報(A)
公開日
2025-11-28
出願番号
2025148936,2023149479
出願日
2025-09-09,2014-06-26
発明の名称
移植機
出願人
株式会社クボタ
代理人
弁理士法人R&C
主分類
A01B
69/00 20060101AFI20251120BHJP(農業;林業;畜産;狩猟;捕獲;漁業)
要約
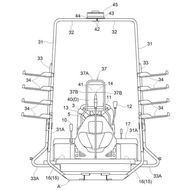
【課題】測位衛星からの電波信号を良好に受信する移植機を構成する。
【解決手段】アンテナとジャイロセンサとを有し、測位衛星からの電波信号をアンテナで受信する受信ユニット45と、予備苗載台34を支持する予備苗載台フレーム31,33と、を備え、受信ユニット45が予備苗載台フレーム31,33の上部に位置する支持フレーム32に支持され、予備苗載台フレーム31,33の上端が、ステアリングホイール11の上端よりも高い位置に位置し、受信ユニット45が、予備苗載台フレーム31,33の上端よりも高い位置に配置されている。
【選択図】図3
特許請求の範囲
【請求項1】
アンテナとジャイロセンサとを有し、測位衛星からの電波信号を前記アンテナで受信する受信ユニットと、
予備苗載台を支持する予備苗載台フレームと、
前記受信ユニットが前記予備苗載台フレームの上部に位置する支持フレームに支持され、
前記予備苗載台フレームの上端が、ステアリングホイールの上端よりも高い位置に位置し、
前記受信ユニットが、前記予備苗載台フレームの上端よりも高い位置に配置されている移植機。
発明の詳細な説明
【技術分野】
【0001】
本発明は、測位衛星からの電波信号を受信することにより走行車体の位置情報を取得するように構成された水田作業機(田植機)等の移植機に関する。
続きを表示(約 2,500 文字)
【背景技術】
【0002】
上記のように構成された水田作業機として特許文献1には、GPS装置により計測される位置情報に基づいて自律走行する技術が示されている。
【0003】
特許文献1では、走行車体に備えたGPSアンテナでGPS衛星(測位衛星)からの電波信号を受信する状態でティーチングを行うことにより基準線を設定し、この基準線に平行となる目標経路を設定する。この設定の後には、GPS衛星(測位衛星)からの電波信号を受信する状態で目標経路上に自律走行させる形態で田植作業を行えるように構成されている。
【先行技術文献】
【特許文献】
【0004】
特開2008‐92818号公報
【発明の概要】
【発明が解決しようとする課題】
【0005】
本発明の目的は、上記のような水田作業機において、測位衛星からの電波信号を良好に受信する移植機を構成する点にある。
【課題を解決するための手段】
【0006】
本発明の特徴は、アンテナとジャイロセンサとを有し、測位衛星からの電波信号を前記アンテナで受信する受信ユニットと、予備苗載台を支持する予備苗載台フレームと、前記受信ユニットが前記予備苗載台フレームの上部に位置する支持フレームに支持され、前記予備苗載台フレームの上端が、ステアリングホイールの上端よりも高い位置に位置し、前記受信ユニットが、前記予備苗載台フレームの上端よりも高い位置に配置されている点にある。
また、本発明の特徴は、アンテナとジャイロセンサとを有し、測位衛星からの電波信号を前記アンテナで受信する受信ユニットと、予備苗載台を支持する予備苗載台フレームと、前記予備苗載台フレームとは別の支持フレームと、が備えられ、前記支持フレームに、上下方向に延びる縦フレーム部と、側面視で前記縦フレーム部から後方に延びる後方延出部とが設けられて、側面視で、前記縦フレーム部の下端部がステアリングホイールの前端部よりも前方に位置し、前記縦フレーム部の上端部が前記縦フレーム部の前記下端部よりも後方に位置し、前記後方延出部が前記縦フレーム部の前記上端部から後方に延出し、前記受信ユニットが、前記予備苗載台フレームの上端よりも高い位置に配置されるように、前記後方延出部に支持されている点にある。
本発明の特徴は、測位衛星からの電波信号を、受信ユニットが有するアンテナで受信し、走行車体の位置情報を取得する測位システムを備え、予備苗載台を支持する予備苗載台フレームを備え、前記予備苗載台フレームとは別の支持フレームが備えられ、
前記支持フレームに、上下方向に延びる縦フレーム部と、側面視で前記縦フレーム部から後方に延びる後方延出部とが設けられて、側面視で、前記縦フレームの下端部がステアリングホイールの前端部よりも前方に位置し、前記縦フレームの上端部が前記縦フレームの前記下端部よりも後方に位置し、前記縦フレームの前記後方延出部が前記縦フレームの前記上端部から後方に延出し、前記アンテナが、前記予備苗載台フレームの上端よりも高い位置に配置されるように、前記後方延出部に支持されている点にある。
また、本発明の特徴は、測位衛星からの電波信号を受信ユニットで受信し、走行車体の位置情報を取得する測位システムを備えると共に、前記受信ユニットが、測位衛星からの電波を受信するアンテナと、地磁気から方位を検知する方位センサとを備えて構成され、当該受信ユニットが前記走行車体に備えた受信ユニット支持部の上端部に対して非磁性材料で形成される支持部材を介して支持されている点にある。
【0007】
この構成によると、受信ユニット支持部の上端部に受信ユニットを備えることにより測位衛星からの電波信号を車体の構成物に妨げられることなく、受信ユニットのアンテナにより受信することが可能となる。また、受信ユニット支持部の上端部に対して非磁性材料で構成される支持部材を介して受信ユニットが支持されるため、例えば、車体の構成物が磁性体である場合や、車体の構成物が磁気を帯びている場合でも、車体の構造物と方位センサとの距離を拡大し、受信ユニット内の方位センサで検知する地磁気に対する影響を抑制する。
従って、測位衛星からの電波信号を良好に受信し、地磁気に基づき走行車体の方向を方位センサによって高精度で検知する水田作業機が構成された。
【0008】
本発明は、前記走行車体の後端に、苗載台に載置したマット状苗から苗を切り出して圃場面に植え付ける苗植付装置が備えられ、前記苗載台に補給するためのマット状苗を支持するための予備苗載台が前記走行車体の前部に備えられると共に、
前記予備苗載台が、前記走行車体の前部の左右位置に縦向き姿勢で備えられた縦フレームに支持され、前記受信ユニット支持部として、左右の前記縦フレームの上端部同士を連結する水平姿勢の連結フレームが用いられても良い。
【0009】
これによると、予備苗載台を支持するための縦フレームを利用し、左右の縦フレームの上端同士を連結する連結フレームを受信ユニット支持部の上端とし、支持部材を介して受信ユニットを支持することが可能となる。このように予備苗載台を支持するための構造物を利用して受信ユニットを支持するため、受信ユニットを支持するために専用のフレーム類を備えずに済む。特に、予備苗載台が走行車体の前部位置に配置されるため、走行車体の走行方向を変更した場合には、走行車体の後端側と比較して横方向への変位量が大きく位置情報の変化を高感度で検知できる。
【0010】
本発明は、前記走行車体の運転座席の上方を覆うルーフ部材を有するキャノピーを備え、前記受信ユニット支持部として前記キャノピーの前記ルーフ部材が用いられても良い。
(【0011】以降は省略されています)
この特許をJ-PlatPat(特許庁公式サイト)で参照する
関連特許
株式会社クボタ
作業機
28日前
株式会社クボタ
作業車
1か月前
株式会社クボタ
作業車
20日前
株式会社クボタ
作業機
14日前
株式会社クボタ
作業車
22日前
株式会社クボタ
作業車
1か月前
株式会社クボタ
作業車
1か月前
株式会社クボタ
作業車
1か月前
株式会社クボタ
作業車
6日前
株式会社クボタ
作業車
1か月前
株式会社クボタ
作業車
20日前
株式会社クボタ
農業機械
6日前
株式会社クボタ
作業車両
20日前
株式会社クボタ
作業車両
1か月前
株式会社クボタ
作業車両
1か月前
株式会社クボタ
作業車両
29日前
株式会社クボタ
作業車両
20日前
株式会社クボタ
作業車両
1か月前
株式会社クボタ
多目的車両
27日前
株式会社クボタ
多目的車両
1か月前
株式会社クボタ
電動作業車
1か月前
株式会社クボタ
車両用シート
27日前
株式会社クボタ
竪型の反応炉
14日前
株式会社クボタ
作業車及び座席
27日前
株式会社クボタ
農作物測定装置
1か月前
株式会社クボタ
作業支援システム
7日前
株式会社クボタ
鋳造用砂型の製造方法
14日前
株式会社クボタ
有機性廃棄物の処理方法
6日前
株式会社クボタ
ヘッドレスト及び作業車
6日前
株式会社クボタ
作業車両、作業支援システム
7日前
株式会社クボタ
鋳鋼品および鋳鋼品の製造方法
20日前
株式会社クボタ
作業機の油圧システム及び作業機
1か月前
株式会社クボタ
作業支援装置、作業支援システム
7日前
株式会社クボタ
浄水処理方法および原水評価方法
6日前
株式会社クボタ
表示装置及び表示装置を備えた車両
1か月前
株式会社クボタケミックス
揚水装置、揚水装置を用いた施工方法
1か月前
続きを見る
他の特許を見る