TOP
|
特許
|
意匠
|
商標
特許ウォッチ
Twitter
他の特許を見る
10個以上の画像は省略されています。
公開番号
2025174339
公報種別
公開特許公報(A)
公開日
2025-11-28
出願番号
2024080620
出願日
2024-05-17
発明の名称
フォトマスクブランク、及びフォトマスクの製造方法
出願人
信越化学工業株式会社
代理人
弁理士法人英明国際特許事務所
主分類
G03F
1/26 20120101AFI20251120BHJP(写真;映画;光波以外の波を使用する類似技術;電子写真;ホログラフイ)
要約
【解決手段】透明基板と、クロムを含有する材料で形成された膜と、単層又は複数層で構成され、厚さが0.5~15nmであり、タンタルと、酸素又は酸素及び窒素とを含有し、ケイ素を含有しない材料で形成された膜とを備え、単層、及び複数層を構成する層の少なくとも透明基板から最も離間する層が、タンタルの含有率が40~80原子%、酸素の含有率が5~50原子%、窒素の含有率が50原子%以下であるタンタルを含有する材料で形成され、透明基板から最も離間する層の厚さが0.5nm以上であるフォトマスクブランク。
【効果】クロムを含有する材料で形成された膜上に形成された膜として、HMDS処理を実施しなくてもレジスト膜の密着性が良好であり、エッチングに対する膜面内のCDの均一性が高く、酸素を含有する塩素系ガスを用いたドライエッチングに対するエッチングレートが低い膜を備えるフォトマスクブランクを提供できる。
【選択図】図3
特許請求の範囲
【請求項1】
透明基板と、該透明基板上に形成された、クロムを含有する材料で形成された膜と、該クロムを含有する材料で形成された膜上に形成された、タンタルを含有する材料で形成された膜とを備えるフォトマスクブランクであって、
上記タンタルを含有する材料で形成された膜が単層又は複数層で構成され、
上記タンタルを含有する材料で形成された膜の厚さが0.5nm以上15nm以下であり、
上記タンタルを含有する材料が、タンタルと、酸素又は酸素及び窒素とを含有し、ケイ素を含有せず、
上記単層、及び上記複数層を構成する層の少なくとも上記透明基板から最も離間する層が、タンタルの含有率が40原子%以上80原子%以下、酸素の含有率が5原子%以上50原子%以下、窒素の含有率が50原子%以下であるタンタルを含有する材料で形成され、
上記透明基板から最も離間する層の厚さが0.5nm以上である
ことを特徴とするフォトマスクブランク。
続きを表示(約 2,400 文字)
【請求項2】
上記クロムを含有する材料で形成された膜及び上記タンタルを含有する材料で形成された膜を、酸素を含有する塩素系ガスを用いたドライエッチングでエッチングしたときの、上記タンタルを含有する材料で形成された膜のエッチングレートに対する上記クロムを含有する材料で形成された膜のエッチングレートの比率が50以上であることを特徴とする請求項1に記載のフォトマスクブランク。
【請求項3】
上記クロムを含有する材料で形成された膜の厚さが30nm以上80nm以下であることを特徴とする請求項1に記載のフォトマスクブランク。
【請求項4】
上記透明基板と、上記クロムを含有する材料で形成された膜との間に、更に、ケイ素を含有する材料で形成された膜を備えることを特徴とする請求項1乃至3のいずれか1項に記載のフォトマスクブランク。
【請求項5】
上記ケイ素を含有する材料で形成された膜が、位相シフト膜であり、
上記クロムを含有する材料で形成された膜が、遮光膜であり、
上記タンタルを含有する材料で形成された膜が、ハードマスク膜である
ことを特徴とする請求項4に記載のフォトマスクブランク。
【請求項6】
上記位相シフト膜が、露光光に対する、位相差が175度以上185度以下、透過率が6%以上30%以下であり、厚さが60nm以上85nm以下であることを特徴とする請求項5に記載のフォトマスクブランク。
【請求項7】
上記遮光膜と上記位相シフト膜とを合わせた、露光光に対する光学濃度が3以上であることを特徴とする請求項6に記載のフォトマスクブランク。
【請求項8】
上記タンタルを含有する材料で形成された膜の上記透明基板から離間する側に接して、更に、厚さが40nm以上120nm以下のレジスト膜を備えることを特徴とする請求項1に記載のフォトマスクブランク。
【請求項9】
請求項1乃至3のいずれか1項に記載のフォトマスクブランクから、上記クロムを含有する材料で形成された膜の回路パターンを有するフォトマスクを製造する方法であって、
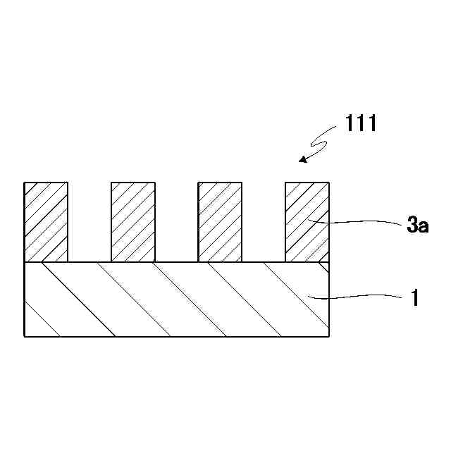
(A)上記タンタルを含有する材料で形成された膜の透明基板から離間する側に接して、第1のレジスト膜を形成する工程と、
(B)上記第1のレジスト膜をパターニングして、第1のレジスト膜パターンを形成する工程と、
(C)上記第1のレジスト膜パターンをエッチングマスクとして、フッ素系ガスを用いたドライエッチングで、上記タンタルを含有する材料で形成された膜をパターニングして、タンタルを含有する材料で形成された膜のパターンを形成する工程と、
(D)上記第1のレジスト膜パターンを除去する工程と、
(E)上記タンタルを含有する材料で形成された膜のパターンをエッチングマスクとして、酸素を含有する塩素系ガスを用いたドライエッチングで、上記クロムを含有する材料で形成された膜をパターニングして、クロムを含有する材料で形成された膜のパターンを形成する工程と、
(F1)フッ素系ガスを用いたドライエッチングで、上記タンタルを含有する材料で形成された膜のパターンを除去する工程と
を含むことを特徴とするフォトマスクの製造方法。
【請求項10】
請求項4に記載のフォトマスクブランクから、上記ケイ素を含有する材料で形成された膜の回路パターンを有するフォトマスクを製造する方法であって、
(A)上記タンタルを含有する材料で形成された膜の透明基板から離間する側に接して、第1のレジスト膜を形成する工程と、
(B)上記第1のレジスト膜をパターニングして、第1のレジスト膜パターンを形成する工程と、
(C)上記第1のレジスト膜パターンをエッチングマスクとして、フッ素系ガスを用いたドライエッチングで、上記タンタルを含有する材料で形成された膜をパターニングして、タンタルを含有する材料で形成された膜のパターンを形成する工程と、
(D)上記第1のレジスト膜パターンを除去する工程と、
(E)上記タンタルを含有する材料で形成された膜のパターンをエッチングマスクとして、酸素を含有する塩素系ガスを用いたドライエッチングで、上記クロムを含有する材料で形成された膜をパターニングして、クロムを含有する材料で形成された膜のパターンを形成する工程と、
(F2)上記クロムを含有する材料で形成された膜のパターンをエッチングマスクとして、フッ素系ガスを用いたドライエッチングで、上記ケイ素を含有する材料で形成された膜をパターニングして、上記回路パターンを含む、ケイ素を含有する材料で形成された膜のパターンを形成すると同時に、上記タンタルを含有する材料で形成された膜のパターンを除去する工程と、
(G)上記クロムを含有する材料で形成された膜のパターンの透明基板から離間する側に、上記クロムを含有する材料で形成された膜のパターン及び露出した上記透明基板に接して、第2のレジスト膜を形成する工程と、
(H)上記第2のレジスト膜をパターニングして、上記回路パターンが形成されていない領域である上記透明基板の外周縁部のみに第2のレジスト膜パターンを形成する工程と、
(I)上記外周縁部にクロムを含有する材料で形成された膜のパターンが残存するように、上記第2のレジスト膜パターンをエッチングマスクとして、酸素を含有する塩素系ガスを用いたドライエッチングで上記外周縁部以外のクロムを含有する材料で形成された膜のパターンを除去する工程と、
(J)上記第2のレジスト膜パターンを除去する工程と
を含むことを特徴とするフォトマスクの製造方法。
(【請求項11】以降は省略されています)
発明の詳細な説明
【技術分野】
【0001】
本発明は、半導体デバイスなどの製造において使用されるフォトマスクの製造方法、及びフォトマスクの素材として、その製造に用いられるフォトマスクブランクに関する。
続きを表示(約 3,200 文字)
【背景技術】
【0002】
近年、半導体デバイスの微細化に伴い、特に、大規模集積回路の高集積化により、投影露光に、高いパターン解像性が求められている。そこで、フォトマスクにおいては、転写パターンの解像性を向上させる手法として、位相シフトマスクが開発された。位相シフト法の原理は、位相シフト膜の開口部を通過した透過光の位相を、開口部に隣接する部分を通過した透過光の位相に対して約180度反転するように調整することによって、開口部と、開口部に隣接する部分との境界部で、透過光が干渉して光強度が低下し、その結果として、転写パターンの解像性及び焦点深度が向上するものであり、この原理を用いたフォトマスクは、総じて、位相シフトマスクと呼ばれる。
【0003】
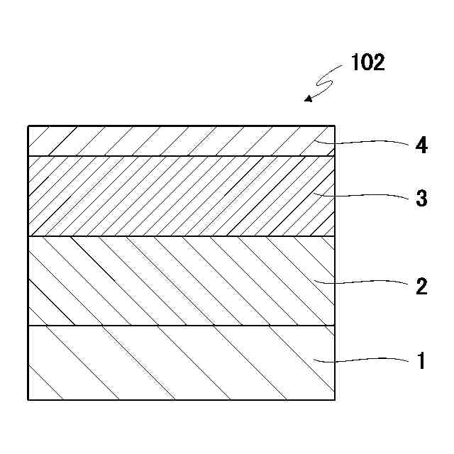
位相シフトマスクの製造に用いられる位相シフトマスクブランクは、ガラス基板などの透明基板上に、位相シフト膜が積層され、位相シフト膜の上にクロムを含有する材料で形成された膜が積層された構造のものが最も一般的である。位相シフト膜の位相差及び透過率は、通常、露光光に対して、位相差が175~185度程度、透過率が6~30%程度である。位相シフト膜としては、モリブデンとケイ素とを含有する材料で形成された膜が主流である。また、クロムを含有する材料で形成された膜の厚さは、位相シフト膜と合わせて所定の光学濃度となる厚さに調整され、クロムを含有する材料で形成された膜を、遮光膜とすると共に、位相シフト膜をエッチングするためのハードマスクとして利用するのが一般的である。
【0004】
このような位相シフトマスクブランクの位相シフト膜から、位相シフト膜のパターンを形成する方法としては、以下のような方法が挙げられる。まず、位相シフトマスクブランクのクロムを含有する材料で形成された膜上に、レジスト膜を形成し、レジスト膜に、光又は電子線によりパターンを描画し、現像してレジスト膜パターンを形成し、レジスト膜パターンをエッチングマスクとして、クロムを含有する材料で形成された膜をエッチングして、クロムを含有する材料で形成された膜のパターンを形成する。更に、クロムを含有する材料で形成された膜のパターンをエッチングマスクとして、位相シフト膜をエッチングして、位相シフト膜パターンを形成し、その後、レジスト膜パターンと、クロムを含有する材料で形成された膜のパターンを、順に除去する。
【0005】
更に、位相シフト膜パターンの回路パターンが形成されている部分より外側に、クロムを含有する材料で形成された膜を遮光膜として残存させて、位相シフト膜と遮光膜とを合わせた光学濃度が3以上となるように、位相シフトマスクの外周縁部の遮光部(遮光膜パターン)とすることも行われる。これは、ウエハ露光装置を用いて回路パターンをウエハ上のレジスト膜に転写する際、位相シフトマスクの外周縁部で、露光光が十分に遮光されずに露光光が透過してしまい、回路パターンを露光する位置に隣接する部分のレジスト膜に、露光光が照射されることを防ぐためである。このような遮光膜パターンを形成する方法としては、位相シフト膜パターンを形成し、レジスト膜パターンを除去した後、レジスト膜を新たに形成し、レジスト膜に、光又は電子線によりパターンを描画し、現像してレジスト膜パターンを形成し、レジスト膜パターンをエッチングマスクとして、回路パターン部分のクロムを含有する材料で形成された膜のみをエッチングして、外周縁部に、遮光部(遮光膜パターン)を残す方法が一般的である。
【0006】
高精度なパターン形成が要求されるフォトマスクの製造において、エッチングは、ガスプラズマを用いたドライエッチングが主流である。クロムを含有する材料で形成された膜のドライエッチングには、塩素系ガスを用いたドライエッチング、モリブデンとケイ素とを含有する材料で形成された膜のドライエッチングには、フッ素系ガスを用いたドライエッチングが用いられる。特に、クロムを含有する材料で形成された膜のドライエッチングでは、エッチングガスである塩素系ガスを、塩素ガス(Cl
2
ガス)に対して10~25体積%の酸素ガス(O
2
ガス)を混合したガスとすることで、化学的な反応性が高くなり、エッチングレート(エッチング速度)が向上することが知られている。
【0007】
回路パターンの微細化に伴い、位相シフト膜パターンを微細に形成する技術が求められている。特に、位相シフトマスクのメインパターンの解像性を補助する、ラインパターンのアシストパターンは、ウエハ露光装置を用いて回路パターンをウエハ上のレジスト膜に転写する際、アシストパターンがウエハ上のレジスト膜に転写されないように、メインパターンよりも小さく形成する必要がある。ウエハ上での回路のラインアンドスペースパターンのピッチが10nm以細の世代の位相シフトマスクにおいては、位相シフトマスク上のラインパターンのアシストパターンの線幅は、40nm程度であることが求められる。この場合、高精度な回路パターンが形成された位相シフトマスクを、ばらつきに対する余裕をもって、安定して製造するためには、線幅を40nm程度より狭くする必要があり、アシストパターンの線幅は、36nm程度とすることが求められる。
【0008】
微細なパターンを有する位相シフトマスクを製造するためには、一般に、レジストとして、化学増幅型レジストが用いられる。化学増幅型レジストは、ベース樹脂、酸発生剤、界面活性剤などからなっており、露光により発生した酸が触媒として作用する多くの反応が適用できることから、高感度化が可能である。化学増幅型レジストは、線幅が0.2μm以下の、位相シフト膜パターンなどの膜パターンを形成することを可能にしている。しかし、化学増幅レジストであっても、パターン幅を狭くしていくと、現像工程における現像液による衝撃、又はリンス時の純水による衝撃によって、レジスト膜パターンが倒れるようになり、解像限界に達する。
【0009】
位相シフトマスクの製造に使用されるレジスト膜の一般的な厚さは、100~150nm程度である。しかし、このような厚さでは、位相シフトマスクに、より微細なアシストパターンを形成することは困難である。その理由は、クロムを含有する材料で形成された膜上に形成された、厚いレジスト膜では、アシストパターンを形成するための線幅が狭いレジスト膜パターンの縦横比(アスペクト比)が高いために、レジスト膜パターン形成の現像工程において、現像液による衝撃、又はリンス時の純水による衝撃によりレジスト膜パターンが倒れてしまうからである。
【0010】
現像液による衝撃、又はリンス時の純水による衝撃の影響を小さくするために、レジスト膜パターンの縦横比(アスペクト比)を低くすることを考えると、レジスト膜を、より薄くすることが必要である。しかし、レジスト膜を薄くした場合、クロムを含有する材料で形成された膜のドライエッチング中にレジスト膜が消失してしまうと、クロムを含有する材料で形成された膜に、ピンホール欠陥が形成されることになる。ピンホール欠陥が形成されたクロムを含有する材料で形成された膜のパターンをエッチングマスクとして、位相シフト膜をドライエッチングすると、位相シフト膜のエッチング時に、プラズマがピンホールを通して位相シフト膜に到達し、位相シフト膜にもピンホール欠陥が形成されてしまう。この場合、正常な位相シフトマスクを製造することができない。
(【0011】以降は省略されています)
この特許をJ-PlatPat(特許庁公式サイト)で参照する
関連特許
信越化学工業株式会社
化粧料
1か月前
信越化学工業株式会社
電磁波遮蔽部材
1か月前
信越化学工業株式会社
炭化金属被覆材料
9日前
信越化学工業株式会社
硬化性樹脂組成物
1日前
信越化学工業株式会社
コーティング剤組成物
今日
信越化学工業株式会社
熱軟化性熱伝導性組成物
1日前
信越化学工業株式会社
光ファイバ母材の製造方法
29日前
信越化学工業株式会社
複合基板およびその製造方法
1か月前
信越化学工業株式会社
非晶質固体分散体を含む複合物
1か月前
信越化学工業株式会社
ガラスクロス及びその製造方法
1日前
信越化学工業株式会社
オルガノポリシロキサンを含む冷媒
14日前
信越化学工業株式会社
オルガノポリシロキサンを含む冷媒
14日前
信越化学工業株式会社
光ファイバ用多孔質母材の製造装置
29日前
信越化学工業株式会社
オルガノポリシロキサンを含む冷媒
14日前
信越化学工業株式会社
縮合硬化型熱伝導性シリコーン組成物
今日
信越化学工業株式会社
レジスト組成物及びパターン形成方法
1か月前
信越化学工業株式会社
室温硬化性オルガノポリシロキサン組成物
1か月前
信越化学工業株式会社
酸化物単結晶複合基板およびその製造方法
1か月前
信越化学工業株式会社
熱伝導性シリコーン組成物及びその硬化物
29日前
信越化学工業株式会社
熱伝導性シリコーン組成物及びその硬化物
16日前
信越化学工業株式会社
超音波カップリング材複合膜及び超音波検査方法
8日前
信越化学工業株式会社
熱伝導性シリコーン組成物、硬化物及び製造方法
1か月前
信越化学工業株式会社
含窒素多官能オルガノキシシラン化合物の製造方法
16日前
信越化学工業株式会社
オルガノポリシロキサン及びこれを含有する化粧料
21日前
信越化学工業株式会社
付加硬化型シリコーン粘着剤組成物およびその硬化物
1日前
信越化学工業株式会社
生体電極組成物、生体電極、及び生体電極の製造方法
今日
信越化学工業株式会社
フォトマスクブランク、及びフォトマスクの製造方法
今日
信越化学工業株式会社
熱伝導性シリコーン接着剤組成物及び熱伝導性複合体
1か月前
信越化学工業株式会社
キーパッド作製用シリコーンゴム組成物及びキーパッド
1か月前
信越化学工業株式会社
型取り用シリコーンゴム組成物およびシリコーンゴム型
1か月前
信越化学工業株式会社
オルガノポリシロキサン及び光硬化性コーティング組成物
1日前
信越化学工業株式会社
環状アミノオルガノキシシラン化合物およびその製造方法
1か月前
信越化学工業株式会社
積層構造
1か月前
信越化学工業株式会社
オニウム塩、化学増幅レジスト組成物及びパターン形成方法
23日前
信越化学工業株式会社
化学増幅ポジ型レジスト組成物及びレジストパターン形成方法
今日
信越化学工業株式会社
付加硬化型シリコーン組成物、その硬化物、及び光半導体装置
今日
続きを見る
他の特許を見る