TOP
|
特許
|
意匠
|
商標
特許ウォッチ
Twitter
他の特許を見る
公開番号
2025174149
公報種別
公開特許公報(A)
公開日
2025-11-28
出願番号
2024080252
出願日
2024-05-16
発明の名称
摺動試験機及び摺動試験方法
出願人
株式会社リケン
,
学校法人五島育英会
代理人
個人
,
個人
,
個人
,
個人
主分類
G01N
19/02 20060101AFI20251120BHJP(測定;試験)
要約
【課題】水素ガス環境下における所望の部材の摺動性を容易に評価することができる摺動試験機及び摺動試験方法を提供する。
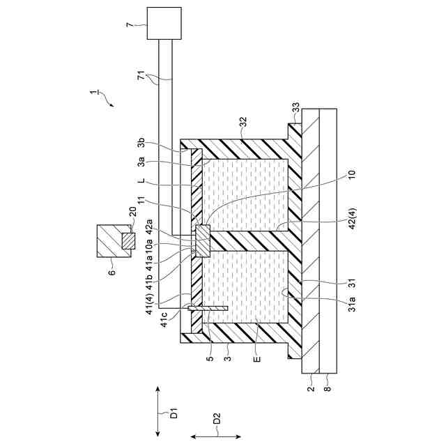
【解決手段】摺動試験機1は、電解液Eを貯留する容器3と、電解液Eに浸漬される電極5と、電解液Eに浸漬される第1部材10を、第1部材10の摺動面10aが電解液Eの液面Lから露出した状態で保持する第1保持部4と、第2部材20を保持する第2保持部6と、電極5が陽極として機能し且つ第1部材10が陰極として機能するように、電極5と第1部材10との間に電圧を印加する電圧印加部7と、第1部材10の摺動面10aに対して第2部材20が摺動させられるように、第1保持部4を動作させる駆動部8と、を備える。
【選択図】図1
特許請求の範囲
【請求項1】
電解液を貯留する容器と、
前記電解液に浸漬される電極と、
前記電解液に浸漬される第1部材を、前記第1部材の摺動面が前記電解液の液面から露出した状態で保持する第1保持部と、
第2部材を保持する第2保持部と、
前記電極が陽極として機能し且つ前記第1部材が陰極として機能するように、前記電極と前記第1部材との間に電圧を印加する電圧印加部と、
前記第1部材の前記摺動面に対して前記第2部材が摺動させられるように、前記第1保持部及び前記第2保持部の少なくとも一方を動作させる駆動部と、を備える、摺動試験機。
続きを表示(約 420 文字)
【請求項2】
前記第1保持部は、前記容器の開口を覆う蓋体を含み、
前記蓋体は、前記摺動面を外部に露出させる貫通孔を有する、請求項1に記載の摺動試験機。
【請求項3】
前記第1保持部は、前記容器の底面に設けられた支柱を含み、
前記支柱は、前記第1部材が載置される載置面を有する、請求項1又は2に記載の摺動試験機。
【請求項4】
電解液を貯留した容器、及び前記電解液に浸漬された電極を用意し、前記電解液に浸漬された第1部材を、前記第1部材の摺動面が前記電解液の液面から露出した状態で保持する工程と、
前記電極が陽極として機能し且つ前記第1部材が陰極として機能するように、前記電極と前記第1部材との間に電圧を印加しつつ、前記第1部材の前記摺動面に対して第2部材が摺動させられるように、前記第1部材及び前記第2部材の少なくとも一方を動作させる工程と、を備える、摺動試験方法。
発明の詳細な説明
【技術分野】
【0001】
本発明は、摺動試験機及び摺動試験方法に関する。
続きを表示(約 1,900 文字)
【背景技術】
【0002】
特許文献1には、試験片に試験力を付与することで材料試験を行う材料試験機が記載されている。特許文献1に記載された材料試験機は、電気分解によって水素が発生する液体を貯留する貯留槽と、試験片が液体に浸漬された状態で試験片を支持する支持機構と、試験力が試験片に付与された状態で液体に電流を付与する電流付与機構と、を備えている。この材料試験機では、電気分解によって水素ガスが発生した液体中に試験片を浸漬させることで水素ガスを試験片に供給しつつ、材料試験が実施される。
【先行技術文献】
【特許文献】
【0003】
特開2020-046283号公報
【発明の概要】
【発明が解決しようとする課題】
【0004】
水素エンジン等においては、エンジンに用いられる部材が水素ガスと接触する可能性がある。このため、水素ガス環境下における部材の摺動性を評価するための摺動試験の実現が望まれる。部材への水素ガスの添加方法としては、上述した材料試験機に用いられる陰極電界水素チャージ法が考えられるが、部材の全部が電解液に浸漬される陰極電界水素チャージ法では、摺動試験を実施することが困難である。
【0005】
本発明は、水素ガス環境下における所望の部材の摺動性を容易に評価することができる摺動試験機及び摺動試験方法を提供することを目的とする。
【課題を解決するための手段】
【0006】
本発明の摺動試験機は、[1]「電解液を貯留する容器と、前記電解液に浸漬される電極と、前記電解液に浸漬される第1部材を、前記第1部材の摺動面が前記電解液の液面から露出した状態で保持する第1保持部と、第2部材を保持する第2保持部と、前記電極が陽極として機能し且つ前記第1部材が陰極として機能するように、前記電極と前記第1部材との間に電圧を印加する電圧印加部と、前記第1部材の前記摺動面に対して前記第2部材が摺動させられるように、前記第1保持部及び前記第2保持部の少なくとも一方を動作させる駆動部と、を備える、摺動試験機」である。
【0007】
上記[1]に記載の摺動試験機では、第1保持部が、電解液に浸漬される第1部材を、第1部材の摺動面が電解液の液面から露出した状態で保持する。これにより、第1部材の摺動面に対して第2部材を容易に摺動させることができる。また、電圧印加部が、電極が陽極として機能し且つ第1部材が陰極として機能するように、電極と第1部材との間に電圧を印加する。これにより、第1部材側で発生した水素ガスを、第1部材の摺動面に到達させることができる。この状態で、駆動部が第1保持部及び第2保持部の少なくとも一方を動作させることで、水素ガス環境下において、第1部材の摺動面に対して第2部材を摺動させることができる。したがって、上記[1]に記載の摺動試験機によれば、水素ガス環境下における所望の部材の摺動性を容易に評価することができる。
【0008】
本発明の摺動試験機は、[2]「前記第1保持部は、前記容器の開口を覆う蓋体を含み、前記蓋体は、前記摺動面を外部に露出させる貫通孔を有する、上記[1]に記載の摺動試験機」であってもよい。当該[2]に記載の摺動試験機によれば、摺動試験を実施している間に、電解液が容器から溢れるのを抑制することができる。また、蓋体の貫通孔を介して、第1部材の摺動面に対して第2部材を容易に摺動させることができる。
【0009】
本発明の摺動試験機は、[3]「前記第1保持部は、前記容器の底面に設けられた支柱を含み、前記支柱は、前記第1部材が載置される載置面を有する、上記[1]又は[2]に記載の摺動試験機」であってもよい。当該[3]に記載の摺動試験機によれば、第1保持部が第1部材を安定的に保持することができる。したがって、第1部材の摺動面に対して第2部材を安定的に摺動させることができる。
【0010】
本発明の摺動試験方法は、[4]「電解液を貯留した容器、及び前記電解液に浸漬された電極を用意し、前記電解液に浸漬された第1部材を、前記第1部材の摺動面が前記電解液の液面から露出した状態で保持する工程と、前記電極が陽極として機能し且つ前記第1部材が陰極として機能するように、前記電極と前記第1部材との間に電圧を印加しつつ、前記第1部材の前記摺動面に対して第2部材が摺動させられるように、前記第1部材及び前記第2部材の少なくとも一方を動作させる工程と、を備える、摺動試験方法」である。
(【0011】以降は省略されています)
この特許をJ-PlatPat(特許庁公式サイト)で参照する
関連特許
株式会社リケン
遊星歯車機構
1か月前
株式会社リケン
摺動試験機及び摺動試験方法
2日前
株式会社リケン環境システム
電波吸収体及びその製造方法
2か月前
日本精機株式会社
検出装置
25日前
個人
採尿及び採便具
1か月前
個人
計量機能付き容器
20日前
個人
高精度同時多点測定装置
1か月前
個人
アクセサリー型テスター
1か月前
甲神電機株式会社
電流検出装置
25日前
株式会社カクマル
境界杭
10日前
日本精機株式会社
発光表示装置
3日前
株式会社ミツトヨ
測定器
1か月前
株式会社トプコン
測量装置
2日前
アズビル株式会社
電磁流量計
1か月前
大成建設株式会社
風洞実験装置
20日前
双庸電子株式会社
誤配線検査装置
26日前
大和製衡株式会社
組合せ計量装置
1か月前
日本特殊陶業株式会社
ガスセンサ
18日前
個人
システム、装置及び実験方法
1か月前
日本特殊陶業株式会社
ガスセンサ
2日前
愛知電機株式会社
軸部材の外観検査装置
1か月前
日本信号株式会社
距離画像センサ
23日前
長崎県
形状計測方法
1か月前
大和製衡株式会社
組合せ計量装置
1か月前
ローム株式会社
半導体装置
1か月前
個人
計量具及び計量機能付き容器
20日前
ローム株式会社
半導体装置
1か月前
個人
非接触による電磁パルスの測定方法
23日前
愛知時計電機株式会社
ガスメータ
1か月前
株式会社不二越
X線測定装置
23日前
株式会社デンソー
電流センサ
1か月前
日本特殊陶業株式会社
センサ
4日前
日東精工株式会社
振動波形検査装置
26日前
個人
液位検視及び品質監視システム
18日前
株式会社タイガーカワシマ
揚穀装置
2日前
トヨタ自動車株式会社
測定システム
1か月前
続きを見る
他の特許を見る