TOP
|
特許
|
意匠
|
商標
特許ウォッチ
Twitter
他の特許を見る
10個以上の画像は省略されています。
公開番号
2025173549
公報種別
公開特許公報(A)
公開日
2025-11-28
出願番号
2024079108
出願日
2024-05-15
発明の名称
物流システム、人員手配方法及びプログラム
出願人
東日本旅客鉄道株式会社
,
株式会社ジェイアール東日本物流
代理人
弁理士法人光陽国際特許事務所
主分類
G06Q
10/083 20240101AFI20251120BHJP(計算;計数)
要約
【課題】旅客列車を用いた荷物の輸送を円滑に行う。
【解決手段】物流システム1は、旅客列車を用いた荷物の輸送を行う物流システムであって、サーバ10は、所望の荷物を輸送する列車に関する列車情報と当該荷物に関する荷物情報とを取得する。また、サーバ10は、取得された列車情報と荷物情報とに基づいて、出発駅(出発拠点)で荷物を積み込む人員、及び、到着駅(到着拠点)で当該荷物を下ろす人員を手配する。
【選択図】図8
特許請求の範囲
【請求項1】
旅客列車を用いた荷物の輸送を行う物流システムであって、
所望の荷物を輸送する列車に関する列車情報と当該荷物に関する荷物情報とを取得する取得部と、
前記取得部により取得された前記列車情報と前記荷物情報とに基づいて、出発拠点で前記荷物を積み込む人員、及び/又は、到着拠点で当該荷物を下ろす人員を手配する手配部と、
を備えることを特徴とする物流システム。
続きを表示(約 1,700 文字)
【請求項2】
前記取得部は、
前記列車情報に変更が生じた場合、変更後の列車情報を再度取得し、
前記手配部は、
前記取得部により取得された前記変更後の列車情報と前記荷物情報とに基づいて、出発拠点で前記荷物を積み込む人員、及び/又は、到着拠点で当該荷物を下ろす人員を手配する、
ことを特徴とする請求項1に記載の物流システム。
【請求項3】
荷物の輸送を行う旅客列車群の運行ダイヤに変更が生じた場合に、当該変更後の運行ダイヤを取得するダイヤ取得部と、
前記ダイヤ取得部により取得された前記変更後の運行ダイヤに基づいて、当該運行ダイヤが変更された旅客列車群のなかに荷物を輸送中又は輸送予定の列車があるか否かを判定する判定部と、
前記判定部により荷物を輸送中又は輸送予定の列車があると判定された場合に、当該荷物の代替輸送ルートを検索する検索部と、
を備え、
前記手配部は、
前記検索部により検索された前記代替輸送ルートと前記荷物情報とに基づいて、前記人員を再手配する、
ことを特徴とする請求項1に記載の物流システム。
【請求項4】
前記手配部は、
前記荷物を輸送する途中に乗り換え拠点がある場合、更に、当該乗り換え拠点で前記荷物を下ろす人員、及び、当該乗り換え拠点で乗り換え先の列車に前記荷物を積み込む人員を手配する、
ことを特徴とする請求項1に記載の物流システム。
【請求項5】
前記取得部は、
前記到着拠点から前記荷物の納品先までの当該荷物の配送依頼に関する配送依頼情報を取得し、
前記手配部は、
前記取得部により前記配送依頼情報が取得された場合、前記到着拠点から前記荷物の納品先までの当該荷物の配送手段、及び、配送人員を手配する、
ことを特徴とする請求項1に記載の物流システム。
【請求項6】
前記取得部は、
前記出発拠点までの集荷の依頼に関する集荷依頼情報を取得し、
前記手配部は、
前記取得部により前記集荷依頼情報が取得された場合、前記出発拠点までの集荷手段、及び、集荷人員を手配する、
ことを特徴とする請求項1に記載の物流システム。
【請求項7】
旅客列車を用いた荷物の輸送を行う物流システムが実行する人員手配方法であって、
所望の荷物を輸送する列車に関する列車情報と当該荷物に関する荷物情報とを取得する取得工程と、
前記取得工程により取得された前記列車情報と前記荷物情報とに基づいて、出発拠点で前記荷物を積み込む人員、及び/又は、到着拠点で当該荷物を下ろす人員を手配する手配工程と、
を含むことを特徴とする人員手配方法。
【請求項8】
荷物の輸送を行う旅客列車群の運行ダイヤに変更が生じた場合に、当該変更後の運行ダイヤを取得するダイヤ取得工程と、
前記ダイヤ取得工程により取得された前記変更後の運行ダイヤに基づいて、当該運行ダイヤが変更された旅客列車群のなかに荷物を輸送中又は輸送予定の列車があるか否かを判定する判定工程と、
前記判定工程により荷物を輸送中又は輸送予定の列車があると判定された場合に、当該荷物の代替輸送ルートを検索する検索工程と、
を含み、
前記手配工程は、
前記検索工程により検索された前記代替輸送ルートと前記荷物情報とに基づいて、前記人員を再手配する、
ことを特徴とする請求項7に記載の人員手配方法。
【請求項9】
旅客列車を用いた荷物の輸送を行う物流システムのコンピュータを、
所望の荷物を輸送する列車に関する列車情報と当該荷物に関する荷物情報とを取得する取得手段、
前記取得手段により取得された前記列車情報と前記荷物情報とに基づいて、出発拠点で前記荷物を積み込む人員、及び/又は、到着拠点で当該荷物を下ろす人員を手配する手配手段、
として機能させることを特徴とするプログラム。
発明の詳細な説明
【技術分野】
【0001】
本発明は、物流システム、人員手配方法及びプログラムに関する。
続きを表示(約 1,400 文字)
【背景技術】
【0002】
従来、送り主によって駅に届けられた荷物を目的の駅まで列車などで輸送し、荷物が目的の駅に到着した後、受取人に連絡し、受取人が目的の駅で荷物を受け取るといった配送システムが開示されている(特許文献1参照)。
【先行技術文献】
【特許文献】
【0003】
特開2004-342051号公報
【発明の概要】
【発明が解決しようとする課題】
【0004】
しかしながら、上記特許文献1に開示されている配送システムでは、出発駅で荷物を積み込む作業員や到着駅(目的の駅)で荷物を下ろす作業員について何ら開示がなされていない。このため、荷物を輸送する列車の運行日時によっては上記の作業員の手配がつかず、場合によってはユーザにとって満足の行く配送が行われないおそれがある。
【0005】
本発明は、上記課題に鑑みてなされたもので、旅客列車を用いた荷物の輸送を円滑に行うことを目的とする。
【課題を解決するための手段】
【0006】
上記課題を解決するため、本発明の物流システムは、
旅客列車を用いた荷物の輸送を行う物流システムであって、
所望の荷物を輸送する列車に関する列車情報と当該荷物に関する荷物情報とを取得する取得部と、
前記取得部により取得された前記列車情報と前記荷物情報とに基づいて、出発拠点で前記荷物を積み込む人員、及び/又は、到着拠点で当該荷物を下ろす人員を手配する手配部と、
を備えることを特徴とする。
【発明の効果】
【0007】
本発明によれば、旅客列車を用いた荷物の輸送を円滑に行うことができる。
【図面の簡単な説明】
【0008】
物流システムの概略構成図である。
列車データベースの内容例を示す図である。
サーバの機能構成を示すブロック図である。
荷物管理テーブルの内容例を示す図である。
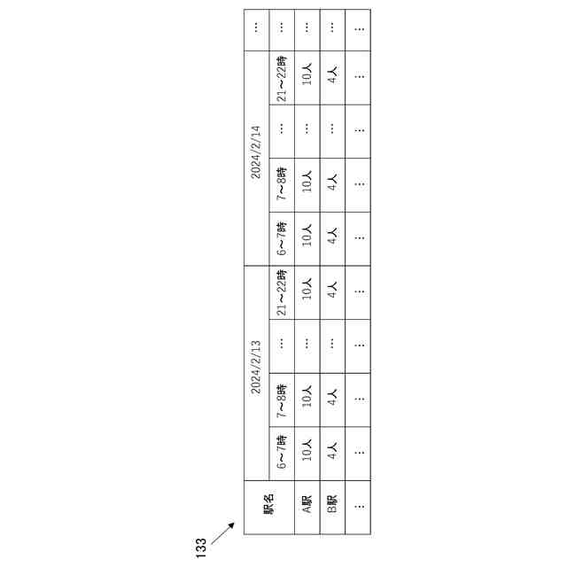
作業員数管理テーブルの内容例を示す図である。
輸送可能荷物管理テーブルの内容例を示す図である。
端末装置の機能構成を示すブロック図である。
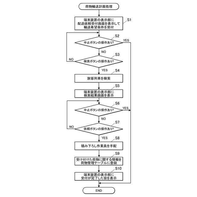
荷物輸送計画処理の制御手順を示すフローチャートである。
配送依頼受付画面の例を示す図である。
検索結果画面の例を示す図である。
検索結果画面の他の例を示す図である。
検索結果画面の他の例を示す図である。
代替輸送計画処理の制御手順を示すフローチャートである。
運行ダイヤ変更通知画面の例を示す図である。
代替輸送ルート検索結果画面の例を示す図である。
運行ダイヤ変更通知画面の他の例を示す図である。
代替輸送ルート検索結果画面の他の例を示す図である。
運行ダイヤ変更通知画面の他の例を示す図である。
代替輸送ルート検索結果画面の他の例を示す図である。
荷物管理テーブルの内容例を示す図である。
【発明を実施するための形態】
【0009】
以下、図面を参照して本発明の実施形態について説明する。ただし、発明の範囲は、図示例に限定されない。
【0010】
[物流システムの構成]
まず、図1を参照して、本実施形態の構成を説明する。図1は、本実施形態の物流システム1の概略構成図である。
(【0011】以降は省略されています)
この特許をJ-PlatPat(特許庁公式サイト)で参照する
関連特許
東日本旅客鉄道株式会社
軌道上設備の位置判定方法
今日
宮地エンジニアリング株式会社
防音壁
6日前
個人
詐欺保険
1か月前
個人
縁伊達ポイン
1か月前
個人
RFタグシート
1か月前
個人
職業自動販売機
27日前
個人
5掛けポイント
1か月前
個人
QRコードの彩色
2か月前
個人
ペルソナ認証方式
1か月前
個人
自動調理装置
1か月前
個人
情報処理装置
1か月前
個人
立体グラフの利用方法
6日前
個人
農作物用途分配システム
1か月前
個人
残土処理システム
2か月前
個人
生体情報の登録システム
今日
個人
データ復元システム
1日前
個人
タッチパネル操作指代替具
1か月前
個人
知的財産出願支援システム
2か月前
個人
サービス情報提供システム
29日前
NISSHA株式会社
入力装置
7日前
個人
インターネットの利用構造
1か月前
個人
学習用データ生成装置
8日前
個人
スケジュール調整プログラム
1か月前
個人
携帯端末障害問合せシステム
1か月前
個人
エリアガイドナビAIシステム
1か月前
個人
ナショナルブランド共同ストア
今日
キラル株式会社
顧客体験提供システム
9日前
エッグス株式会社
情報処理装置
1か月前
トヨタ自動車株式会社
通知装置
1か月前
キヤノン株式会社
印刷システム
1か月前
キヤノン株式会社
画像認識装置
21日前
株式会社ケアコム
項目選択装置
1か月前
キヤノン株式会社
情報処理装置
21日前
キヤノン株式会社
情報処理装置
21日前
株式会社ワコム
電子ペン
1か月前
株式会社ケアコム
項目選択装置
1か月前
続きを見る
他の特許を見る