TOP
|
特許
|
意匠
|
商標
特許ウォッチ
Twitter
他の特許を見る
公開番号
2025173496
公報種別
公開特許公報(A)
公開日
2025-11-27
出願番号
2025080392
出願日
2025-05-13
発明の名称
ウェアラブルコンピューティングデバイスの電力インターフェイスにおける錆の発生を最小限に抑える方法
出願人
グーグル エルエルシー
,
Google LLC
代理人
弁理士法人深見特許事務所
主分類
G06F
1/3203 20190101AFI20251119BHJP(計算;計数)
要約
【課題】ウェアラブルコンピューティングデバイスのバンドとハウジングとの間の電力インターフェイスにおける錆の発生を最小限に抑えるデバイス及び方法を提供する。
【解決手段】ウェアラブルコンピューティングデバイスは、ハウジング、回路を有するバンド、エネルギー蓄積デバイス、電力インターフェイス、スイッチングデバイス及びプロセッサを含む。プロセッサは、デバイスの状態を決定し、状態が所定の状態に対応し、且つデバイスの動きが検出された場合、特定の期間の検出窓を開始する。検出窓を開始することは、特定の期間中に回路に提供される電力の量を減少させ、それによって電力インターフェイスにおける錆の発生を最小限に抑えるために、エネルギー蓄積デバイスを電力インターフェイスに結合して、断続的な間隔でのみ回路に電力を提供するようにスイッチングデバイスの動作を制御する。
【選択図】図5
特許請求の範囲
【請求項1】
ウェアラブルコンピューティングデバイスであって、
ハウジングと、
回路を含むバンドと、
エネルギー蓄積デバイスと、
前記エネルギー蓄積デバイスから前記回路に電力を提供するように構成された電力インターフェイスと、
前記エネルギー蓄積デバイスを前記電力インターフェイスに選択的に結合するように構成されたスイッチングデバイスと、
プロセッサと、を含み、前記プロセッサは、
前記ウェアラブルコンピューティングデバイスの状態を決定することと、
前記状態が所定の状態に対応し、且つ前記ウェアラブルコンピューティングデバイスの動きが検出された場合、特定の期間の検出窓を開始することと、を行うように構成され、
前記検出窓を開始することは、前記特定の期間中に前記回路に提供される前記電力の量を減少させ、それによって前記電力インターフェイスにおける錆の発生を最小限に抑えるために、前記エネルギー蓄積デバイスを前記電力インターフェイスに結合して、断続的な間隔でのみ前記回路に前記電力を提供するように前記スイッチングデバイスの動作を制御することをさらに含む、ウェアラブルコンピューティングデバイス。
続きを表示(約 1,100 文字)
【請求項2】
前記所定の状態は、前記ハウジングがオフリストであり、前記バンドが前記ハウジングに取り付けられていることに対応する、請求項1に記載のウェアラブルコンピューティングデバイス。
【請求項3】
1つまたは複数のセンサをさらに含み、前記1つまたは複数のセンサは、少なくとも第1のセンサ及び第2のセンサを含む、請求項2に記載のウェアラブルコンピューティングデバイス。
【請求項4】
前記プロセッサは、前記第1のセンサから前記ウェアラブルコンピューティングデバイスの前記状態を示す第1の信号を受信するようにさらに構成される、請求項3に記載のウェアラブルコンピューティングデバイス。
【請求項5】
前記第1の信号は、前記ウェアラブルコンピューティングデバイスが前記所定の状態に対応することを示すとき、前記プロセッサは、前記第2のセンサから動き信号を受信するようにさらに構成され、前記動き信号は前記ウェアラブルコンピューティングデバイスの瞬間的動きイベントの存在または不在を示すように構成され、前記瞬間的動きイベントは、前記ウェアラブルコンピューティングデバイスのユーザが前記バンドを前記ハウジングに取り付けたり取り外したりしようと試みていることを表す、請求項4に記載のウェアラブルコンピューティングデバイス。
【請求項6】
前記プロセッサは、前記瞬間的動きイベントの前記存在を示す前記動き信号を前記プロセッサが受信したとき、前記特定の期間の前記検出窓を開始する、請求項5に記載のウェアラブルコンピューティングデバイス。
【請求項7】
前記プロセッサは、前記電力インターフェイスにおける錆の発生を最小限に抑えるために、前記検出窓の終了時に前記回路への前記電力の提供を停止するようにさらに構成される、請求項6に記載のウェアラブルコンピューティングデバイス。
【請求項8】
前記プロセッサは、前記検出窓中に1つまたは複数の追加の瞬間的動きイベントを受信すると、前記検出窓を延長するようにさらに構成される、請求項7に記載のウェアラブルコンピューティングデバイス。
【請求項9】
前記プロセッサは、前記検出窓を、前記特定の期間の複数の検出窓に分割するようにさらに構成される、請求項1に記載のウェアラブルコンピューティングデバイス。
【請求項10】
前記1つまたは複数のセンサは、光センサをさらに含み、前記バンドの前記回路は、前記光センサから受信したデータに少なくとも部分的に基づいて、前記ウェアラブルコンピューティングデバイスの休止状態を開始するように構成される、請求項3に記載のウェアラブルコンピューティングデバイス。
(【請求項11】以降は省略されています)
発明の詳細な説明
【技術分野】
【0001】
本開示は、一般的にウェアラブルコンピューティングデバイスに関する。より具体的には、本開示は、ウェアラブルコンピューティングデバイスのバンドとハウジングとの間の電力インターフェイスにおける錆の発生を最小限に抑えるデバイス及び方法に関する。
続きを表示(約 2,600 文字)
【背景技術】
【0002】
ウェアラブルコンピューティングデバイスは、ウェアラブルコンピューティングデバイスのハウジングに取り外し可能に結合できるバンドを介してユーザの手首に固定することができる。このように、バンドはウェアラブルコンピューティングデバイスのアクセサリとなることができる。例えば、ウェアラブルコンピューティングデバイスのハウジングに結合された第1のバンドは、ハウジングから取り外されることができ、第1のバンドとは異なる(例えば、色、材料など)第2のバンドがハウジングに結合され得る。
【0003】
ハウジングはまた、一般に、ウェアラブルコンピューティングデバイスの主電源を含み、バンドは、集積回路(IC)を含む。したがって、ハウジングがバンド内のICと通信しようとする場合、電源はICに電力を提供する必要がある。ただし、電源は、常にそのような電力を供給できるわけではなく、ユーザがバンドを取り付けるのを待つことになり、そうすることにより電力消費が無駄になり、バンドのICとハウジングとの間の電力接続が液体(例えば、発汗、または水泳による水没など)を含むかどうかは不明である。後者の場合、液体が存在すると、電力インターフェイスのコンポーネントに錆が発生する可能性がある。
【発明の概要】
【0004】
本開示の実施形態の態様及び利点は、以下の説明において部分的に示されるか、または説明から知ることができるか、または実施形態の実践を通じて知ることができる。
【0005】
一態様において、本開示はウェアラブルコンピューティングデバイスに向けられている。当該ウェアラブルコンピューティングデバイスは、ハウジング、回路を有するバンド、エネルギー蓄積デバイス、エネルギー蓄積デバイスから回路に電力を提供するように構成された電力インターフェイス、エネルギー蓄積デバイスを電力インターフェイスに選択的に結合するように構成されたスイッチングデバイス、及びプロセッサを含む。プロセッサは、ウェアラブルコンピューティングデバイスの状態を決定し、当該状態が所定の状態に対応し、且つウェアラブルコンピューティングデバイスの動きが検出された場合、特定の期間の検出窓を開始するように構成される。より具体的には、検出窓を開始することは、特定の期間中に回路に提供される電力の量を減少させ、それによって電力インターフェイスにおける錆の発生を最小限に抑えるために、エネルギー蓄積デバイスを電力インターフェイスに結合して、断続的な間隔でのみ回路に電力を提供するようにスイッチングデバイスの動作を制御することを含む。
【0006】
別の態様では、本開示は、ウェアラブルコンピューティングデバイスのバンドとハウジングとの間の電力インターフェイスにおける錆の発生を最小限に抑える方法に向けられている。当該方法は、ウェアラブルコンピューティングデバイスのプロセッサを介して、ウェアラブルコンピューティングデバイスの状態を決定することを含む。さらに、方法は、当該状態が所定の状態に対応し、且つウェアラブルコンピューティングデバイスの動きが検出された場合、プロセッサを介して、特定の期間の検出窓を開始することを含み、当該検出窓を開始することは、特定の期間中に回路に提供される電力の量を減少させ、それによって電力インターフェイスにおける錆の発生を最小限に抑えるために、ウェアラブルコンピューティングデバイスのエネルギー蓄積デバイスを電力インターフェイスに結合して、断続的な間隔でのみウェアラブルコンピューティングデバイスのバンド上の回路に電力を提供するようにウェアラブルコンピューティングデバイスのスイッチングデバイスの動作を制御することをさらに含む。
【0007】
本開示の様々な実施形態のこれら及び他の特徴、態様及び利点は、以下の説明及び添付の特許請求の範囲を参照して、よりよく理解されるようになる。本明細書に組み込まれ、本明細書の一部を構成する添付の図面は、本開示の例示的な実施形態を例示し、発明を実施するための形態と併せて、関連する原理を説明する役目を果たしている。
【0008】
当業者を対象にした実施形態の詳細な説明は、添付の図面を参照する本明細書に示されている。
【図面の簡単な説明】
【0009】
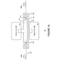
本開示のいくつかの実施態様による、ユーザの四肢に装着されるウェアラブルコンピューティングデバイスを示す。
本開示のいくつかの実施態様による、図1のウェアラブルコンピューティングデバイスの斜視図を示す。
本開示のいくつかの実施形態による、ウェアラブルコンピューティングデバイスのシステムのコンポーネントのブロック図を示す。
本開示のいくつかの実施形態による、ウェアラブルコンピューティングデバイスのシステムの電力インターフェイスを示す。
本開示のいくつかの実施形態による、ウェアラブルコンピューティングデバイスのバンドとハウジングとの間の電力インターフェイスにおける錆の発生を最小限に抑える方法を示す。
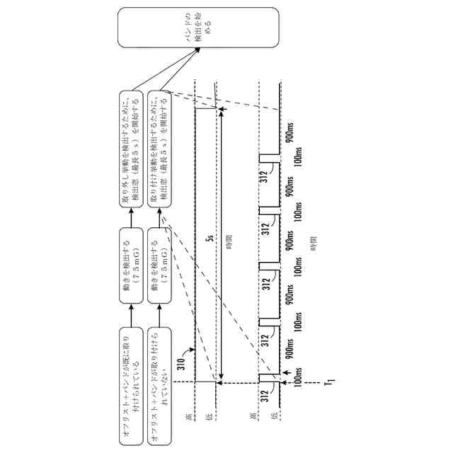
本開示のいくつかの実施形態による、ウェアラブルコンピューティングデバイスのバンドとハウジングとの間の電力インターフェイスにおける錆の発生を最小限に抑えるための方法の詳細を提供するフロー図及びグラフを示す。
本開示のいくつかの実施形態による、ウェアラブルコンピューティングデバイスの例示的なコンピューティングシステムのコンポーネントを示す。
【発明を実施するための形態】
【0010】
ここで本開示の実施形態を詳細に参照し、その例の1つまたは複数を図面に示す。各例は、本開示の説明として提供され、本開示を限定するものではない。実際、本開示の範囲または趣旨から逸脱することなく、本開示において様々な修正及び変形がなされ得ることが当業者には明らかである。例えば、1つの実施形態の一部として図示または説明されている特徴を、他の実施形態とともに使用して、さらに別の実施形態を生み出すことができる。したがって、本発明は、添付の特許請求の範囲及びそれらの均等物の範囲内に入るような修正及び変形を網羅することが意図されている。
(【0011】以降は省略されています)
この特許をJ-PlatPat(特許庁公式サイト)で参照する
関連特許
グーグル エルエルシー
ハードウェア生成鍵の暗号化
22日前
グーグル エルエルシー
イベントベースの記録
22日前
グーグル エルエルシー
折畳み携帯型表示デバイス
29日前
グーグル エルエルシー
ウェアラブルコンピューティングデバイスの電力インターフェイスにおける錆の発生を最小限に抑える方法
7日前
グーグル エルエルシー
可変粒度光ルーティングを伴うネットワークアーキテクチャ
1か月前
グーグル エルエルシー
自己注意ベースのニューラルネットワークを使用した画像処理
22日前
グーグル エルエルシー
複数のレーザの可変ビーム拡張を用いたディスプレイシステム
29日前
グーグル エルエルシー
ニューラルネットワーク計算を加速するためのハードウェア回路
16日前
グーグル エルエルシー
特定用途向け機械学習アクセラレータの生成およびグローバルなチューニング
1日前
グーグル エルエルシー
チャネル状態フィードバックにニューラルネットワークを使用した無線ネットワーク
1日前
個人
詐欺保険
1か月前
個人
縁伊達ポイン
1か月前
個人
RFタグシート
1か月前
個人
職業自動販売機
20日前
個人
5掛けポイント
27日前
個人
ペルソナ認証方式
1か月前
個人
QRコードの彩色
1か月前
個人
地球保全システム
2か月前
個人
情報処理装置
1か月前
個人
自動調理装置
1か月前
個人
冷凍食品輸出支援構造
3か月前
個人
為替ポイント伊達夢貯
3か月前
個人
農作物用途分配システム
1か月前
個人
残土処理システム
1か月前
個人
表変換編集支援システム
2か月前
個人
サービス情報提供システム
22日前
個人
タッチパネル操作指代替具
1か月前
NISSHA株式会社
入力装置
今日
個人
知的財産出願支援システム
1か月前
個人
知財出願支援AIシステム
3か月前
個人
インターネットの利用構造
1か月前
個人
携帯端末障害問合せシステム
1か月前
個人
パスワード管理支援システム
2か月前
個人
学習用データ生成装置
1日前
個人
スケジュール調整プログラム
1か月前
個人
行動時間管理システム
2か月前
続きを見る
他の特許を見る