TOP
|
特許
|
意匠
|
商標
特許ウォッチ
Twitter
他の特許を見る
公開番号
2025176028
公報種別
公開特許公報(A)
公開日
2025-12-03
出願番号
2025135192,2023568049
出願日
2025-08-14,2021-05-03
発明の名称
特定用途向け機械学習アクセラレータの生成およびグローバルなチューニング
出願人
グーグル エルエルシー
,
Google LLC
代理人
弁理士法人深見特許事務所
主分類
G06N
3/063 20230101AFI20251126BHJP(計算;計数)
要約
【課題】機械学習(ML)ハードウェアアクセラレータを生成およびグローバルにチューニングする方法、設計システム並びに記憶媒体を提供する。
【解決手段】方法は、ベースラインプロセッサ構成を表すアーキテクチャを選択し、MLコストモデルによって、少なくとも、アーキテクチャが、複数の層を含むニューラルネットワークの計算をどのように実行するかをモデリングすることで、アーキテクチャについての性能データを生成し、性能データに基づいて、アーキテクチャを、ニューラルネットワークを実装しかつ標的アプリケーションのための機械学習計算を実行するときに、性能目標を満たすようにダイナミックにチューンし、アーキテクチャをダイナミックにチューニングすることに応答して、システムは、ニューラルネットワークの複数の層の各々を実装するためのカスタマイズされたハードウェア構成を指定するMLアクセラレータの構成を生成する。
【選択図】図5
特許請求の範囲
【請求項1】
特定用途向け機械学習(ML)アクセラレータを生成するためのコンピュータが実行する方法であって、
ベースラインプロセッサ構成を表すアーキテクチャを選択するステップと、
MLコストモデルによって、少なくとも、前記アーキテクチャが、複数の層を含む第1のニューラルネットワークの計算をどのように実行するかをモデリングすることによって、前記アーキテクチャについての性能データを生成するステップと、
前記性能データに基づいて、前記アーキテクチャが前記第1のニューラルネットワークを実装しかつ標的アプリケーションのための機械学習計算を実行するときに性能目標を満たすために前記アーキテクチャをダイナミックにチューニングするステップと、
前記アーキテクチャをダイナミックにチューニングすることに応答して、前記第1のニューラルネットワークの前記複数の層の各々を実装するためのカスタマイズされたハードウェア構成を指定するMLアクセラレータの構成を生成するステップと、を含む、特定用途向け機械学習(ML)アクセラレータを生成するためのコンピュータが実行する方法。
続きを表示(約 1,800 文字)
【請求項2】
前記カスタマイズされたハードウェア構成に基づいて特定用途向けハードウェアMLアクセラレータを生成するステップをさらに含み、
前記特定用途向けハードウェアMLアクセラレータは、前記ニューラルネットワークが、前記標的アプリケーションのための計算を実行するために使用されるときに、前記ニューラルネットワークの異なる層の各々を実装するように最適化されている、請求項1に記載の方法。
【請求項3】
前記性能目標は、複数の別々の目標を含み、前記特定用途向けMLアクセラレータを生成するステップは、
前記特定用途向けハードウェアMLアクセラレータが前記標的アプリケーションのための計算を実行するときに、前記複数の別々の目標の各々の別々の目標を満たすように構成されている特定用途向けハードウェアMLアクセラレータを生成するステップを含む、請求項2に記載の方法。
【請求項4】
前記性能データを生成するステップは、
前記MLコストモデルによって、前記第1のニューラルネットワークの前記複数の層の各々の層を実行するために前記アーキテクチャの使用をモデリングするステップと、
各々の層を実行するために前記アーキテクチャの使用をモデリングすることに応答して、前記MLコストモデルによって、前記複数の層の各々のための前記アーキテクチャの性能パラメータを生成するステップと、を含む、請求項3に記載の方法。
【請求項5】
前記性能パラメータは、前記複数の別々の目標の各々の別々の目標に対応し、
前記複数の別々の目標は、しきい値処理レイテンシ、しきい値電力消費、しきい値データスループット、およびしきい値プロセッサ利用のうちの少なくとも1つを含む、請求項4に記載の方法。
【請求項6】
前記アーキテクチャをダイナミックにチューニングするステップは、
前記特定用途向けハードウェアMLアクセラレータに前記ハードウェアMLアクセラレータのハードウェア計算ユニットのしきい値パーセンテージを利用させる入力テンソルのための計算のマッピングを決定するステップと、
決定された前記マッピングに基づいて前記アーキテクチャをダイナミックにチューニングするステップと、を含む、請求項2に記載の方法。
【請求項7】
前記アーキテクチャをダイナミックにチューニングするステップは、
グローバルチューナの複数のMLコストモデルの各々によって実行されるオペレーションに基づいて前記アーキテクチャをダイナミックにチューニングするステップと、
前記グローバルチューナのランダムチューナまたはシミュレートされたアニーリングチューナのうちの少なくとも1つによって実行されるオペレーションに基づいて前記アーキテクチャをダイナミックにチューニングするステップと、を含む、請求項6に記載の方法。
【請求項8】
前記アーキテクチャは、集積回路の1つまたは複数のハードウェアブロックを表し、前記アーキテクチャをダイナミックにチューニングするステップは、
前記アーキテクチャが、前記標的アプリケーションのための計算を実行するために前記第1のニューラルネットワークを実装するときに、前記1つまたは複数のハードウェアブロックの各々のためのそれぞれの性能目標を満たすように前記アーキテクチャをダイナミックにチューニングするステップを含む、請求項6に記載の方法。
【請求項9】
前記ハードウェアMLアクセラレータの構成は、前記第1のニューラルネットワークのためのカスタマイズされたソフトウェア構成を指定し、
前記特定用途向けハードウェアMLアクセラレータを生成するステップは、前記カスタマイズされたハードウェア構成および前記カスタマイズされたソフトウェア構成に基づいて前記特定用途向けハードウェアMLアクセラレータを生成するステップを含む、請求項6に記載の方法。
【請求項10】
前記MLコストモデルは、1つまたは複数の個々の分析モデルを含むアーキテクチャ-アウェアコストモデルであり、
前記アーキテクチャ-アウェアコストモデルは、前記アーキテクチャを使用して処理されるデータの決定性データフローに基づいて前記アーキテクチャの性能を推定するように構成されている、請求項6に記載の方法。
(【請求項11】以降は省略されています)
発明の詳細な説明
【技術分野】
【0001】
背景
本明細書は、概して、機械学習計算を実行するために使用される集積回路に関する。
続きを表示(約 3,100 文字)
【背景技術】
【0002】
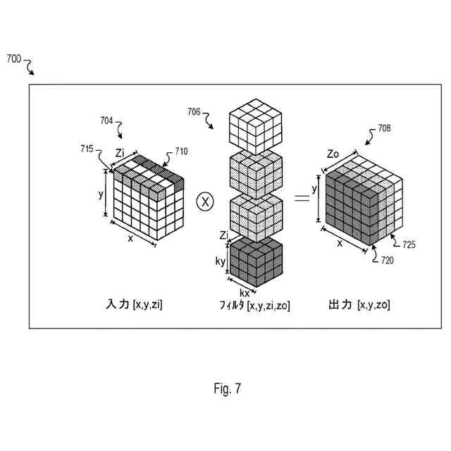
ニューラルネットワークは、受信された入力に対して出力、例えば、分類を生成するためにノードの1つまたは複数の層を使用する機械学習モデルである。幾つかのニューラルネットワークは、出力層に加えて1つまたは複数の隠れ層を含む。幾つかのニューラルネットワークは、画像処理のために構成された畳み込みニューラルネットワーク(CNN)または発話および言語処理のために構成されたリカレントニューラルネットワーク(RNN)であることができる。分類またはパターン認識、データモデリングを伴う予測、および情報クラスタリングに関する様々なタスクを実行するために異なるタイプのニューラルネットワークアーキテクチャを使用することができる。
【0003】
ニューラルネットワーク層は、パラメータまたは重みの対応するセットを有することができる。重みは、ニューラルネットワーク推論を計算するための層の対応する出力を生成するために、ニューラルネットワーク層を通じて入力(例えば、入力のバッチ)を処理するために使用される。入力のバッチおよびカーネルのセットは、入力および重みのテンソル、即ち多次元アレイとして表すことができる。ハードウェアアクセラレータは、ニューラルネットワークを実装するための専用集積回路である。回路は、回路の制御論理を使用してトラバースまたはアクセスされ得るテンソルの要素に対応するロケーションを有するメモリを含む。
【0004】
専用ハードウェアアクセラレータを設計することは、労力が大きく、時間がかかる。例えば、設計プロセスはしばしば、数か月の労力を必要とし、多数の設計反復を含むことができる。さらに、特定用途向け性能およびパワーターゲットを満たすために、設計プロセスは、基礎となるハードウェアにターゲットアプリケーションをマップするためのストラテジを必要とする。ニューラルネットワークの計算グラフはスタティックであるが、マッピング労力は、回路の実際の性能に影響する複数の設計パラメータを伴うことができる。また、設計空間のマニュアル探査はしばしば、異なるセッティングおよび異なるパラメータ間の相互関係の途方もない大きさにより法外である。
【発明の概要】
【0005】
概要
本明細書は、データ処理アーキテクチャをグローバルにチューニングし、チューンされたアーキテクチャに基づいて特定用途向け機械学習(ML)アクセラレータを自動的に生成するための技術を記載する。アーキテクチャは、アプリケーションレベル目的のセットに基づいて選択される候補アーキテクチャであることができる。例示的なアプリケーションレベル目標は、プロセッサ利用、電力消費、データスループット、およびレイテンシを含むことができる。幾つかの場合、目標は、例示的なMLアクセラレータのユーザの所望の性能属性を表す。目標のうちの幾つか(または全て)は、例示的なハードウェアアクセラレータ設計システムへのユーザ入力として受信されてよい。設計システムは、ユーザ入力から独立して目標の1つまたは複数を決定してもよい。
【0006】
システムは、候補アーキテクチャをグローバルにチューンしかつダイナミックに最適化するためにアプリケーションレベル目標(例えば、1つまたは複数の入力)を使用する。
例えば、アーキテクチャは、電力消費およびプロセッサ利用などのエリアにおける効率を実現するために特定のタイプのニューラルネットワークを動作させるためにチューンおよび最適化されてよい。アクセラレータ設計システムは、アーキテクチャの様々な態様をチューンするために特定アーキテクチャ向けコストモデルを使用する。コストモデルの出力は、アクセラレータの最終構成を規定するために使用される。最適化およびチューニングの後、システムは、ハードウェアにおいて特定のニューラルネットワークを実装するために最適化された特定用途向け(ML)アクセラレータを生成するために、スケジューリング/マッピングオプションを含む、様々なアーキテクチャフィーチャを含むハードウェア構成を自動的に生成する。
【0007】
本明細書に記載された主題の1つの態様は、特定用途向け機械学習(ML)アクセラレータを生成するための、コンピュータが実行する方法において具体化することができる。方法は、ベースラインプロセッサ構成を表すアーキテクチャを選択し、少なくとも、アーキテクチャが、複数の層を含む第1のニューラルネットワークの計算をどのように実行するかをモデリングすることによって、アーキテクチャについての性能データをMLコストモデルによって生成することを含む。方法は、性能データに基づいて、アーキテクチャが、第1のニューラルネットワークを実装しかつターゲットアプリケーションのための機械学習計算を実行するときに性能目標を満たすためにアーキテクチャをダイナミックにチューニングすることを含む。方法は、アーキテクチャをダイナミックにチューニングすることに応答してMLアクセラレータの構成を生成することも含む。構成は、第1のニューラルネットワークの複数の層のそれぞれを実装するためのカスタマイズされたハードウェア構成を指定する。
【0008】
これらの実装およびその他の実装はそれぞれ選択的に、以下の特徴のうちの1つまたは複数を含むことができる。例えば、幾つかの実装において、方法は、さらに、カスタマイズされたハードウェア構成に基づいて特定用途向けハードウェアMLアクセラレータを生成することを含む。加えて、特定用途向けハードウェアMLアクセラレータは、ニューラルネットワークが、目標アプリケーションのための計算を実行するために使用されるとき、ニューラルネットワークの異なる層のそれぞれを実装するように最適化されることができる。
【0009】
性能目標は、複数の別々の目標を含み、特定用途向けMLアクセラレータを生成することは、特定用途向けハードウェアMLアクセラレータが目標アプリケーションのための計算を実行するとき複数の別々の目標の各々の別々の目標を満たすように構成された特定用途向けハードウェアMLアクセラレータを生成することを含む。幾つかの実装において、性能データを生成することは、MLコストモデルによって、第1のニューラルネットワークの複数の層の各々の層を実行するためにアーキテクチャの使用をモデリングし、各々の層を実行するためにアーキテクチャの使用をモデリングすることに応答して、MLコストモデルによって、複数の層の各々のアーキテクチャの性能パラメータを生成することを含む。
【0010】
性能パラメータは、複数の別々の目標の各々の別々の目標に対応することができ、複数の別々の目標は、しきい値処理レイテンシ、しきい値電力消費、しきい値データスループット、およびしきい値プロセッサ利用のうちの少なくとも1つを含む。幾つかの実装において、アーキテクチャをダイナミックにチューニングすることは、特定用途向けハードウェアMLアクセラレータにハードウェアMLアクセラレータのユニットを計算するハードウェアのしきい値パーセンテージを利用させる入力テンソルのための計算のマッピングを決定し、決定されたマッピングに基づいてアーキテクチャをダイナミックにチューニングすることを含む。
(【0011】以降は省略されています)
この特許をJ-PlatPat(特許庁公式サイト)で参照する
関連特許
グーグル エルエルシー
ハードウェア生成鍵の暗号化
22日前
グーグル エルエルシー
イベントベースの記録
22日前
グーグル エルエルシー
折畳み携帯型表示デバイス
29日前
グーグル エルエルシー
ウェアラブルコンピューティングデバイスの電力インターフェイスにおける錆の発生を最小限に抑える方法
7日前
グーグル エルエルシー
自己注意ベースのニューラルネットワークを使用した画像処理
22日前
グーグル エルエルシー
ニューラルネットワーク計算を加速するためのハードウェア回路
16日前
グーグル エルエルシー
特定用途向け機械学習アクセラレータの生成およびグローバルなチューニング
1日前
グーグル エルエルシー
チャネル状態フィードバックにニューラルネットワークを使用した無線ネットワーク
1日前
個人
詐欺保険
1か月前
個人
縁伊達ポイン
1か月前
個人
職業自動販売機
20日前
個人
5掛けポイント
27日前
個人
RFタグシート
1か月前
個人
QRコードの彩色
1か月前
個人
地球保全システム
2か月前
個人
ペルソナ認証方式
1か月前
個人
情報処理装置
1か月前
個人
自動調理装置
1か月前
個人
農作物用途分配システム
1か月前
個人
残土処理システム
1か月前
個人
サービス情報提供システム
22日前
個人
タッチパネル操作指代替具
1か月前
個人
インターネットの利用構造
1か月前
NISSHA株式会社
入力装置
今日
個人
知的財産出願支援システム
1か月前
個人
携帯端末障害問合せシステム
1か月前
個人
学習用データ生成装置
1日前
個人
スケジュール調整プログラム
1か月前
個人
食品レシピ生成システム
2か月前
個人
海外支援型農作物活用システム
2か月前
個人
エリアガイドナビAIシステム
1か月前
株式会社キーエンス
受発注システム
2か月前
株式会社キーエンス
受発注システム
2か月前
株式会社キーエンス
受発注システム
2か月前
個人
音声・通知・再配達UX制御構造
1か月前
個人
帳票自動生成型SaaSシステム
1か月前
続きを見る
他の特許を見る