TOP
|
特許
|
意匠
|
商標
特許ウォッチ
Twitter
他の特許を見る
公開番号
2025166005
公報種別
公開特許公報(A)
公開日
2025-11-05
出願番号
2025126498,2024513264
出願日
2025-07-29,2021-09-07
発明の名称
折畳み携帯型表示デバイス
出願人
グーグル エルエルシー
,
Google LLC
代理人
弁理士法人深見特許事務所
主分類
G09F
9/00 20060101AFI20251028BHJP(教育;暗号方法;表示;広告;シール)
要約
【課題】ディスプレイの視覚外観を改善する。
【解決手段】例示的ディスプレイアセンブリは、連続ディスプレイであって、折畳みデバイスの第1のアセンブリの内部表面に取り付けられ、かつ、該内部表面と実質的に共面の第1の剛性セグメント、折畳みデバイスの第2のアセンブリの内部表面に取り付けられ、かつ、該内部表面と実質的に共面の第2の剛性セグメント、一次可撓性セグメント、第2の剛性セグメントと一次可撓性セグメントとの間に配置された第3の剛性セグメント、および第1の剛性セグメントと一次可撓性セグメントとの間に配置された第4の剛性セグメントを含む連続ディスプレイと、連続ディスプレイに取り付けられた一次支持プレートと、第3の剛性セグメントに隣接する一次支持プレートに取り付けられた第1の補助支持プレートと、第4の剛性セグメントに隣接する一次支持プレートに取り付けられた第2の補助支持プレートとを含む。
【選択図】図4
特許請求の範囲
【請求項1】
内部表面および外部表面を有する第1のアセンブリと、
内部表面および外部表面を有する第2のアセンブリと、
前記第1のアセンブリの前記内部表面に取り付けられ、かつ、前記第1のアセンブリの前記内部表面と実質的に共面の第1の剛性セグメント、
前記第2のアセンブリの前記内部表面に取り付けられ、かつ、前記第2のアセンブリの前記内部表面と実質的に共面の第2の剛性セグメント、
一次可撓性セグメント、
前記第2の剛性セグメントと前記一次可撓性セグメントとの間に配置された第3の剛性セグメントであって、前記第2の剛性セグメントに対して関節接続することができる前記第3の剛性セグメント、および
前記第1の剛性セグメントと前記一次可撓性セグメントとの間に配置された第4の剛性セグメントであって、前記第1の剛性セグメントに対して関節接続することができる前記第4の剛性セグメント、
を含む連続ディスプレイと、
前記連続ディスプレイに取り付けられた一次支持プレートと、
前記連続ディスプレイの前記第3の剛性セグメントに隣接する前記一次支持プレートに取り付けられた第1の補助支持プレートと、
前記連続ディスプレイの前記第4の剛性セグメントに隣接する前記一次支持プレートに取り付けられた第2の補助支持プレートと、
を備える折畳みデバイス。
続きを表示(約 1,300 文字)
【請求項2】
前記折畳みデバイスが完全に開くと、前記第1の補助支持プレートの一部が前記一次可撓性セグメントを支持し、前記第2の補助支持プレートの一部が前記一次可撓性セグメントを支持する、請求項1に記載の折畳みデバイス。
【請求項3】
前記折畳みデバイスの折畳み軸に対して直角の特定の軸に沿った前記第1の補助支持プレートの寸法は、前記特定の軸に沿った前記第3の剛性セグメントの寸法より大きく、前記特定の軸に沿った前記第2の補助支持プレートの寸法は、前記特定の軸に沿った前記第4の剛性セグメントの寸法より大きい、請求項1または請求項2に記載の折畳みデバイス。
【請求項4】
前記第1の補助支持プレートを前記第3の剛性セグメントに隣接する前記一次支持プレートに取り付けるように構成された第1の両面テープと、
前記第2の補助支持プレートを前記第4の剛性セグメントに隣接する前記一次支持プレートに取り付けるように構成された第2の両面テープと、
をさらに備える、請求項1~請求項3のいずれかに記載の折畳みデバイス。
【請求項5】
前記一次支持プレートは、前記一次可撓性セグメント、前記第1の剛性セグメント、前記第2の剛性セグメント、前記第3の剛性セグメントおよび前記第4の剛性セグメントに取り付けられた単一の支持プレートを含み、前記単一の支持プレートは、前記セグメント同士の間の湾曲を許容するように構成される、請求項1~請求項4のいずれかに記載の折畳みデバイス。
【請求項6】
前記一次可撓性セグメントに取り付けられている前記単一の支持プレートの一部に取り付けられた保護膜をさらに備える、請求項5に記載の折畳みデバイス。
【請求項7】
前記保護膜は、前記第3の剛性セグメントに取り付けられている前記単一の支持プレートの一部、および前記第4の剛性セグメントに取り付けられている前記単一の支持プレー
トの一部にさらに取り付けられる、請求項6に記載の折畳みデバイス。
【請求項8】
セグメント同士の間の湾曲を許容するために、隣接するセグメント間の境界で前記一次支持プレートがエッチングおよび/または穿孔される、請求項5~請求項7のいずれかに記載の折畳みデバイス。
【請求項9】
前記一次可撓性セグメントに隣接する前記一次支持プレートのエッチングおよび/または穿孔の深さは、前記第1の剛性セグメントと前記第4の剛性セグメントとの間の境界における前記一次支持プレートのエッチングおよび/または穿孔の深さよりも深い、請求項8に記載の折畳みデバイス。
【請求項10】
前記第1のアセンブリに取り付けられ、かつ、前記折畳みデバイスが完全に開くと前記第1の補助支持プレートを支持するように構成された第1の折畳み式サポートプラットフォームと、
前記第2のアセンブリに取り付けられ、かつ、前記折畳みデバイスが完全に開くと前記第2の補助支持プレートを支持するように構成された第2の折畳み式サポートプラットフォームと、
をさらに備える、請求項1~請求項9のいずれかに記載の折畳みデバイス。
(【請求項11】以降は省略されています)
発明の詳細な説明
【背景技術】
【0001】
背景
ディスプレイを含むデバイスは表示デバイスと呼ぶことができる。一般に、可能な限りディスプレイのサイズ(例えば画像が表示される面積)を大きくすることが場合によっては望ましい。ディスプレイのサイズを大きくすることにより、場合によってはそのディスプレイを含んだデバイスが大きくなり、かつ、扱いにくくなる。例えば、より大きいディスプレイを有するデバイスは、ポケット、バッグ、等々にうまく入らないことがある。デバイスのサイズを不当に大きくすることなくディスプレイのサイズを大きくする1つの方法は、ディスプレイを折り畳む(例えば半分に)ことができるよう、デバイスを折畳み式にすることである。しかしながら折畳みディスプレイは、ディスプレイが曲がる部分で折目が付くことがある。
続きを表示(約 3,700 文字)
【発明の概要】
【発明が解決しようとする課題】
【0002】
概要
一般に、本開示の態様は、スパンがサポートされた折畳み式連続ディスプレイを含む折畳みデバイスを対象としている。折畳みデバイスは、少なくとも2つのアセンブリ(例えばパネル)と、それらのアセンブリを、デバイスが閉じていると見なされる折り畳まれた状態、およびデバイスが開いていると見なされる展開した状態にすることができるように構成された機構とを含むことができる。デバイスが展開した状態にある場合、ディスプレイを見ることができ、また、ディスプレイはすべてのアセンブリの内部表面の少なくとも一部を覆うことができる。したがってデバイスは、連続ディスプレイであると見なすことができる(すなわち、アセンブリ同士の間の境界を跨いでデバイスが連続しているため)。このような折畳みデバイスを利用することにより、デバイスは、折り畳まれた状態にある場合のデバイスの長さおよび/または幅を過度に大きくすることなく、比較的大きい長さおよび/または幅(例えば表示面積)を有するディスプレイを含むことができる。この方法によれば、大型スクリーン携帯型デバイスの「ポケット収納性」を改善することができる。
【0003】
しかしながら、いくつかの例では、アセンブリを動かすことができる機構のためのいくつかの設計は1つまたは複数の欠点をもたらし得る。例えばいくつかの設計では、デバイスが展開状態にある場合に、ディスプレイの大部分が支持されないか、あるいは不適切に支持されることになり得る。ディスプレイの支持されない部分、または不適切に支持される部分は、ディスプレイ中のスパン(すなわち半々のそれぞれの折畳みデバイスを接続しているディスプレイの一次可撓性セグメント)であり得る。十分な支持の欠乏、および繰り返される曲げを始めとする様々な要因により、スパン中に折目が形成され得る。このような折目は、望ましくない視覚外観および/または望ましくない触覚フィードバックをもたらし得るため、このような折目は場合によっては望ましくない。折目によってもたらされる視覚外観および触覚フィードバックは、明らかに折目の深さと相関し得る。したがって折目の深さを最小にすることが場合によっては望ましい。
【課題を解決するための手段】
【0004】
本開示の1つまたは複数の態様によれば、折畳みデバイスは、折畳みデバイスの連続ディスプレイのスパン(例えば折畳みデバイスの主アセンブリ同士の間のディスプレイの部分)に支持を提供するように構成された複数の支持プレートを含むことができる。例えば折畳みデバイスは、ほぼすべての連続ディスプレイを支持する一次支持プレート、および一次支持プレートに取り付けられた、スパンに追加支持を提供する2つの補助支持プレー
トを含むことができる。補助支持プレートを含むことにより、連続ディスプレイ中の折目の深さを浅くすることができる。この方法によれば、ディスプレイの視覚外観を改善することができ、および/または折目によってもたらされる触覚フィードバックを小さくすることができる。
【0005】
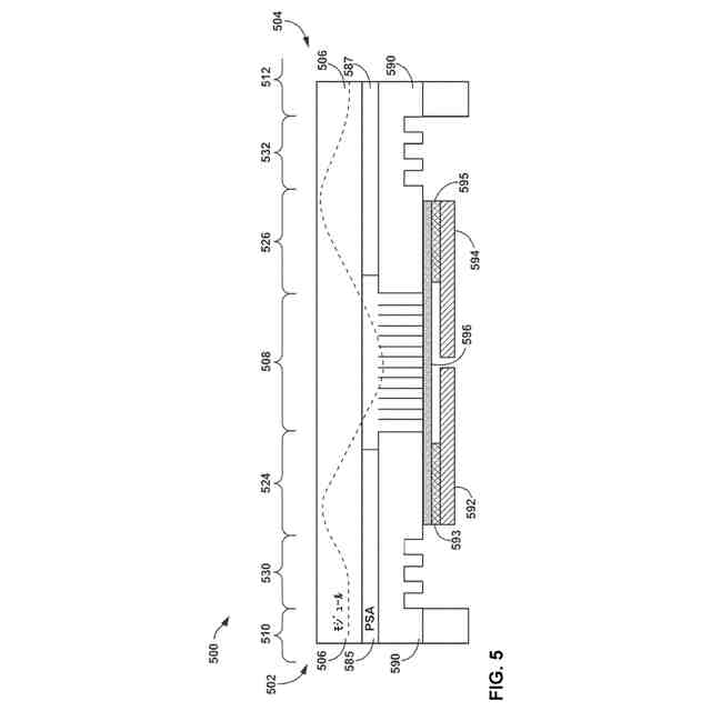
一例では、折畳みデバイスは、内部表面および外部表面を有する第1のアセンブリと、内部表面および外部表面を有する第2のアセンブリと、連続ディスプレイであって、第1のアセンブリの内部表面に取り付けられ、かつ、第1のアセンブリの内部表面と実質的に共面の第1の剛性セグメント、第2のアセンブリの内部表面に取り付けられ、かつ、第2のアセンブリの内部表面と実質的に共面の第2の剛性セグメント、一次可撓性セグメント、第2の剛性セグメントと一次可撓性セグメントとの間に配置された第3の剛性セグメントであって、第2の剛性セグメントに対して関節接続することができる第3の剛性セグメント、および第1の剛性セグメントと一次可撓性セグメントとの間に配置された第4の剛性セグメントであって、第1の剛性セグメントに対して関節接続することができる第4の剛性セグメントを含む連続ディスプレイと、連続ディスプレイに取り付けられた一次支持プレートと、連続ディスプレイの第3の剛性セグメントに隣接する一次支持プレートに取り付けられた第1の補助支持プレートと、連続ディスプレイの第4の剛性セグメントに隣接する一次支持プレートに取り付けられた第2の補助支持プレートとを含む。
【0006】
別の例では、折畳みデバイスのディスプレイアセンブリは、連続ディスプレイであって、折畳みデバイスの第1のアセンブリの内部表面に取り付けられ、かつ、折畳みデバイスの第1のアセンブリの内部表面と実質的に共面の第1の剛性セグメント、折畳みデバイスの第2のアセンブリの内部表面に取り付けられ、かつ、折畳みデバイスの第2のアセンブリの内部表面と実質的に共面の第2の剛性セグメント、一次可撓性セグメント、第2の剛性セグメントと一次可撓性セグメントとの間に配置された第3の剛性セグメントであって、第2の剛性セグメントに対して関節接続することができる第3の剛性セグメント、および第1の剛性セグメントと一次可撓性セグメントとの間に配置された第4の剛性セグメントであって、第1の剛性セグメントに対して関節接続することができる第4の剛性セグメントを含む連続ディスプレイと、連続ディスプレイに取り付けられた一次支持プレートと、連続ディスプレイの第3の剛性セグメントに隣接する一次支持プレートに取り付けられた第1の補助支持プレートと、連続ディスプレイの第4の剛性セグメントに隣接する一次支持プレートに取り付けられた第2の補助支持プレートとを含む。
【0007】
添付の図面および以下の説明に、1つまたは複数の例についての詳細が示されている。本開示の他の特徴、目的および利点は、その説明および図面から、また、特許請求の範囲から明らかになるであろう。
【図面の簡単な説明】
【0008】
本開示の1つまたは複数の態様による、多重剛性セグメント可撓性ディスプレイを有する折畳みデバイスの断面を示す略図である。
本開示の1つまたは複数の態様による、多重剛性セグメント可撓性ディスプレイを有する折畳みデバイスの断面を示す略図である。
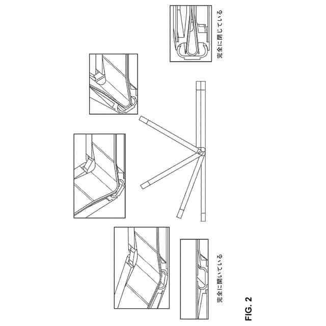
本開示の1つまたは複数の態様による、複数の折り畳まれた状態の可撓性ディスプレイを有する折畳みデバイスを示す略図である。
本開示の1つまたは複数の態様による、様々な位置にサポートプラットフォームを有する可撓性ディスプレイを有する折畳みデバイスの断面を示す略図である。
本開示の1つまたは複数の態様による、様々な位置にサポートプラットフォームを有する可撓性ディスプレイを有する折畳みデバイスの断面を示す略図である。
本開示の1つまたは複数の態様による、多重剛性セグメント可撓性ディスプレイを有する例示的折畳みデバイスの断面を示す略図である。
本開示の1つまたは複数の態様による、多重剛性セグメント可撓性ディスプレイを有する別の例示的折畳みデバイスの断面を示す略図である。
本開示の1つまたは複数の態様による、折畳みデバイスの支持プレートを示す略図である。
【発明を実施するための形態】
【0009】
詳細な説明
図1Aは、本開示の1つまたは複数の態様による、多重剛性セグメント可撓性ディスプレイを有する折畳みデバイスの断面を示す略図である。デバイス100の例は、折畳み式スマートフォン、折畳み式タブレット、折畳み式電子リーダ、折畳み式ゲーミングシステム、またはディスプレイを含む任意の他の折畳み式携帯型デバイスなどの折畳み式モバイルコンピューティングデバイスを含む。
【0010】
図1Aに示されているように、デバイス100は、第1のアセンブリ102、第2のアセンブリ104、連続ディスプレイ106およびヒンジアセンブリ122を含む。第1のアセンブリ102は、y-方向に第1の軸を画定している第1の軸116Aの周りに回転するように構成することができ、また、第2のアセンブリ104は、y-方向に第2の軸を画定している第2の軸116Bの周りに回転するように構成することができる。第1のアセンブリ102および第2のアセンブリ104の各々は、内部表面および外部表面を含むことができる。z-軸に沿ってデバイス100を見下ろすと、第1のアセンブリ102の外部表面を見ることができ、また、z-軸に沿ってデバイス100を見上げると、第2のアセンブリ104の外部表面を見ることができる。第1のアセンブリ102および第2のアセンブリ104の内部表面は、デバイス100が閉じていると、外からは見ることはできない。
(【0011】以降は省略されています)
この特許をJ-PlatPat(特許庁公式サイト)で参照する
関連特許
グーグル エルエルシー
ウェアラブルコンピューティングデバイスの電力インターフェイスにおける錆の発生を最小限に抑える方法
7日前
グーグル エルエルシー
ニューラルネットワーク計算を加速するためのハードウェア回路
16日前
グーグル エルエルシー
特定用途向け機械学習アクセラレータの生成およびグローバルなチューニング
1日前
グーグル エルエルシー
チャネル状態フィードバックにニューラルネットワークを使用した無線ネットワーク
1日前
個人
教育のAI化
27日前
個人
英語教材
1か月前
日本精機株式会社
表示装置
1か月前
日本精機株式会社
表示装置
2か月前
個人
計算用教具
2か月前
中国電力株式会社
標示旗
2か月前
個人
インフィニティミラー
28日前
日本精機株式会社
車両用表示装置
1か月前
日本精機株式会社
車両用センサ装置
2か月前
個人
微細構造を模した理科学習教材
1か月前
日榮新化株式会社
対象物質感知シート
27日前
ニチレイマグネット株式会社
サイン器具
1か月前
シャープ株式会社
表示装置
2か月前
株式会社ウメラボ
学習支援システム
1か月前
株式会社ウメラボ
学習支援システム
2か月前
朝日インテック株式会社
ラベルシート
1か月前
日本精機株式会社
表示装置及びその製造方法
1か月前
ニチレイマグネット株式会社
磁着式電飾装置
2か月前
リンテック株式会社
表示体
1か月前
シャープ株式会社
表示装置
1か月前
朝日インテック株式会社
生体モデル装置
1か月前
株式会社リコー
画像投射システム
2か月前
株式会社イリオスNOTO
シート保管具
1か月前
学校法人関西医科大学
腹腔鏡手術訓練装置
2か月前
国立大学法人秋田大学
運転シミュレータ
1か月前
ローム株式会社
半導体装置およびシステム
14日前
リンテック株式会社
粘着ラベル
1か月前
キヤノン株式会社
発光装置
2か月前
キヤノン株式会社
表示装置
6日前
キヤノン株式会社
表示装置
6日前
ローム株式会社
暗号化装置
1か月前
TOPPANホールディングス株式会社
ラベル
2か月前
続きを見る
他の特許を見る