TOP
|
特許
|
意匠
|
商標
特許ウォッチ
Twitter
他の特許を見る
10個以上の画像は省略されています。
公開番号
2025176021
公報種別
公開特許公報(A)
公開日
2025-12-03
出願番号
2025132257,2023579197
出願日
2025-08-07,2022-06-17
発明の名称
チャネル状態フィードバックにニューラルネットワークを使用した無線ネットワーク
出願人
グーグル エルエルシー
,
Google LLC
代理人
弁理士法人深見特許事務所
主分類
H04B
7/0417 20170101AFI20251126BHJP(電気通信技術)
要約
【課題】状況の変化に適応し、効率性の高い、堅牢なチャネル推定値プロセスを実装する方法及び装置を提供する。
【解決手段】無線システム(100)は、ディープニューラルネットワーク(DNN)(122、128)を使用して、基地局(BS)(108)とUE(110)との間のチャネル状態情報(CSI)推定値フィードバックを提供する。UEは、BSからのCSIパイロット信号伝達からCSI推定値(134)を決定する。CSI推定値はUEのDNNによって処理され、1つまたは複数の予測将来のCSI推定値を表すCSF出力(136)が生成されてBSに無線で送信される。次いで、BSの1つまたは複数のDNNは、受信したCSF出力を処理して、1つまたは複数の復元される将来の予測CSI推定値(138)を生成し、BSでの1つまたは複数のMIMOプロセスを制御するために使用する。
【選択図】図1
特許請求の範囲
【請求項1】
第1の装置におけるコンピュータが実装する方法であって、
前記第1の装置の少なくとも1つの能力を表す能力情報をインフラストラクチャコンポーネントに提供することに応答して、ニューラルネットワークアーキテクチャ構成の指示を受信するステップと、
前記第1の装置の送信ニューラルネットワークに前記ニューラルネットワークアーキテクチャ構成を実装するステップと、
チャネル状態情報(CSI)推定値の表現を前記送信ニューラルネットワークへの入力として受信するステップと、
前記送信ニューラルネットワークにおいて、前記CSI推定値の前記表現に基づいて第1の出力を生成するステップと、を含み、前記第1の出力は、将来の時点に対する前記CSI推定値の予測の前記表現の圧縮バージョンを表し、および
前記第1の装置の無線周波数(RF)アンテナインターフェースを制御して、第2の装置による受信のために前記第1の出力を表す第1のRF信号を送信するステップを含む、コンピュータが実装する方法。
続きを表示(約 1,600 文字)
【請求項2】
請求項1に記載の方法であって、
前記第2の装置から受信した1つまたは複数のRF信号に基づいて前記CSI推定値をアルゴリズム的に決定するステップをさらに含む、方法。
【請求項3】
前記第1の出力を生成するステップは、前記送信ニューラルネットワークへの入力として提供される前記第2の装置の多入力多出力(MIMO)プロセスのスケジューリング待ち時間の表現にさらに基づいて、前記送信ニューラルネットワークで前記第1の出力を生成するステップをさらに含む、請求項1に記載の方法。
【請求項4】
前記ニューラルネットワークアーキテクチャ構成は、前記スケジューリング待ち時間に基づいて、複数の候補ニューラルネットワークアーキテクチャ構成から前記送信ニューラルネットワーク用に選択される、請求項3に記載の方法。
【請求項5】
前記第1の出力を生成するステップは、前記第1の装置の1つまたは複数のセンサから前記送信ニューラルネットワークに入力されるセンサデータにさらに基づいて、前記送信ニューラルネットワークで前記第1の出力を生成するステップを含む、請求項1~請求項4のいずれかに記載の方法。
【請求項6】
前記第1の装置の受信ニューラルネットワークの入力としてCSIパイロット信号の表現を受信するステップと、および
前記受信ニューラルネットワークにおいて、前記CSIパイロット信号の前記表現に基づいて第2の出力を生成するステップと、をさらに含み、前記第2の出力は前記CSI推定値の前記表現を含む、請求項1~請求項5のいずれかに記載の方法。
【請求項7】
前記第2の出力を生成するステップは、前記第1の装置の1つまたは複数のセンサからのセンサデータ、または前記CSI推定値に関連付けられるチャネルの搬送波周波数のうちの少なくとも1つに基づいて、前記受信ニューラルネットワークで前記第2の出力を生成するステップをさらに含む、請求項6に記載の方法。
【請求項8】
第1の装置におけるコンピュータが実装する方法であって、
前記第1の装置の少なくとも1つの能力を表す能力情報をインフラストラクチャコンポーネントに提供することに応答して、ニューラルネットワークアーキテクチャ構成の指示を受信するステップと、
前記第1の装置の受信ニューラルネットワークに前記ニューラルネットワークアーキテクチャ構成を実装するステップと、
前記第1の装置の無線周波数(RF)アンテナインターフェースで、第2の装置から、予測将来のチャネル状態情報(CSI)推定値の圧縮表現を表す第1のRF信号を受信するステップと、
前記第1のRF信号の表現を前記受信ニューラルネットワークへの入力として提供するステップと、
前記受信ニューラルネットワークで、前記受信ニューラルネットワークへの前記入力に基づいて前記予測将来のCSI推定値を生成するステップと、および
前記予測将来のCSI推定値に基づいて、前記第1の装置で少なくとも1つの多入力多出力(MIMO)プロセスを管理するステップと、を含む、コンピュータが実装する方法。
【請求項9】
前記予測将来のCSI推定値を生成するステップは、さらに、前記受信ニューラルネットワークへの入力として提供される前記第1の装置の多入力多出力(MIMO)プロセスのスケジューリング待ち時間の表現にさらに基づいて、前記受信ニューラルネットワークで前記予測将来のCSI推定値を生成するステップを含む、請求項8に記載の方法。
【請求項10】
前記ニューラルネットワークアーキテクチャ構成は、前記スケジューリング待ち時間に基づいて、複数の候補ニューラルネットワークアーキテクチャ構成から前記受信ニューラルネットワークについて選択される、請求項9に記載の方法。
(【請求項11】以降は省略されています)
発明の詳細な説明
【背景技術】
【0001】
背景
無線通信システムは、多くの場合、パス損失、散乱、信号回折、透過損失などの、周波数に依存するいくつかの信号伝播の課題に遭遇する。高周波に依存する多くの無線送信方式であり、このようなシステムは、第3世代パートナーシップ(3GPP(登録商標))ロングタームエボリューション(LTE)および第5世代新無線(5G NR)セルラー規格、または特定の国際電子電気技術者(IEEE)802.11無線ローカルエリアネットワーク(WLAN)規格に準拠しており、このような信号伝播の課題を軽減するために、さまざまな多入力多出力(MIMO)技術を使用している。
続きを表示(約 5,700 文字)
【0002】
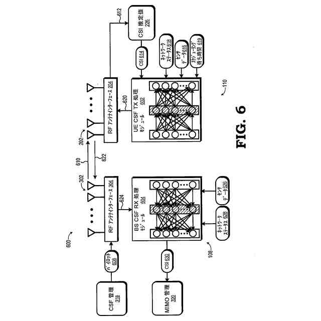
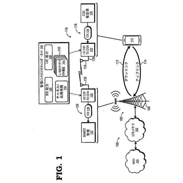
ビームフォーミング技術、時空間符号化技術、およびマルチユーザMIMO(MU-MIMO)技術などの多くのMIMO技術は、現在の信号伝播環境において、識別されるチャネルの1つまたは複数の対応する搬送波周波数で無線信号がどのように伝播するかを理解または特性評価することに依存し、または少なくとも、それらから利益を得る。通常、このチャネル推定値はチャネル状態情報(CSI)として提供される。CSIは多くの場合、1つまたは複数の行列の形式をとり、各行列エントリには、対応する搬送波周波数の伝達関数、より具体的にはチャネル周波数応答(CFR)を表す情報が記憶される。チャネルのCSIを決定するために、送信装置は、IEEE802.11ベースのシステムのロングトレーニングシンボル(LTF)などの1つまたは複数のCSIパイロットシンボルを受信装置に無線で送信し、次に、送信されるCSIパイロットシンボルの受信形式を使用して、1つまたは複数のCSIパイロットシンボルを送信するために使用される対応する搬送周波数についての少なくとも1つのCSI推定値を計算する。受信装置は、CSI推定値を利用して、特定のチャネルのMIMO受信プロセスを管理できる。このCSI推定値は、送信装置に無線で提供され、送信装置がそれに応じて1つまたは複数のMIMO送信プロセスを管理できるようにすることができる(このフィードバックプロセスは通常、「チャネル状態フィードバック」(CSF)と呼ばれる)。
【0003】
パイロットシンボルを送信し、受信したパイロットシンボルからCSI推定値を計算し、CSI推定値を送信装置に報告するプロセス全体は、通常、アルゴリズム、このプロセスの各ステップまたは段階が1人または複数の設計者によって個別に「手作り」されるモジュール式アプローチを介して実装される。各ステップの相対的な複雑さは、通常、プロセスのハード符号化される実装の設計、テスト、実装における相応の複雑さにつながる。さらに、受信装置でのCSI推定値の複雑なアルゴリズム計算は受信装置のリソースを大量に消費し得、一方、CSI推定値を一般的な形式で頻繁に無線送信すると、受信装置を送信装置に接続するチャネルの帯域幅を大量に消費し得る。したがって、状況の変化に高度に適応し、送信待ち時間の短縮とリソース消費の削減に向けて効率性の高い、堅牢なチャネル推定値プロセスを設計して実装することは困難な場合がある。
【発明の概要】
【0004】
実施形態の概要
いくつかの実施形態によれば、第1の装置におけるコンピュータが実装する方法は、第1の装置の少なくとも1つの能力を表す能力情報をインフラストラクチャコンポーネントに提供することに応答して、ニューラルネットワークアーキテクチャ構成の指示を受信するステップと、第1の装置の送信ニューラルネットワークにニューラルネットワークアーキテクチャ構成を実装するステップと、チャネル状態情報(CSI)推定値の表現を送信ニューラルネットワークへの入力として受信するステップと、送信ニューラルネットワー
クにおいて、CSI推定値の表現に基づいて第1の出力を生成するステップであって、第1の出力は、将来の時点に対するCSI推定値の予測の表現の圧縮バージョンを表す、ステップと、第1の装置の無線周波数(RF)アンテナインターフェースを制御して、第2の装置による受信のために第1の出力を表す第1のRF信号を送信するステップと、を含む。
【0005】
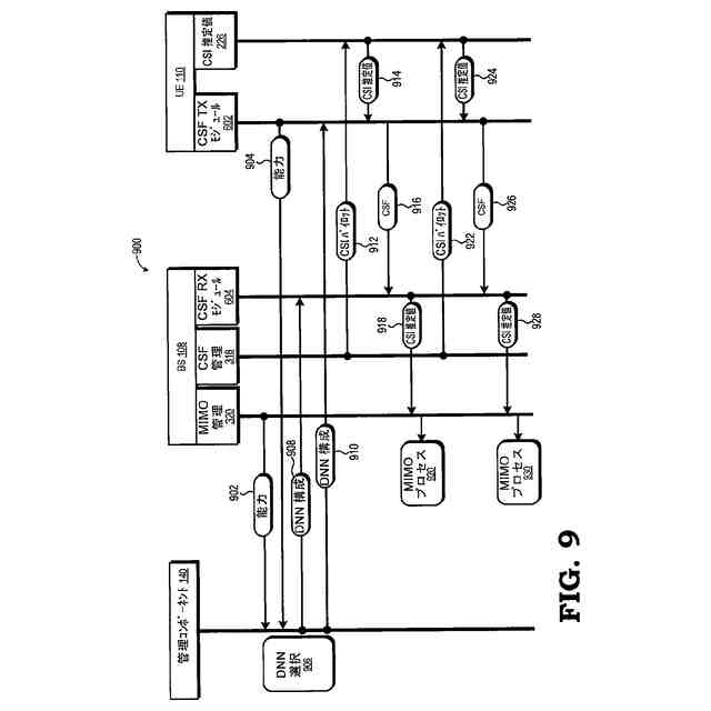
さまざまな実施形態において、この方法はさらに、以下の態様のうちの1つまたは複数を含むことができる。この方法はさらに、第2の装置から受信した1つまたは複数のRF信号に基づいてCSI推定値をアルゴリズム的に決定するステップを含む。第1の出力は、将来の時点のCSI推定値の予測(つまり、予測将来のCSI推定値)をさらに表す。第1の出力を生成するステップは、送信ニューラルネットワークへの入力として提供される第2の装置の多入力多出力(MIMO)プロセスのスケジューリング待ち時間の表現にさらに基づいて、送信ニューラルネットワークで第1の出力を生成するステップをさらに含む。送信ニューラルネットワークは、スケジューリング待ち時間の表現を入力として受信する。ニューラルネットワークアーキテクチャ構成は、スケジューリング待ち時間に基づいて、複数の候補ニューラルネットワークアーキテクチャ構成から送信ニューラルネットワーク用に選択される。能力情報によって表される少なくとも1つの能力には、アンテナ能力、処理能力、電力能力、またはセンサ能力のうちの少なくとも1つが含まれる。ニューラルネットワークアーキテクチャ構成は、以下の少なくとも1つに基づいて、複数のニューラルネットワークアーキテクチャ構成から選択される。第1の装置の少なくとも1つの能力、第2の装置の少なくとも1つの能力、CSI推定値によって表されるチャネルの周波数または帯域、または第1の装置の現在の信号伝播環境。第1の装置にローカルに記憶される複数の候補ニューラルネットワークアーキテクチャ構成のうちの1つに関連付けられる識別子を受信するステップと、または、ニューラルネットワークのアーキテクチャ構成のパラメータを表すデータを受信するステップとのうちの少なくとも1つを含むニューラルネットワークアーキテクチャ構成の指示を受信する。第1の出力を生成するステップは、送信ニューラルネットワークにおいて以下の少なくとも1つにさらに基づいて第1の出力を生成するステップを含む。第1の装置の1つまたは複数のセンサから送信ニューラルネットワークに入力されるセンサデータ、または、RFアンテナインターフェースの少なくとも1つの現在の動作パラメータ。この方法は、送信ニューラルネットワークの送信ニューラルネットワークアーキテクチャ構成と、第2の装置の受信ニューラルネットワークの受信ニューラルネットワークアーキテクチャ構成との共同トレーニングに参加するステップをさらに含む。この方法はまた、CSIパイロット信号の表現を第1の装置の受信ニューラルネットワークの入力として受信するステップと、受信ニューラルネットワークにおいて、CSIパイロット信号の表現に基づいて第2の出力を生成するステップであって、第2の出力はCSI推定値の表現を含む、ステップと、を含む。第2の出力を生成するステップは、以下のうちの少なくとも1つに基づいて受信ニューラルネットワークで第2の出力を生成するステップをさらに含む。第1の装置の1つまたは複数のセンサからのセンサデータ、CSI推定値に関連するチャネルの搬送波周波数、または、第1の装置のアンテナインターフェースの動作パラメータ。送信ニューラルネットワークはディープニューラルネットワーク(DNN)である。
【0006】
いくつかの実施形態によれば、第1の装置におけるコンピュータが実装する方法は、第1の装置の少なくとも1つの能力を表す能力情報をインフラストラクチャコンポーネントに提供することに応答して、ニューラルネットワークアーキテクチャ構成の指示を受信するステップと、第1の装置の受信ニューラルネットワークにニューラルネットワークアーキテクチャ構成を実装するステップと、第1の装置の無線周波数(RF)アンテナインターフェースで、第2の装置から、予測将来のチャネル状態情報(CSI)推定値の圧縮表現を表す第1のRF信号を受信するステップと、第1のRF信号の表現を受信ニューラルネットワークへの入力として提供するステップと、受信ニューラルネットワークで、受信
ニューラルネットワークへの入力に基づいて予測将来のCSI推定値を生成するステップと、予測将来のCSI推定値に基づいて、第1の装置で少なくとも1つの多入力多出力(MIMO)プロセスを管理するステップと、を含む。
【0007】
さまざまな実施形態において、この方法はさらに、以下の態様のうちの1つまたは複数を含むことができる。ニューラルネットワークアーキテクチャ構成は、以下の少なくとも1つに基づいて、複数のニューラルネットワークアーキテクチャ構成から選択される。第1の装置の少なくとも1つの能力、第2の装置の少なくとも1つの能力、予測将来のCSI推定値によって表されるチャネルの周波数または帯域、または第1の装置の現在の信号伝播環境。第1の装置にローカルに記憶される複数の候補ニューラルネットワークアーキテクチャ構成のうちの1つに関連付けられる識別子を受信するステップと、または、ニューラルネットワークのアーキテクチャ構成のパラメータを表す1つまたは複数のデータ構造を受信するステップとのうちの少なくとも1つを含むニューラルネットワークアーキテクチャ構成の指示を受信する。予測将来のCSI推定値を生成するステップは、受信ニューラルネットワークにおいて、さらに以下の少なくとも1つに基づいて予測将来のCSI推定値を生成するステップを含む。第1の装置の1つまたは複数のセンサから受信ニューラルネットワークに入力されるセンサデータ、またはRFアンテナインターフェースの現在の動作パラメータ。この方法はさらに、受信ニューラルネットワークのニューラルネットワークアーキテクチャ構成と、第2の装置の送信ニューラルネットワークのニューラルネットワークアーキテクチャ構成との共同トレーニングに参加するステップを含む。この方法はまた、第1の装置の送信ニューラルネットワークでCSIパイロット信号を生成するステップと、第1の装置のRFアンテナインターフェースを制御して、第2の装置による受信のためにCSIパイロット信号を表す第2のRF信号を送信するステップと、を含む。CSIパイロット信号を生成するステップは、さらに以下のうちの少なくとも1つに基づいて、送信ニューラルネットワークにおいてCSIパイロット信号を生成するステップを含む。予測将来のCSI推定値に関連するチャネルの搬送波周波数、または、第1の装置のRFアンテナインターフェースの少なくとも1つの動作パラメータ。CSIパイロット信号を生成するステップは、以下のうちの少なくとも1つに基づいて送信ニューラルネットワークでCSIパイロット信号を生成するステップをさらに含む。第1の装置の1つまたは複数のセンサからのセンサデータ、予測将来のCSI推定値に関連するチャネルの搬送波周波数、または、第1の装置のアンテナインターフェースの少なくとも1つの動作パラメータ。予測将来のCSI推定値を生成するステップは、送信ニューラルネットワークにおいて、以下の少なくとも1つに基づいて予測将来のCSI推定値を生成するステップをさらに含む。第1の装置の1つまたは複数のセンサからのセンサデータ、予測将来のCSI推定値に関連するチャネルの搬送波周波数、または、第1の装置のRFアンテナインターフェースの少なくとも1つの動作パラメータ。少なくとも1つのMIMOプロセスは、ビームフォーミングプロセス、時空符号化プロセス、およびマルチユーザMIMOプロセスのうちの少なくとも1つを含む。少なくとも1つの能力には、アンテナ能力、処理能力、電力能力、またはセンサ能力のうちの少なくとも1つが含まれる。受信ニューラルネットワークにはディープニューラルネットワーク(DNN)が含まれる。
【0008】
いくつかの実施形態によれば、コンピュータが実装する方法は、第1の装置または第2の装置のうちの少なくとも1つから能力情報を受信するステップであって、能力情報は、第1の装置または第2の装置のうちの対応する1つの装置の少なくとも1つの能力を表す、ステップと、能力情報に基づいて、セットの候補ニューラルネットワークアーキテクチャ構成から一対のニューラルネットワークアーキテクチャ構成を選択するステップであって、一対のニューラルネットワークアーキテクチャ構成は、第1の装置と第2の装置との間のチャネル状態情報(CSI)推定フィードバックプロセスを実装するために共同でトレーニングされる、ステップと、第1の装置の送信ニューラルネットワークでの実装のために、一対の第1のニューラルネットワークアーキテクチャ構成の第1の指示を第1の装
置に送信するステップと、第2の装置の受信ニューラルネットワークでの実装のために、一対の第2のニューラルネットワークアーキテクチャ構成の第2の指示を第2の装置に送信するステップと、を含む。さまざまな実施形態において、この方法はさらに、以下の態様のうちの1つまたは複数を含むことができる。少なくとも1つの能力には、アンテナ能力、処理能力、電力能力、またはセンサ能力のうちの少なくとも1つが含まれる。送信ニューラルネットワークおよび受信ニューラルネットワークは、各々ディープニューラルネットワーク(DNN)を含む。
【0009】
いくつかの実施形態では、装置は以下を含む。ネットワークインターフェースと、ネットワークインターフェースに結合される少なくとも1つのプロセッサと、実行可能命令は、少なくとも1つのプロセッサを操作して上記および本明細書に記載の方法のいずれかを実行するように構成されている、実行可能命令を記憶するメモリとを含む。
【0010】
添付の図面を参照することによって、本開示はよりよく理解され、その多くの特徴および利点が当業者に明らかになる。異なる図面での同じ参照符号の使用は、類似または同一の項目を示す。
【図面の簡単な説明】
(【0011】以降は省略されています)
この特許をJ-PlatPat(特許庁公式サイト)で参照する
関連特許
グーグル エルエルシー
ハードウェア生成鍵の暗号化
21日前
グーグル エルエルシー
イベントベースの記録
21日前
グーグル エルエルシー
折畳み携帯型表示デバイス
28日前
グーグル エルエルシー
ウェアラブルコンピューティングデバイスの電力インターフェイスにおける錆の発生を最小限に抑える方法
6日前
グーグル エルエルシー
自己注意ベースのニューラルネットワークを使用した画像処理
21日前
グーグル エルエルシー
ニューラルネットワーク計算を加速するためのハードウェア回路
15日前
グーグル エルエルシー
特定用途向け機械学習アクセラレータの生成およびグローバルなチューニング
今日
グーグル エルエルシー
チャネル状態フィードバックにニューラルネットワークを使用した無線ネットワーク
今日
個人
イヤーピース
26日前
個人
イヤーマフ
1か月前
個人
監視カメラシステム
1か月前
個人
スイッチシステム
1か月前
キーコム株式会社
光伝送線路
1か月前
サクサ株式会社
中継装置
1か月前
個人
スキャン式車載用撮像装置
1か月前
サクサ株式会社
中継装置
1か月前
WHISMR合同会社
収音装置
2か月前
キヤノン株式会社
撮像装置
5日前
アイホン株式会社
電気機器
2か月前
キヤノン株式会社
撮像装置
3か月前
ヤマハ株式会社
放音制御装置
1か月前
キヤノン電子株式会社
画像読取装置
2か月前
個人
ワイヤレスイヤホン対応耳掛け
2か月前
キヤノン電子株式会社
画像読取装置
26日前
サクサ株式会社
無線通信装置
1か月前
サクサ株式会社
無線通信装置
1か月前
キヤノン電子株式会社
画像読取装置
1か月前
個人
映像表示装置、及びARグラス
1か月前
株式会社リコー
画像形成装置
1か月前
サクサ株式会社
無線システム
1か月前
株式会社リコー
画像形成装置
3か月前
株式会社リコー
画像形成装置
3か月前
キヤノン電子株式会社
画像読取装置
1か月前
株式会社リコー
画像形成装置
3か月前
キヤノン株式会社
画像処理装置
29日前
キヤノン株式会社
撮像システム
2か月前
続きを見る
他の特許を見る