TOP
|
特許
|
意匠
|
商標
特許ウォッチ
Twitter
他の特許を見る
10個以上の画像は省略されています。
公開番号
2025165947
公報種別
公開特許公報(A)
公開日
2025-11-05
出願番号
2025116609,2024501813
出願日
2025-07-10,2022-07-08
発明の名称
複数のレーザの可変ビーム拡張を用いたディスプレイシステム
出願人
グーグル エルエルシー
,
Google LLC
代理人
弁理士法人深見特許事務所
主分類
G02B
27/02 20060101AFI20251028BHJP(光学)
要約
【課題】投影画像のクリッピングおよび明るさの損失を軽減する。
【解決手段】レーザ投影システム(200)において、光学エンジンによって出力された光は、2つの角度的に分離されたレーザ光ビーム(1002、1102)として第1の走査ミラー(206)に方向付ける。角度的に分離されたレーザ光ビームは、通常、光学スキャナの第2の走査ミラー(208)に対し異なる入射角(1010、1110)を有する。第1の次元において、それぞれ異なるレベルの拡大が角度的に分離されたレーザ光ビームの各々のビーム直径に適用され、角度的に分離されたレーザ光ビームは、第2の走査ミラーにおける入射時にそれぞれ異なるビーム直径(1012、1112)を有する。角度的に分離されたレーザ光ビームの異なるビーム直径により、第2の走査ミラーにおけるレーザ光ビームの各々の入射領域が等しくなるかまたは実質的に類似し得る。
【選択図】図1
特許請求の範囲
【請求項1】
レーザ投影システムであって、
第1のレーザ光ビームおよび第2のレーザ光ビームを受け取り、中継し、前記第1のレーザ光ビームおよび前記第2のレーザ光ビームにそれぞれ異なるレベルの拡大を適用して、第1の拡大レーザ光ビームおよび第2の拡大レーザ光ビームを生成するように構成された光中継器を備え、
前記第1のレーザ光ビームおよび前記第2のレーザ光ビームは角度的に分離され、前記第1の拡大レーザ光ビームおよび前記第2の拡大レーザ光ビームは前記光中継器内に走査され、
前記レーザ投影システムは、
前記光中継器から前記拡大された第1のレーザ光ビームおよび前記拡大された第2のレーザ光ビームを受け取るように構成された第1の走査ミラーをさらに備える、レーザ投影システム。
続きを表示(約 1,400 文字)
【請求項2】
前記第1の拡大レーザ光ビームおよび前記第2の拡大レーザ光ビームを前記光中継器内に走査するように構成された第2の走査ミラーをさらに備える、請求項1に記載のレーザ投影システム。
【請求項3】
前記光中継器は、
前記第1のレーザ光ビームに第1のレベルの拡大を適用するように構成された第1の反射面と、
前記第2のレーザ光ビームに第2のレベルの拡大を適用するように構成された第2の反射面と、
を備える、請求項1または請求項2に記載のレーザ投影システム。
【請求項4】
前記光中継器はモールド型反射性中継器であり、前記第1の反射面は前記モールド型反射性中継器の第1の反射面であり、前記第2の反射面は前記モールド型反射性中継器の第2の反射面である、請求項3に記載のレーザ投影システム。
【請求項5】
前記第1の拡大レーザ光ビームは前記第1の走査ミラーに対する第1の入射領域を有し、前記第2の拡大レーザ光ビームは前記第1の走査ミラーに対する第2の入射領域を有し、前記第1の入射領域は前記第2の入射領域と面積が実質的に類似している、請求項1~請求項4のいずれかに記載のレーザ投影システム。
【請求項6】
前記第1の走査ミラーは、第1の入射角で前記第1の拡大レーザ光ビームを受け取り、第2の入射角で前記第2の拡大レーザ光ビームを受け取るように構成され、前記第1の入射角は前記第2の入射角とは異なる、請求項5に記載のレーザ投影システム。
【請求項7】
前記第1の入射領域および前記第2の入射領域はそれぞれ、前記第1の走査ミラーの反射面によって結合される、請求項5に記載のレーザ投影システム。
【請求項8】
請求項1~請求項7のいずれかに記載のレーザ投影システムを備えるニアアイディスプレイであって、
前記レーザ投影システムの少なくとも一部分を含む眼鏡フレームと、
眼鏡レンズとをさらに備え、
前記レーザ投影システムは、前記眼鏡レンズの少なくとも一部分を通して前記第1のレーザ光ビームおよび前記第2のレーザ光ビームを出力するように構成される、ニアアイディスプレイ。
【請求項9】
ニアアイディスプレイであって、
レーザ投影システムを備え、前記レーザ投影システムは、
角度的に分離されたレーザ光ビームを受け取り、前記角度的に分離されたレーザ光ビームにそれぞれ異なるレベルの拡大を適用し、前記拡大された角度的に分離されたレーザ光ビームを中継するように構成された光中継器と、
前記光中継器から前記拡大された角度的に分離されたレーザ光ビームを受け取り、前記拡大された角度的に分離されたレーザ光ビームを走査するように構成された走査ミラーと、
を備える、ニアアイディスプレイ。
【請求項10】
前記角度的に分離されたレーザ光ビームは第1のレーザ光ビームおよび第2のレーザ光ビームを含み、前記光中継器は、
前記第1のレーザ光ビームに第1のレベルの拡大を適用するように構成された第1の反射面と、
前記第2のレーザ光ビームに第2のレベルの拡大を適用するように構成された第2の反射面と、
を備える、請求項9に記載のニアアイディスプレイ。
(【請求項11】以降は省略されています)
発明の詳細な説明
【背景技術】
【0001】
背景
いくつかのディスプレイシステムは、画像またはビデオを別の物体上にまたは別の物体を介して表示するために、光のパターンをその別の物体上に(例えば、投影画面上等、別の物体の表面上)に投影するかまたは照らす光学デバイスであるプロジェクタを用いる。光源としてレーザを用いるプロジェクタ(すなわち、「レーザプロジェクタ」)において、レーザプロジェクタによって生成されるレーザ光の各ビームは、時間的に変調され、レーザ光のパターンを提供し、デジタルマイクロミラー等の制御可能なミラーが、別の物体の2次元エリアにわたってレーザ光の変調パターンを空間的に分散させるために一般的に用いられる。レーザ光の変調パターンの空間分布は、この別の物体の画像を生成する。
続きを表示(約 5,700 文字)
【発明の概要】
【0002】
本開示は、添付の図面を参照することによって、より良好に理解することができ、その多数の特徴および利点が当業者に明らかとなる。異なる図面における同じ参照符号の使用は、類似のまたは同一のアイテムを示す。
【図面の簡単な説明】
【0003】
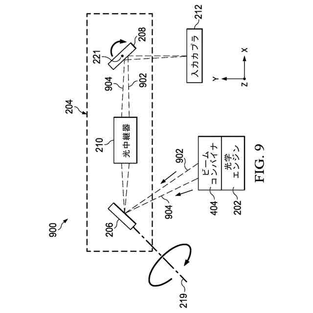
いくつかの実施形態による、一体化されたレーザ投影システムを有するディスプレイシステムを示す図である。
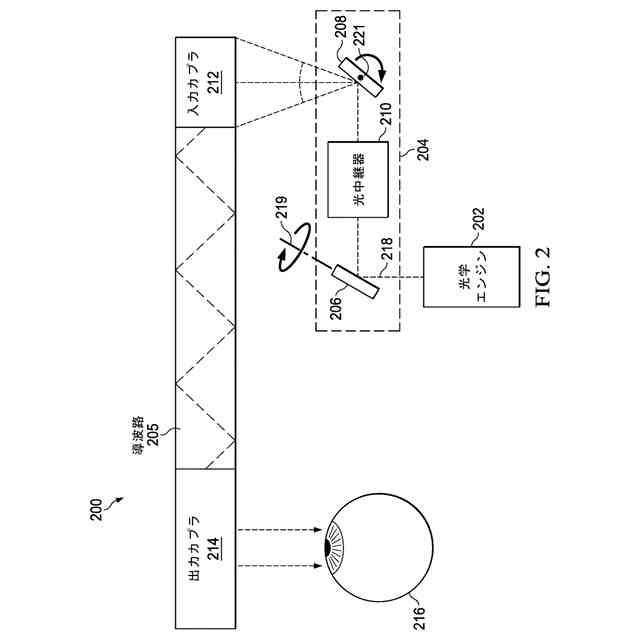
いくつかの実施形態による、2つの走査ミラー間に配設された光中継器を含む光学スキャナを有するレーザ投影システムを示す図である。
いくつかの実施形態による、入力カプラ、出力カプラおよび射出瞳拡張器を有する導波路を示す図である。
いくつかの実施形態による、2つの走査ミラー間に配設されたモールド型反射性中継器を含むレーザ投影システムを示す図である。
いくつかの実施形態による、2つの走査ミラー間に配設されたモールド型反射性中継器を含むレーザ投影システムを示し、モールド型反射性中継器を通る光路を示す図である。
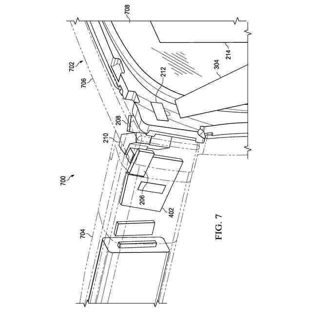
いくつかの実施形態による、レーザ投影システムを含むウェアラブルヘッドアップディスプレイ(WHUD)の部分透過図を示す図である。
いくつかの実施形態による、WHUD内に配設されたレーザ投影システムの部分透過前面等角図を示す図である。
いくつかの実施形態による、WHUD内に配設されたレーザ投影システムの部分透過背面等角図を示す図である。
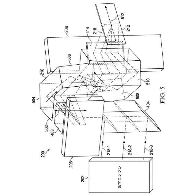
いくつかの実施形態による、一対の角度的に分離されたレーザが、光学スキャナを介してルーティングされ、入力カプラに入射する、レーザ投影システムの一部分の上面図を示す図である。
いくつかの実施形態による、レーザ光ビームが第2の走査ミラーの反射面において入射する、レーザ投影システムの一部分の上面図を示す図である。
いくつかの実施形態による、レーザ光ビームのビーム直径に依拠してレーザ光ビームの一部分が結果的に反射面を逃し得る角度で、レーザ光ビームが第2の走査ミラーの反射面に入射する、レーザ投影システムの一部分の上面図を示す図である。
いくつかの実施形態による、第1の大きさのビーム拡張が光中継器の第1の反射面によって第1のレーザ光ビームに適用される、レーザ投影システムの光学スキャナの上面図を示す図である。
いくつかの実施形態による、第2の大きさのビーム拡張が光中継器の第2の反射面によって第2のレーザ光ビームに適用される、レーザ投影システムの光学スキャナの上面図を示す図である。
いくつかの実施形態による、角度的に分離されたレーザ光ビームにそれぞれ異なるレベルの拡大をもたらす、図12の例の第1の反射面および図13の例の第2の反射面を含むレーザ投影システムの光学スキャナの上面図を示す図である。
【発明を実施するための形態】
【0004】
詳細な説明
図1~図14は、光中継器の異なる反射面によってそれぞれ異なる大きさのビーム拡張が適用される、複数の角度的に分離されたレーザ入力を有するニアアイディスプレイシステム(例えば、ウェアラブルヘッドアップディスプレイ(WHUD))または別のディスプレイシステムをコンパクトに配置するための実施形態を示す。本明細書に記載の技術を用いて、そのようなディスプレイシステムの2つ以上のレーザ入力(場合によっては、本明細書において「レーザ光ビーム」と呼ばれる)が互いに対し角度的に分離され、それによってこれらの2つ以上のレーザ光ビームは、互いに対し平行でも垂直でもなく、代わりに傾いた(すなわち、「角度的にオフセットされた」、「角度的に分離された」)光路に沿って伝播する。2つ以上のレーザ光ビームの角度分離に起因して、システムの光学スキャナの1つまたは複数の走査ミラーに対するそのようなレーザ光ビームのそれぞれの入射角は通常異なり、結果として、同じまたは類似のビーム直径を有するレーザ光ビームについて、そのような走査ミラーに対するレーザ光ビームのそれぞれ異なるサイズの入射領域が得られ、これはWHUDでの性能およびユーザ体験に影響を及ぼし得る。そのような角度的に分離された光ビームの入射領域のそれぞれの入射角および対応する面積の差を補うために、それぞれ異なるレベルのビーム拡張(すなわち、拡大)が、角度的に分離されたレーザ光ビームの各々に適用され、それによって、いくつかの実施形態では、光学スキャナの所与の走査ミラーにおける角度的に分離されたレーザ光ビームのそれぞれの入射領域の面積は、同じであるかまたは概ね同じである。
【0005】
さらに説明するために、いくつかの例において、走査ミラーの反射面よりも大幅に大きいかまたは小さい入射領域を有するレーザ光ビームを走査ミラー上に提供する。例えば、角度的に分離されたレーザ光ビームの一部分が走査ミラーの反射面を逃す結果として、ニアアイディスプレイシステムによって投影される画像の明るさが損失する。そうでなければ走査ミラーの反射面よりも大きな面積の入射領域を有することになる、角度的に分離されたレーザ光ビームの任意のレーザ光ビームに適用されるレベル拡大を低減することによって、画像の明るさを比較的高いレベルに維持することができる。別の例として、走査ミラーの反射面よりも小さな面積の入射領域を有するレーザ光ビームを提供する結果として、走査ミラーの反射面の過少利用、およびニアアイディスプレイの光学的分解能の対応する低減が生じる。そうでなければ走査ミラーの反射面よりも小さな面積の入射領域を有することになる、角度的に分離されたレーザ光ビームの任意のレーザ光ビームに適用される拡大のレベルを増大させることによって、反射面のこの過少利用が軽減される。
【0006】
本明細書に開示される技術のいくつかの実施形態において、ディスプレイシステムは、少なくとも2つの変調可能なレーザ光源を有する光学エンジンと、2つの走査ミラーと、光中継器と、導波路とを含むレーザ投影システムを含む。動作時に、少なくとも2つの変調可能なレーザ光源が、レーザ光(2つ以上の角度的に分離されたレーザ光ビームとして出力される)を提供し、2つの走査ミラーがレーザ光を順に受け取り、各々がそれぞれの方向にわたってレーザ光を走査する(例えば、第1の走査ミラーは、第1の次元に沿って光を走査し、第2の走査ミラーは第2の次元に沿って光を走査し、ここで、第2の次元は実質的に第1の次元と垂直であり得る)。導波路は入力カプラを含み、この入力カプラにおいて、走査されたレーザ光を第2の走査ミラーから受け取る。入力カプラは、導波路を通じて、いくつかの例では、介在する射出瞳拡張器(EPE)を介して、受け取った光を導波路の出力カプラに向けてリダイレクトし、光が導波路から出て(例えば、ユーザの眼
の上に)投影されるようにする。
【0007】
そのようなディスプレイシステムのいくつかの実施形態において、2つの角度的に分離されたレーザ光ビームは、(例えば、光学エンジンおよびビームコンバイナを介して)第1および第2の走査ミラーならびに光中継器を含む光学スキャナに出力される。ディスプレイシステムは、2つの角度的に分離されたレーザ光ビームのうちの第1のレーザ光ビームが第1の走査ミラーに入射し、第1の走査ミラーが、第1のレーザ光ビームを第1の走査次元に沿って光中継器の第1の反射面上に走査するように構成される。2つの角度的に分離されたレーザ光ビームの第2のレーザ光ビームは、第1の走査ミラーにも入射し、第1の走査ミラーが、第2のレーザ光ビームを第1の走査次元に沿って光中継器の第2の反射面上に走査する。第1の反射面は第1のレーザ光ビームを光中継器の第3の反射面に向けて方向付ける。第2の反射面は第2のレーザ光ビームを光中継器の第4の反射面に向けて方向付ける。第3の反射面は、第1のレーザ光ビームを第2の走査ミラーに向けて方向付け、第2の走査ミラーは、第1の走査次元に対し少なくとも実質的に垂直な第2の走査次元に沿って、導波路の入力カプラの第1の領域にわたって第1のレーザ光ビームを走査する。第4の反射面は、第2のレーザ光ビームを第2の走査ミラーに向けて方向付け、第2の走査ミラーは、第2の走査次元に沿って導波路の入力カプラの第2の領域にわたって第2のレーザ光ビームを走査する。いくつかの実施形態では、入力カプラの第1の領域は、入力カプラの第2の領域に部分的に重複する。
【0008】
いくつかの実施形態では、光中継器の第1および第2の反射面は、モールドされた光中継器の重複しない反射面である。いくつかの実施形態では、光中継器の第3および第4の反射面は、モールドされた光中継器の重複しない面である。いくつかの実施形態では、第1の反射面は、走査次元および第1のレーザ光ビームの伝播方向に垂直なまたは実質的に垂直な第1の「非走査」次元に沿って、第1の大きさを有する第1のレーザ光ビームのビーム直径を拡張する(場合によっては、本明細書において、ビーム拡張または拡大の実行と呼ばれる)。いくつかの実施形態では、第2の反射面は、走査次元および第2のレーザ光ビームの伝播方向に垂直なまたは実質的に垂直な第2の非走査次元に沿って、第2の大きさを有する第2のレーザ光ビームのビーム直径を拡張する。いくつかの実施形態では、第1の大きさは第2の大きさとは異なる。いくつかの実施形態では、第1の反射面は、第2の反射面の第2の光学的処方とは異なる光学的処方を有し、結果として、それぞれ第1および第2の非走査次元に沿って、第1の反射面によって第1のレーザ光ビームに、および第2の反射面によって第2のレーザ光ビームに、それぞれ異なる大きさのビーム拡張が適用される。
【0009】
一般的に、(走査ミラーのもの等の)表面に対する所与のレーザ光ビームの入射角がその表面に対する法線から逸れると、レーザ光ビームが入射する表面領域の面積が増大する。レーザ光ビームが入射する表面領域は、場合によっては、本明細書において「入射領域」と呼ばれる。レーザ投影システムの例において、所与のレーザ光ビームおよび所与の走査ミラーの入射領域が走査ミラーの反射面よりも大きい場合、反射面に入射しないレーザ光ビームの部分は、走査ミラーによって反射されず(場合によっては「クリッピング」または「アパーチャクリッピング」と呼ばれるシナリオ)、結果として、レーザ投影システムを用いて表示される画像の明るさが損失する。特に、入力として2つ以上の角度的に分離されたレーザ光ビームを利用する本開示のレーザ投影システムの実施形態において、各レーザ光ビームは、通常、第2の走査ミラーに対しそれぞれ異なる入射角を有することになり、結果として、第2の走査ミラーにおける入射領域がそれぞれ異なるサイズとなる。レーザ投影システムに入力されるレーザ光ビームの各々が最初に同じまたは実質的に同じビーム直径を有し、第2の走査ミラーに対しそれぞれ異なる入射角を有すると仮定すると、第2の走査ミラーに対するレーザ光ビームの入射領域は、光中継器の反射面を介してレーザ光ビームの各々のそれぞれの非走査次元に沿って同じレベル(すなわち大きさ)のビ
ーム拡張が適用される場合、異なるサイズを有することになり、非理想性を結果としてもたらす。例えば、レーザ光ビームの入射領域のうちの少なくとも1つが第2の走査ミラーの反射面のサイズを超える場合、望ましくないことに、投影画像のクリッピングおよび明るさの損失が結果として生じることになる。この明るさの損失は、第2の走査ミラーの反射面のものを超える(例えば、大幅に超える)それぞれの面積を有する入射領域を有する任意のレーザ光ビームに、低減されたレベルの拡大を代わりに適用することによって、軽減することができる。別の例として、レーザ光ビームのうちの少なくとも1つが、第2の走査ミラーの反射面よりも小さい(例えば、大幅に小さい)第2の走査ミラーにおける入射領域を有する場合、投影画像の光学的分解能は望ましくないことに低減されることになる。この光学的分解能の低減は、第2の走査ミラーの反射面よりも小さい(例えば、大幅に小さい)それぞれの面積を有する入射領域を有する任意のレーザ光ビームに、より大きなレベルの拡大を代わりに適用することによって、軽減することができる。
【0010】
上記で確認したように、それぞれ異なるレベルのビーム拡張を、それぞれの非走査次元に沿ってそのようなレーザ投影システムの角度的に分離されたレーザ光ビームに適用することによって(異なるレベルのビーム拡張は、例えば、それぞれ異なる光学的処方を有するそれぞれ異なる反射面を介して適用される)、第2の走査ミラーにおける角度的に分離されたレーザ光ビームの各々のそれぞれの入射領域のサイズを独立して選択することができる。例えば、それぞれの非走査次元に沿って第1および第2の角度的に分離されたレーザ光ビームにそれぞれ異なるレベルのビーム拡張を適用することによって(ここで、第1および第2の角度的に分離されたレーザ光ビームは、同じ初期ビーム直径と、第2の走査ミラーに対するそれぞれ異なる入射角を有する)、第1のレーザ光ビームの第1の入射領域は、第2のレーザ光ビームの第2の入射領域に等しいか概ね等しくなるように設定され、いくつかの実施形態では、第2の走査ミラーの反射面のサイズに等しいかまたは概ね等しくなるように設定される。
(【0011】以降は省略されています)
この特許をJ-PlatPat(特許庁公式サイト)で参照する
関連特許
グーグル エルエルシー
ハードウェア生成鍵の暗号化
22日前
グーグル エルエルシー
イベントベースの記録
22日前
グーグル エルエルシー
折畳み携帯型表示デバイス
29日前
グーグル エルエルシー
ベクトル量子化した画像モデリング
1か月前
グーグル エルエルシー
複数のポジティブ例を用いた教師あり対照学習
1か月前
グーグル エルエルシー
自動音声応答システム用の選択可能なコントロール
1か月前
グーグル エルエルシー
ウェアラブルコンピューティングデバイスの電力インターフェイスにおける錆の発生を最小限に抑える方法
7日前
グーグル エルエルシー
可変粒度光ルーティングを伴うネットワークアーキテクチャ
1か月前
グーグル エルエルシー
自己注意ベースのニューラルネットワークを使用した画像処理
22日前
グーグル エルエルシー
複数のレーザの可変ビーム拡張を用いたディスプレイシステム
29日前
グーグル エルエルシー
パッケージ検出の向上のための非対称のカメラセンサ位置決め
1か月前
グーグル エルエルシー
ニューラルネットワーク計算を加速するためのハードウェア回路
16日前
グーグル エルエルシー
特定用途向け機械学習アクセラレータの生成およびグローバルなチューニング
1日前
グーグル エルエルシー
チャネル状態フィードバックにニューラルネットワークを使用した無線ネットワーク
1日前
個人
立体像表示装置
1か月前
カンタツ株式会社
光学系
1か月前
住友化学株式会社
偏光板
1か月前
株式会社シグマ
結像光学系
1か月前
株式会社シグマ
結像光学系
27日前
住友化学株式会社
垂直偏光板
1か月前
東レ株式会社
貼合体の製造方法
1か月前
東レ株式会社
赤外線遮蔽構成体
1か月前
日本精機株式会社
ミラーユニット
1か月前
古河電気工業株式会社
融着機
1か月前
日本電気株式会社
光モジュール
1か月前
アイカ工業株式会社
反射防止フィルム
1日前
日東電工株式会社
導光部材
27日前
日本電気株式会社
光集積回路素子
1か月前
株式会社コシナ
投射ズームレンズ
20日前
個人
多方向視差効果のための微細穴加工
1か月前
豊田合成株式会社
調光装置
14日前
京セラ株式会社
光学系
1か月前
個人
眼鏡装着位置変更具および眼鏡
1か月前
三菱電機株式会社
レンズモジュール
1か月前
日東電工株式会社
光学積層体
29日前
住友化学株式会社
偏光板
1か月前
続きを見る
他の特許を見る