TOP
|
特許
|
意匠
|
商標
特許ウォッチ
Twitter
他の特許を見る
公開番号
2025163007
公報種別
公開特許公報(A)
公開日
2025-10-28
出願番号
2025102315,2023572880
出願日
2025-06-18,2022-10-04
発明の名称
可変粒度光ルーティングを伴うネットワークアーキテクチャ
出願人
グーグル エルエルシー
,
Google LLC
代理人
弁理士法人深見特許事務所
主分類
H04B
10/291 20130101AFI20251021BHJP(電気通信技術)
要約
【課題】ネットワークアーキテクチャを進化させるためのOTNノードを提供する。
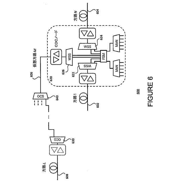
【解決手段】複数の光回路スイッチ(OCS)(102、104)を備える光伝送ネットワーク(OTN)ノード(100)であって、各OCSは、OTNノードのそれぞれの方路であり、OCSのうちの少なくとも2つのOCSは、OTNノードの外側のそれぞれの光伝送ファイバ(101)に接続される入力ポート(112)と、第1のスイッチング層(120)に接続された少なくとも1つの第1の出力ポート(114)と、第2のスイッチング層(130)に接続された少なくとも1つの第2の出力ポート(116)と、を含む。第1のスイッチング層(120)および第2のスイッチング層(130)は、異なる粒度レベルを有しているが、たとえば波長スイッチド層、バンドスイッチド層またはファイバスイッチド層に限定されない。
【選択図】図1A
特許請求の範囲
【請求項1】
複数の光回路スイッチ(OCS)を備える光伝送ネットワーク(OTN)ノードであって、
各OCSは、前記OTNノードのそれぞれの方路であり、少なくとも2つのOCSは、
前記OTNノードの外側のそれぞれの光伝送ファイバに接続されるように構成された入力ポートと、
第1の粒度レベルを有する第1のスイッチング層に接続された少なくとも1つの第1の出力ポートと、
前記第1の粒度レベルとは異なる第2の粒度レベルを有する第2のスイッチング層に接続された少なくとも1つの第2の出力ポートとを含む、OTNノード。
続きを表示(約 1,300 文字)
【請求項2】
前記第1のスイッチング層は、波長スイッチド層、バンドスイッチド層、またはファイバスイッチド層のうちの1つであり、前記第2のスイッチング層は、前記波長スイッチド層、前記バンドスイッチド層、または前記ファイバスイッチド層のうちの異なる1つである、請求項1に記載のOTNノード。
【請求項3】
前記複数のOCSの入力ポートに1対1の関係で接続された複数の二方向ノードライン増幅器をさらに含み、各二方向ノードライン増幅器は、それぞれの入力ポートとそれに対応する光伝送ファイバとの間に位置する、請求項1に記載のOTNノード。
【請求項4】
各二方向ノードライン増幅器は、
前記それぞれの光伝送ファイバから受信された光信号を異なる周波数帯域へと分割するように構成されたバンドスプリッタと、
複数のイングレス増幅器とを含み、各イングレス増幅器は前記バンドスプリッタのそれぞれの出力ポートに接続されており、前記各二方向ノードライン増幅器はさらに、
前記OTNノードのそれぞれのOCSから受信された前記異なる周波数帯域の光信号を合成するように構成されたバンドコンバイナと、
複数のエグレス増幅器とを含み、各エグレス増幅器は前記バンドコンバイナのそれぞれの入力ポートに接続されている、請求項3に記載のOTNノード。
【請求項5】
前記バンドスプリッタは、C+Lバンドスプリッタであり、前記バンドコンバイナは、C+Lバンドコンバイナである、請求項4に記載のOTNノード。
【請求項6】
前記第1のスイッチング層は、ファイバスイッチド層であり、前記第2のスイッチング層は、波長スイッチド層である、請求項5に記載のOTN。
【請求項7】
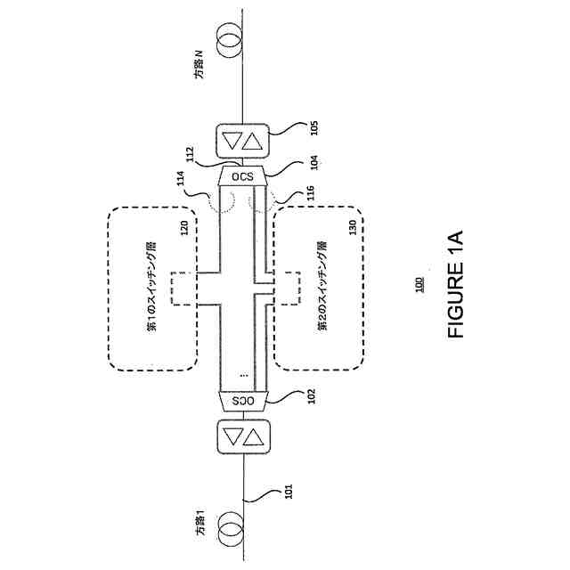
少なくとも2つのOCSは、前記第1の粒度レベルおよび前記第2の粒度レベルとは異なる第3の粒度レベルを有する第3のスイッチング層に接続された少なくとも1つの第3の出力ポートをさらに含む、請求項1に記載のOTNノード。
【請求項8】
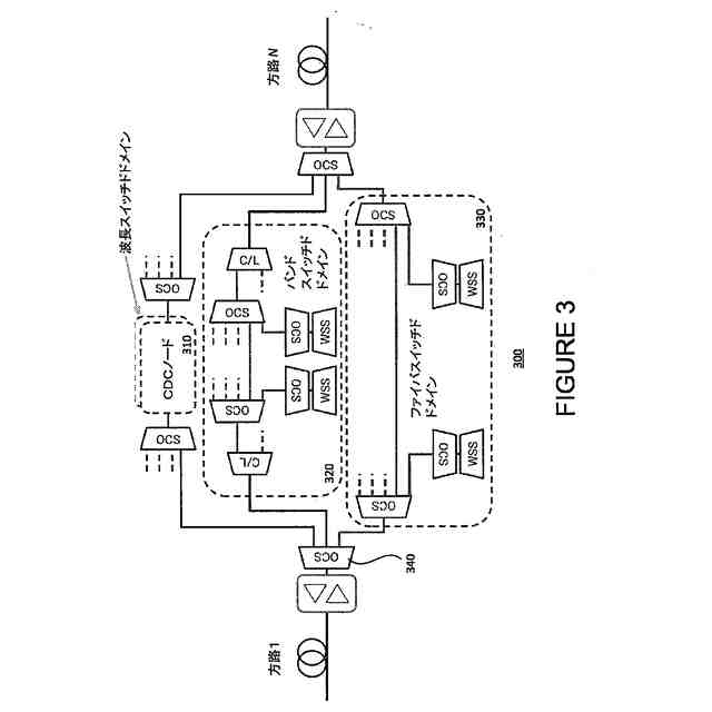
前記第1のスイッチング層は、ファイバスイッチド層であり、前記第2のスイッチング層は、バンドスイッチド層であり、前記バンドスイッチド層は、複数のバンドスプリッタを含み、前記複数のバンドスプリッタのそれぞれの出力ポートは、第2の複数のOCSの入力ポートに1対1の関係で接続され、前記第2の複数のOCSの各OCSの少なくとも1つの出力ポートは、波長スイッチド層に接続される、請求項1に記載のOTNノード。
【請求項9】
前記ファイバスイッチド層、前記バンドスイッチド層、および前記波長スイッチド層は、並列に配置される、請求項8に記載のOTNノード。
【請求項10】
前記ファイバスイッチド層、前記バンドスイッチド層、および前記波長スイッチド層は、ネスト構成またはカスケード接続構成のどちらかで配置される、請求項8に記載のOTNノード。
(【請求項11】以降は省略されています)
発明の詳細な説明
【背景技術】
【0001】
光伝送ネットワーク(OTN:optical transport network)によって、伝送、多重化
、およびスイッチング素子の組み合わせを用いて光ファイバのネットワーク上で光信号をルーティングする、広く採用されたフレームワークが提供される。現在のシステムは、波長レベルで光経路ルーティングを制御する波長スイッチドアーキテクチャに対応している。たとえば、カラーレス/ディレクションレス(CD:colorless/directionless)シス
テムおよびカラーレス/ディレクションレス/コンテンションレス(CDC:colorless/directionless/contentionless)システムは、信号のそれぞれの周波数または波長に基づいてノードを介して光信号をルーティングするようにプログラム可能な波長選択スイッチ(WSS:wavelength selective switch)に大きく依存している。
続きを表示(約 2,300 文字)
【0002】
光伝送ネットワーク上で搬送されるトラフィックの量の増加は、光ファイバ容量の進歩を既に上回っており、さらに加速すると予想されている。したがって、増大する需要を満たすために、光ファイバがますます注目されることは不可避である。各経路の容量の増加に実質的に相関した、配備されるファイバ経路の量が増えれば増えるほど、波長スイッチドアーキテクチャは、コスト効率および拡張性を確保するべく、ファイバスイッチドアーキテクチャに取って代わられていくものと思われる。
【0003】
しかし、現在の波長スイッチドアーキテクチャは、波長スイッチドアーキテクチャからファイバスイッチドアーキテクチャへの移行に対して、いくつかの難題を提示している。第一に、波長スイッチドアーキテクチャのWSSモジュールのポート数は限られている。一般に、1つのWSSには最大16本の伝送ファイバが接続可能であり、産業界は目下、リパッケージングや多方路集積化を通じてWSSのコスト効率を改善することに注目している。第二に、CDシステムおよびCDCシステムの場合、光信号の挿入および分岐に用いられるモジュール、たとえば信号の挿入/分岐用のマルチキャストスイッチ(MCS:multicast switch)モジュールを用いる再構成可能な光アドドロップマルチプレクサ(ROADM:reconfigurable optical add/drop multiplexer)ノードで生じる光損失は、
そのノードに存在する方路の数と共に変化する。光損失が非常に大きくなり性能劣化を回避するために追加増幅を必要とする、あるポイントに含まれ得る方路の数は、限られている。第三に、WSSモジュールは、ROADMノードの最も高価な部品のうちの1つである。
【発明の概要】
【課題を解決するための手段】
【0004】
簡単な要約
本開示は、波長スイッチドドメインおよびファイバスイッチドドメインの両方ならびに他の粒度レベルのスイッチング素子に柔軟に対応可能な代替スイッチングアーキテクチャを提供する。
【0005】
本開示の一局面は、複数の光回路スイッチ(OCS)を備える光伝送ネットワーク(OTN)ノードに向けられており、各OCSは、OTNノードのそれぞれの方路であり、少なくとも2つのOCSは、OTNノードの外側のそれぞれの光伝送ファイバに接続されるように構成された入力ポートと、第1の粒度レベルを有する第1のスイッチング層に接続された少なくとも1つの第1の出力ポートと、第1の粒度レベルとは異なる第2の粒度レベルを有する第2のスイッチング層に接続された少なくとも1つの第2の出力ポートとを含む。
【0006】
いくつかの例では、第1のスイッチング層は、波長スイッチド層、バンドスイッチド層、またはファイバスイッチド層のうちの1つであってもよく、第2のスイッチング層は、波長スイッチド層、バンドスイッチド層、またはファイバスイッチド層のうちの異なる1つであってもよい。
【0007】
いくつかの例では、OTNノードは、複数のOCSの入力ポートに1対1の関係で接続された複数の二方向ノードライン増幅器をさらに含んでいてもよく、各二方向ノードライン増幅器は、それぞれの入力ポートとそれに対応する光伝送ファイバとの間に位置する。いくつかの例では、各二方向ノードライン増幅器は、それぞれの光伝送ファイバから受信された光信号を異なる周波数帯域へと分割するように構成されたバンドスプリッタと、複数のイングレス増幅器とを含んでいてもよく、各イングレス増幅器はバンドスプリッタのそれぞれの出力ポートに接続されており、各二方向ノードライン増幅器はさらに、OTNノードのそれぞれのOCSから受信された異なる周波数帯域の光信号を合成するように構成されたバンドコンバイナと、複数のエグレス増幅器とを含んでいてもよく、各エグレス増幅器はバンドコンバイナのそれぞれの入力ポートに接続されている。いくつかの例では、バンドスプリッタは、C+Lバンドスプリッタであってもよい。いくつかの例では、バンドコンバイナは、C+Lバンドコンバイナであってもよい。
【0008】
いくつかの例では、第1のスイッチング層は、ファイバスイッチド層であってもよく、第2のスイッチング層は、波長スイッチド層であってもよい。
【0009】
いくつかの例では、少なくとも2つのOCSは、第1の粒度レベルおよび第2の粒度レベルとは異なる第3の粒度レベルを有する第3のスイッチング層に接続された少なくとも1つの第3の出力ポートをさらに含む。
【0010】
いくつかの例では、第1のスイッチング層は、ファイバスイッチド層であってもよく、第2のスイッチング層は、バンドスイッチド層であってもよい。バンドスイッチド層は、複数のバンドスプリッタを含んでいてもよく、複数のバンドスプリッタのそれぞれの出力ポートは、第2の複数のOCSの入力ポートに1対1の関係で接続されてもよく、第2の複数のOCSの各OCSの少なくとも1つの出力ポートは、波長スイッチド層に接続されてもよい。いくつかの例では、ファイバスイッチド層、バンドスイッチド層、および波長スイッチド層は、並列に配置されてもよい。ファイバスイッチド層、バンドスイッチド層、および波長スイッチド層は、ネスト構成またはカスケード接続構成のどちらかで配置されてもよい。
(【0011】以降は省略されています)
この特許をJ-PlatPat(特許庁公式サイト)で参照する
関連特許
グーグル エルエルシー
ハードウェア生成鍵の暗号化
22日前
グーグル エルエルシー
イベントベースの記録
22日前
グーグル エルエルシー
折畳み携帯型表示デバイス
29日前
グーグル エルエルシー
ウェアラブルコンピューティングデバイスの電力インターフェイスにおける錆の発生を最小限に抑える方法
7日前
グーグル エルエルシー
自己注意ベースのニューラルネットワークを使用した画像処理
22日前
グーグル エルエルシー
ニューラルネットワーク計算を加速するためのハードウェア回路
16日前
グーグル エルエルシー
特定用途向け機械学習アクセラレータの生成およびグローバルなチューニング
1日前
グーグル エルエルシー
チャネル状態フィードバックにニューラルネットワークを使用した無線ネットワーク
1日前
個人
イヤーピース
27日前
個人
イヤーマフ
1か月前
個人
監視カメラシステム
1か月前
個人
スイッチシステム
1か月前
キーコム株式会社
光伝送線路
1か月前
WHISMR合同会社
収音装置
2か月前
個人
スキャン式車載用撮像装置
1か月前
サクサ株式会社
中継装置
1か月前
サクサ株式会社
中継装置
1か月前
キヤノン株式会社
撮像装置
6日前
アイホン株式会社
電気機器
2か月前
個人
ワイヤレスイヤホン対応耳掛け
2か月前
キヤノン電子株式会社
画像読取装置
27日前
キヤノン電子株式会社
画像読取装置
1か月前
キヤノン電子株式会社
画像読取装置
1か月前
サクサ株式会社
無線システム
1か月前
ヤマハ株式会社
放音制御装置
1か月前
個人
映像表示装置、及びARグラス
1か月前
株式会社リコー
画像形成装置
3か月前
サクサ株式会社
無線通信装置
1か月前
株式会社リコー
画像形成装置
1か月前
サクサ株式会社
無線通信装置
1か月前
キヤノン電子株式会社
画像読取装置
2か月前
キヤノン電子株式会社
シート搬送装置
27日前
日本電気株式会社
海底分岐装置
1か月前
個人
発信機及び発信方法
1か月前
キヤノン株式会社
撮像システム
2か月前
キヤノン株式会社
画像処理装置
1か月前
続きを見る
他の特許を見る