TOP
|
特許
|
意匠
|
商標
特許ウォッチ
Twitter
他の特許を見る
公開番号
2025160390
公報種別
公開特許公報(A)
公開日
2025-10-22
出願番号
2025127138,2023578770
出願日
2025-07-30,2021-08-02
発明の名称
パッケージ検出の向上のための非対称のカメラセンサ位置決め
出願人
グーグル エルエルシー
,
Google LLC
代理人
弁理士法人深見特許事務所
主分類
H04N
23/55 20230101AFI20251015BHJP(電気通信技術)
要約
【課題】パッケージ検出の向上のための非対称カメラセンサ位置決めを説明する。
【解決手段】電子ドアベルは、縦向きに回転させられかつカメラのレンズに対して垂直方向にずらされるイメージセンサを有し、その結果レンズに対してイメージセンサの位置が非対称になる。レンズはイメージサークルをイメージセンサ上に投影し、イメージセンサはセンサ検出領域を有し、センサ検出領域は、イメージサークルの下部に配置され、イメージサークルの端に近接するオブジェクトの撮影を可能にするように、イメージサークルの内部に上部の角を有し、イメージサークルの外部に下部の角を有する。そして、レンズ歪み訂正は、イメージサークルの内部だが従来のセンサ検出領域の外部に配置され得るパッケージを検出するのに使用可能な最終画像を提供するように、撮影された画像に対して実行される。
【選択図】図1
特許請求の範囲
【請求項1】
電子ドアベルであって、
レンズ光軸を有するレンズを備え、前記レンズは、前記レンズによって撮影されたシーンを表わすイメージサークルを提供し、前記イメージサークルは、中間部で分離されかつ垂直に積み重ねて配置された上部および下部を有し、前記上部は、前記イメージサークルの上の端に近接して配置され、前記下部は、前記イメージサークルの下の端に近接して配置され、
前記電子ドアベルはさらに、センサ検出領域を有するイメージセンサを備え、前記イメージセンサは、
前記イメージサークルの前記垂直に積み重ねて配置された部分に対して縦向きに配置され、前記センサ検出領域の前記縦向きは、水平寸法よりも大きい垂直寸法を有し、かつ、
前記イメージセンサは、前記イメージサークルの前記下の端に近接する前記イメージサークルの前記下部に配置されるオブジェクトの画像を前記イメージセンサが撮影することを可能にするように、前記レンズ光軸からオフセット距離だけ前記イメージサークルの前記下部に向かって前記レンズに対して垂直方向にずらされる、電子ドアベル。
続きを表示(約 1,000 文字)
【請求項2】
前記イメージセンサは、3:4の縦向きに構成される、請求項1に記載の電子ドアベル。
【請求項3】
前記センサ検出領域は矩形形状を有し、前記イメージサークルは楕円形状を有し、
前記センサ検出領域は、前記イメージサークルの内部に配置される2つの上部の角、および前記イメージサークルの外部に配置される2つの下部の角を含む、請求項1または請求項2に記載の電子ドアベル。
【請求項4】
前記イメージセンサは、イメージセンサ光軸を有し、
前記イメージセンサは、前記レンズの垂直軸に沿って前記オフセット距離だけ前記イメージセンサ光軸を前記レンズ光軸からオフセットさせるように、前記レンズに対して垂直方向にずらされる、先行する請求項のいずれか1つに記載の電子ドアベル。
【請求項5】
前記イメージセンサ光軸は、前記レンズ光軸と平行である、請求項4に記載の電子ドアベル。
【請求項6】
前記オフセット距離は、実質的に0.15ミリメートルから0.35ミリメートルの範囲内である、先行する請求項のいずれか1つに記載の電子ドアベル。
【請求項7】
前記イメージサークルは、約160度の画角を有する前記レンズに基づく前記シーンを表わす、先行する請求項のいずれか1つに記載の電子ドアベル。
【請求項8】
前記レンズに対する前記イメージセンサの前記縦向きおよび前記垂直方向へずらすことは、イメージセンサが約130度の前記レンズの垂直方向の画角に対応する前記イメージサークルの領域を撮影することを可能にする、先行する請求項のいずれか1つに記載の電子ドアベル。
【請求項9】
前記電子ドアベルは、前記撮影された画像の下部の角の領域内の黒い領域を取り除くように、前記イメージセンサによって撮影される画像上でレンズ歪み訂正を実行するように構成されるプロセッサをさらに備える、先行する請求項のいずれか1つに記載の電子ドアベル。
【請求項10】
前記プロセッサは、垂直方向の非対称性を補正するために使用できる台形画像を提供す
るように前記撮影された画像に台形補正を適用することと、
垂直方向の前記非対称性を補正するために前記台形画像の歪みを除去し、歪みが除去された画像を提供することとによって、レンズ歪み訂正を実行するように構成される、請求項9に記載の電子ドアベル。
(【請求項11】以降は省略されています)
発明の詳細な説明
【背景技術】
【0001】
背景
画像および/または映像を撮影するための電子ドアベルの進歩に伴い、多くのユーザはパッケージが配達されたかどうかを判定するために電子ドアベルデータに頼り始めている。しかしながら、多くの既存の電子ドアベルは限定された視野(field of view:FOV)を有するカメラを備える。一般的に、ドアベルは人の顔の画像取得を可能とするように方向づけられるが、ユーザは(安全のために)人の顔を見ることにより興味があり得るため、人の足の画像取得は必要ではない。多くの場合、パッケージがドアベルに近すぎるよう(例えば、ドアベルの下でかつドアベルが備え付けられた壁に隣接する地面に)に配達された場合、パッケージはカメラのFOVの外側にあることがある。
続きを表示(約 3,000 文字)
【発明の概要】
【発明が解決しようとする課題】
【0002】
ユーザは配達の通知を受け取り、到着および出発する配達ドライバの画像データを取得し得るが、もしユーザが配達されたパッケージの状態を確認したい場合に、パッケージがカメラのFOVの外側にあり得る場合(例えば、パッケージがドアベルに近すぎる場合)、ユーザはドアベルのデータ内のパッケージを見ることができないことがある。さらに、パッケージ検出アルゴリズムはドアベルのデータに適用され得るが、パッケージがカメラのFOVの外側にある場合、パッケージは撮影された画像内において検出することができず、ユーザはパッケージの通知を受けない可能性がある。もしパッケージがカメラのFOVになくて、人がパッケージを持ち去るまたは盗むために近づいたとしても、ユーザはパッケージが持ち去られたことを通知されない可能性がある。
【0003】
カメラのFOVを広げるための1つの解決方法は、180°の画角(angle of view:AOV)のドアベルカメラを使用することである。しかしながら、そのようなカメラは製造原価を高め、赤外線フレアを防ぐために追加の構造機能を必要とすることがある。また、そのようなカメラを使用することは、人の頭上の領域を含む、重要ではないかもしれない追加画像データ(例えば、ピクセルデータ)がユーザデバイスに表示されることを提供し得る。なぜならば、ユーザがドアベルデータを見ているときにアプリケーションでスクリーン(例えば、スマートフォンのディスプレイ)上に表示され得るピクセル数は有限であるため、重要ではない追加画像データがスクリーンの現実的な領域を消費し、より小さいディスプレイ画像になり、画像の質が低下し、ユーザエクスペリエンスが低下する可能性がある。
【0004】
要約
本明細書は、パッケージ検出強化のための非対称のカメラセンサの位置決めについて説明する。ある局面において、電子ドアベルは、カメラのレンズに対して縦向きに回転し、垂直方向にシフトされるイメージセンサを有し、その結果、レンズに対してイメージセンサの位置決めが非対称になる。レンズは、イメージサークルをイメージセンサに投影し、イメージセンサは、イメージサークルの下部に位置し、イメージサークルのエッジに近接する物体の撮影を可能にするために、イメージサークル内の上隅とイメージサークルの外側の下隅を有するセンサ検出領域を有する。次に、レンズ歪み訂正が、撮影画像に対して実行され、イメージサークル内にあり得るが、従来のセンサ検出領域の外側に位置し得るパッケージの検出に使用可能な最終画像を提供する。
【課題を解決するための手段】
【0005】
いくつかの局面において、電子ドアベルは開示される。電子ドアベルは、レンズ光軸を
有し、レンズによって撮影されるシーンを表わすイメージサークルを提供するレンズを含む。イメージサークルは、中間部によって分けられかつ垂直に積み重ねて配置された上部分と下部分とを持つ。上部分はイメージサークルの上の端に近接して位置されて、下部分はイメージサークルの下の端に近接して位置される。また、電子ドアベルはセンサ検出領域を有するイメージセンサを含む。イメージセンサはイメージサークルの部分の垂直積み重ねに対して縦向きに位置し、センサ検出領域の縦向きは水平方向の寸法より長い垂直方向の寸法を持つ。また、イメージセンサは、イメージサークルの下の端に近いイメージサークルの下部分に位置する対象物の画像をイメージセンサが撮影することを可能にするように、レンズに対してレンズの光軸からオフセット距離だけ垂直にずらされる。
【0006】
この要約は、パッケージ検出向上のための非対称のカメラセンサ位置決めに関わる簡略化された概念を紹介するために提供され、さらに下の詳細な説明や図に記載される。この要約は、クレームされた主題の本質的な特徴の特定を意図されず、クレームされた主題の範囲を決定するときの使用も意図されない。
【0007】
パッケージ検出の向上のための非対称のカメラセンサ位置決めの1つ以上の局面の詳細は以下の図を参照して、本明細書に記載される。本開示および図の異なる例において同じ参照番号を使用することは、同様の要素を表わす。
【図面の簡単な説明】
【0008】
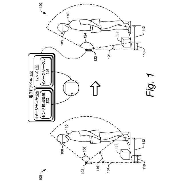
従来のカメラドアベルと比較してパッケージ検出の向上のための非対称のカメラセンサ位置決めの実施例を示す図である。
図1の電子ドアベルの実施例の等軸観測図である。
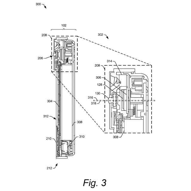
図2の電子ドアベルを線3-3に沿って切った断面図、および断面図における電子ドアベルのカメラ側の端の拡大図である。
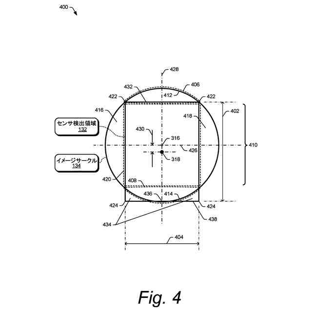
レンズに対するイメージセンサの非対称位置決めに基づくイメージサークルに対するセンサ検出領域の実施例である。
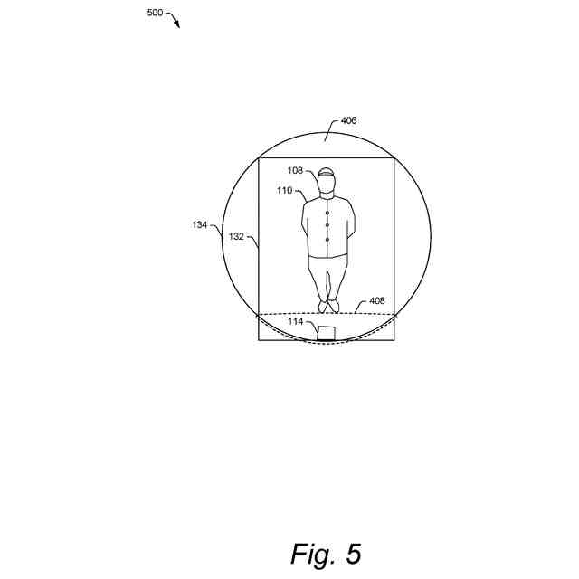
パッケージ検出向上のためにイメージサークルに対してずれたセンサ検出領域の実施例を示す図である。
電子ドアベルにおける非対称のカメラセンサ位置決めに応じたレンズ歪み訂正の実施例を示す図である。
非対称に位置決めされたカメラセンサによって撮影された画像のレンズ歪みを本明細書に記載の技術に従って補正するための方法の例を示す図である。
図1~7を参照して説明したように、非対称のカメラセンサ位置決めの局面を実装する任意の電子デバイス(例えば電子ドアベル)として実装することができる、デバイスの例を含むシステムの例を示すブロック図である。
【発明を実施するための形態】
【0009】
詳細な説明
概要
本明細書は、パッケージ検出の向上のための非対称のカメラセンサ位置決めについて説明する。本明細書において説明された技術は、従来のドアベルカメラと比べて広い垂直なFOVをもつ電子ドアベルカメラを提供する。例えば、電子ドアベルカメラは、縦向きに回転し、カメラのレンズから垂直方向にオフセットされたイメージセンサを含む。この非対称位置決めによりイメージセンサは、電子ドアベルカメラのほぼ下方の地面にある対象物(例えば、パッケージ)の画像を撮影することができ、対象物は従来のレンズによって撮影され得るが、レンズによって従来のイメージセンサに十分に投影されない。撮影された画像のレンズ歪みは、後処理で綺麗な最終画像をユーザに提供するために補正され、画像は地面の上のパッケージはもちろん、立っている人の顔も含むことがある。
【0010】
垂直方向のFOVが増加するだけではなく、ユーザにとって有用な画素数も増加して、その結果、画質および効率が向上し、ユーザエクスペリエンスも向上した。画像の角の近くにあるオブジェクトに関連するレンズの歪みは軽減される。さらに、標準の160°レンズを使用する全体的な効率は向上する。説明されたパッケージ検出の向上のための非対称のカメラセンサ位置決めの特徴および概念は、任意の数の異なる環境において実装され得、いくつかの局面は、以下の例の文脈において説明されている。
(【0011】以降は省略されています)
この特許をJ-PlatPat(特許庁公式サイト)で参照する
関連特許
個人
イヤーピース
28日前
個人
イヤーマフ
1か月前
個人
監視カメラシステム
1か月前
個人
スイッチシステム
1か月前
キーコム株式会社
光伝送線路
1か月前
サクサ株式会社
中継装置
1か月前
個人
スキャン式車載用撮像装置
1か月前
サクサ株式会社
中継装置
1か月前
WHISMR合同会社
収音装置
2か月前
キヤノン株式会社
撮像装置
7日前
アイホン株式会社
電気機器
2か月前
キヤノン電子株式会社
画像読取装置
28日前
株式会社リコー
画像形成装置
3か月前
サクサ株式会社
無線通信装置
1か月前
キヤノン電子株式会社
画像読取装置
1か月前
サクサ株式会社
無線システム
1か月前
株式会社リコー
画像形成装置
3か月前
サクサ株式会社
無線通信装置
1か月前
キヤノン電子株式会社
画像読取装置
2か月前
個人
ワイヤレスイヤホン対応耳掛け
2か月前
個人
映像表示装置、及びARグラス
1か月前
キヤノン電子株式会社
画像読取装置
1か月前
ヤマハ株式会社
放音制御装置
1か月前
株式会社リコー
画像形成装置
1か月前
キヤノン株式会社
情報処理装置
15日前
キヤノン株式会社
撮像システム
2か月前
日本電気株式会社
海底分岐装置
1か月前
キヤノン株式会社
画像処理装置
1か月前
個人
発信機及び発信方法
1か月前
キヤノン電子株式会社
シート搬送装置
28日前
有限会社フィデリックス
マイクロフォン
2か月前
株式会社JVCケンウッド
通信システム
2か月前
株式会社NTTドコモ
端末
1か月前
シャープ株式会社
表示装置
28日前
シャープ株式会社
端末装置
1か月前
シャープ株式会社
表示装置
28日前
続きを見る
他の特許を見る