TOP
|
特許
|
意匠
|
商標
特許ウォッチ
Twitter
他の特許を見る
10個以上の画像は省略されています。
公開番号
2025172891
公報種別
公開特許公報(A)
公開日
2025-11-26
出願番号
2025145013,2023010944
出願日
2025-09-02,2022-05-16
発明の名称
ペーパーケース
出願人
河淳株式会社
代理人
弁理士法人あしたば国際特許事務所
主分類
B65D
83/08 20060101AFI20251118BHJP(運搬;包装;貯蔵;薄板状または線条材料の取扱い)
要約
【課題】構造を簡略化して製造コストを低減できるペーパーケースを提供する。
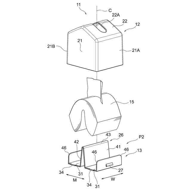
【解決手段】側壁部21と、頂壁部22と、頂壁部に設けられペーパー15を取り出し可能な取出口22Aと、側壁部に設けられた一対の第1係合部と、を有する箱状の第1ケース12と、ペーパーを支持可能に頂壁部に向けて凸になった隆起部と、隆起部の頂壁部に近い位置の端部とは反対側の端部から外側に向けて延びる一対の平坦部と、一対の平坦部の略中央部に設けられた一対の指掛部と、一対の平坦部のそれぞれの外側から頂壁部に向けて延びる一対の縦壁部と、一対の縦壁部にそれぞれ設けられ一対の第1係合部と係合可能な一対の第2係合部と、を有し、少なくとも隆起部が第1ケース内に収められる第2ケースと、を備える。
【選択図】図1
特許請求の範囲
【請求項1】
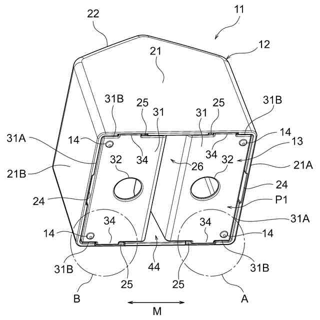
側壁部と、頂壁部と、前記頂壁部に設けられペーパーを取り出し可能な取出口と、を有する箱状の第1ケースと、
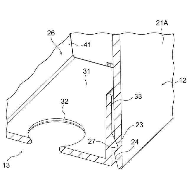
前記ペーパーを支持可能に前記頂壁部に向けて凸になった隆起部と、前記隆起部の前記頂壁部に近い位置の端部とは反対側の端部から外側に向けて延びる一対の平坦部と、前記一対の平坦部のそれぞれに設けられた脚部と、を有する第2ケースと、
を備え、
前記第2ケースの前記脚部を除くほとんどの部分は、前記第1ケースの内部に収められるペーパーケース。
発明の詳細な説明
【技術分野】
【0001】
本発明は、ペーパー等を収納できるペーパーケースに関する。
続きを表示(約 1,500 文字)
【背景技術】
【0002】
ティッシュペーパー等を収納可能なペーパーホルダが開示されている(例えば、特許文献1参照)。このペーパーホルダは、方形箱状のホルダ本体と、ホルダ本体の両側壁間に渡された軸と、ホルダ本体に対して着脱可能な蓋体と、を有する。ティッシュペーパー等は、軸に吊下げられて保持される。
【先行技術文献】
【特許文献】
【0003】
意匠登録1386625号公報
【発明の概要】
【発明が解決しようとする課題】
【0004】
上記従来のペーパーホルダは、部品点数が多く、構造が複雑となってコスト増となる問題がある。
【0005】
本発明の目的は、構造を簡略化して製造コストを低減できるペーパーケースを提供することにある。
【課題を解決するための手段】
【0006】
上記課題は、以下の本発明により解決される。すなわち、本発明(1)のペーパーケースは、
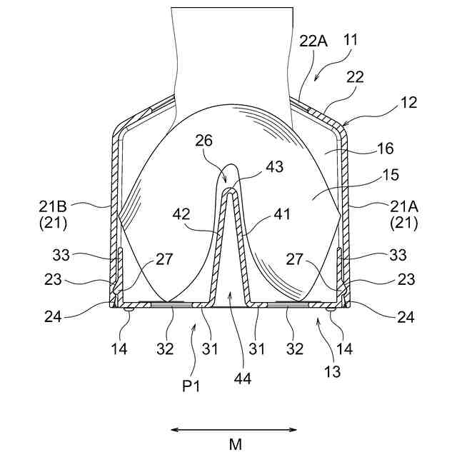
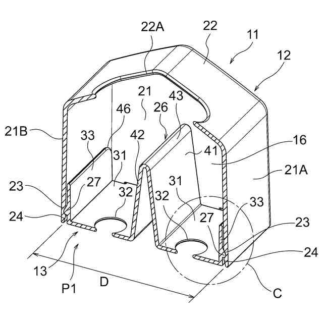
側壁部と、頂壁部と、前記頂壁部に設けられペーパーを取り出し可能な取出口と、前記側壁部に設けられた一対の第1係合部と、を有する箱状の第1ケースと、
前記ペーパーを支持可能に前記頂壁部に向けて凸になった隆起部と、前記隆起部の前記頂壁部に近い位置の端部とは反対側の端部から外側に向けて延びる一対の平坦部と、前記一対の平坦部の略中央部に設けられた一対の指掛部と、前記一対の平坦部のそれぞれの外側から前記頂壁部に向けて延びる一対の縦壁部と、前記一対の縦壁部にそれぞれ設けられ前記一対の第1係合部と係合可能な一対の第2係合部と、を有し、少なくとも前記隆起部が前記第1ケース内に収められる第2ケースと、
を備え、
前記隆起部は、第1壁部と、前記第1壁部から離間して設けられる第2壁部と、前記第1壁部に対して前記第2壁部が近づく方向に回動可能に前記第1壁部と前記第2壁部とを連結する連結部と、を有する。
【0007】
また、本発明(2)のペーパーケースは、(1)に記載のペーパーケースであって、
前記第2ケースは、前記第1ケースの内側の所定の位置に嵌った第1位置と、前記第1ケースから分離した第2位置と、の間で移動可能であり、
前記一対の平坦部のそれぞれは、前記側壁部に係合して、前記第1位置よりも前記頂壁部に近い位置に前記第2ケースが入り込むことを阻止可能なストッパー部を有し、前記ストッパー部は、前記平坦部の前記縦壁部を設けた辺とは異なる辺に設けられる。
【0008】
また、本発明(3)のペーパーケースは、(2)に記載のペーパーケースであって、
前記側壁部の下端部は、前記ストッパー部を受容可能な受容部であって、前記第1壁部に対して近づく方向の前記第2壁部の移動に伴い移動する前記ストッパー部の移動方向に関して、前記ストッパー部の寸法よりも大きく形成されるとともに、前記移動方向に関する前記ストッパー部の移動を許容する受容部を有する。
【0009】
また、本発明(4)のペーパーケースは、(3)に記載のペーパーケースであって、
前記受容部は、前記側壁部の肉厚内に設けられる。
【0010】
また、本発明(5)のペーパーケースは、(1)に記載のペーパーケースであって、
前記側壁部の下端部は、前記一対の第1係合部の近傍で少なくとも前記一対の第2係合部に対応する位置に設けられた傾斜面であって、前記頂壁部から遠ざかるにつれて前記第1ケースの内径寸法が広がるように斜めになった傾斜面を有する。
(【0011】以降は省略されています)
この特許をJ-PlatPat(特許庁公式サイト)で参照する
関連特許
河淳株式会社
ペーパーケース
2日前
個人
束ね具
17日前
個人
収容箱
4か月前
個人
コンベア
6か月前
個人
角筒状構造体
6か月前
個人
バンド
3か月前
個人
楽ちんハンド
6か月前
個人
テープ引出機
17日前
個人
棒状体収容容器
21日前
個人
包装容器
2か月前
個人
廃棄物収容容器
3か月前
株式会社和気
包装用箱
1か月前
個人
蓋閉止構造
5か月前
個人
蓋閉止構造
5か月前
株式会社バンダイ
物品
1か月前
個人
把手付米袋
5か月前
個人
積み重ね用補助具
3か月前
株式会社ナベル
検査装置
29日前
個人
介護用コップ
3か月前
個人
コード折り畳み器具
5か月前
株式会社KY7
封止装置
4か月前
株式会社新弘
容器
4か月前
三甲株式会社
容器
2か月前
三甲株式会社
容器
1か月前
株式会社デュプロ
包装装置
3か月前
個人
計量キャップ付き容器
8日前
三甲株式会社
運搬具
22日前
株式会社デュプロ
制御装置
4か月前
三甲株式会社
運搬具
9日前
個人
テープカッター
4か月前
個人
ブリスタ包装体
2か月前
個人
穴タブ付きフタの容器
4か月前
個人
反射板のある袋
4か月前
個人
袋の自立保持具
5か月前
個人
簡単レジ袋オープナー
3か月前
個人
異常検知式部品供給装置
2か月前
続きを見る
他の特許を見る