TOP
|
特許
|
意匠
|
商標
特許ウォッチ
Twitter
他の特許を見る
10個以上の画像は省略されています。
公開番号
2025172811
公報種別
公開特許公報(A)
公開日
2025-11-26
出願番号
2025139506,2021192044
出願日
2025-08-25,2021-11-26
発明の名称
徐放性フェロモン製剤
出願人
信越化学工業株式会社
代理人
弁理士法人牛木国際特許事務所
主分類
A01N
25/34 20060101AFI20251118BHJP(農業;林業;畜産;狩猟;捕獲;漁業)
要約
【課題】設置が容易で安定的に設置場所に保持される徐放性フェロモン製剤の提供。
【解決手段】各末端2が封止された少なくとも1本のフェロモン物質3を含む高分子製細管又は高分子製細棒から構成される徐放性フェロモン製剤10であって、
(a)前記高分子製細管又は高分子製細棒を弧状に曲げて交差させることにより、正面視において1つの閉じた空間6を形成し、側面視において交差していない徐放性フェロモン製剤10であって、
(b)前記弧状に曲げて交差させた曲率半径Rが6~17mmであり、
(c)前記弧状に曲げて形成された弧の頂点から、交差点5までの直線距離Dが25~65mmであり、
(d)正面視において、交差点5を開いた場合における離間距離Gを20mmにした場合の反発力が0.5N以上である
徐放性フェロモン製剤10。
【選択図】図1
特許請求の範囲
【請求項1】
各末端が封止された少なくとも1本のフェロモン物質を含む外径1.5~6mmの高分子製細管又は高分子製細棒から構成される徐放性フェロモン製剤であって、前記高分子製細管又は高分子製細棒を構成する高分子材料がポリブチレンサクシネート又はポリブチレンサクシネートとポリブチレンサクシネートアジペートとの混合物であり、
(a)前記高分子製細管又は高分子製細棒を複数の部位で弧状に曲げて交差させることにより、正面視において1つの閉じた空間としてピーマン型又はトマト型を形成し、前記ピーマン型又はトマト型の空間部に前記各末端が配置され、
側面視において交差していない徐放性フェロモン製剤であって、
(b)前記複数の部位で弧状に曲げた弧のうち、交差点と対向する部位の弧の曲率半径が6~17mmであり、
(c)前記交差点と対向する部位の弧の頂点から、前記交差点までの直線距離が25~65mmであり、前記交差点と対向する部位の弧の角度が100~180度であり、
(d)正面視において、前記交差点を開いた場合における離間距離を20mmにした場合の反発力が0.5N以上である
徐放性フェロモン製剤。
発明の詳細な説明
【技術分野】
【0001】
本発明は、徐放性フェロモン製剤に関する。
続きを表示(約 3,700 文字)
【背景技術】
【0002】
害虫の防除方法の一つとして、害虫の性フェロモン物質を放散させて害虫の交尾行動を阻害することにより、次世代の害虫密度を抑制する交信攪乱方法が実用化されている。交信攪乱による防除では、害虫の性フェロモン物質をこれらの性フェロモン物質が効果を発揮すべき所定の場所に、長期間安定的に設置され、前記性フェロモン物質を極めて徐々に継続的に放散させる徐放性フェロモン製剤の提供が実用上重要な技術的課題となっている。
上記課題のもとに開発されたものとして、高分子製の細管内に性フェロモン物質を充填しその両末端を封印した管状の徐放性フェロモン製剤が提案されている。管状の徐放性フェロモン製剤は長期にわたり安定的に性フェロモンを放散することが示されているが、長期間安定的に設置した場所に保持する方法に課題があった。
この課題を解決する方法として例えば、高分子材料製の細管とこの細管の軸方向に金属線を接合(添設)してなる内部に性フェロモン物質を収納した徐放性フェロモン製剤(特許文献1)や、高分子材料製の細管2本を接合し環状とすることによって、金属線の添設が無くても果樹、樹木等に懸吊できるタイプの徐放性フェロモン製剤(特許文献2)、高分子材料製の細管2本を撚り合わせ両末端を接合し、高分子製細管の復元、反発力を利用してさらに把持強度を向上させた徐放性フェロモン製剤(特許文献3)、高分子細管を屈曲、旋回させて輪を形成した形状の徐放性フェロモン製剤(特許文献4)が報告されている。
【先行技術文献】
【特許文献】
【0003】
特開昭57-156403号公報
特開平11-225646号公報
特開2013-188159号公報
実開昭62-122801号公報
【発明の概要】
【発明が解決しようとする課題】
【0004】
特許文献1の徐放性フェロモン製剤は、金属線が添設された構造のものであるため、金属線の賦形性によって設置が可能で安定的に保持される。しかしながら、金属線の使用による製造コスト及び性フェロモン物質の充填コストが高くなること、金属線を捻って固定するために設置にやや時間がかかること、使用後に設置した場所から取り外すのが面倒なこと、果樹、樹木等の剪定作業を行うと金属線が剪定時に剪定用の刃物を損傷する等の欠点があった。
また、特許文献2及び特許文献3の徐放性フェロモン製剤は、金属線が果樹園等に残る問題点は解決されるものの、設置においては、環状の輪に果樹や樹木の枝を通す必要があり、両手を使っての作業もしくは専用の治具等を使っての作業が要求されるため、設置の手間を減らすには至っていない。
さらに、特許文献4の徐放性フェロモン製剤は、細管の交差点は融着若しくは接着又は接触若しくは細管径の3倍以内の隙間を設けるとされているが、融着又は接着の場合は形成される輪を果樹や樹木の枝に通す必要があるため、設置場所が限定される。また、接触又は僅かの隙間を持って形成される場合は、この隙間を通して果樹や樹木の枝に懸吊できるものの、自然における風や農薬散布機械等における風圧等によって落下してしまう問題点があった。
上記事情より、長期間にわたる性フェロモンの放出制御に適し、かつ設置が容易で安定的に設置場所に保持される製造コストの掛からない徐放性フェロモン製剤の開発が望まれていた。
【課題を解決するための手段】
【0005】
本発明者は、上記目的を達成するため鋭意研究した結果、高分子製細管又は高分子製細棒を所定の形に成形することにより、設置が容易で安定的に設置場所に保持される徐放性フェロモン製剤を得ることができることを見出し、本発明を為すに至った。
本発明の一つの態様によれば、各末端が封止された少なくとも1本のフェロモン物質を含む外径1.5~6mmの高分子製細管又は高分子製細棒から構成される徐放性フェロモン製剤であって、前記高分子製細管又は高分子製細棒を構成する高分子材料がポリブチレンサクシネート又はポリブチレンサクシネートとポリブチレンサクシネートアジペートとの混合物であり、
(a)前記高分子製細管又は高分子製細棒を複数の部位で弧状に曲げて交差させることにより、正面視において1つの閉じた空間としてピーマン型又はトマト型を形成し、前記ピーマン型又はトマト型の空間部に前記各末端が配置され、
側面視において交差していない徐放性フェロモン製剤であって、
(b)前記複数の部位で弧状に曲げた弧のうち、交差点と対向する部位の弧の曲率半径が6~17mmであり、
(c)前記交差点と対向する部位の弧の頂点から、前記交差点までの直線距離が25~65mmであり、前記交差点と対向する部位の弧の角度が100~180度であり、
(d)正面視において、前記交差点を開いた場合における離間距離を20mmにした場合の反発力が0.5N以上である
徐放性フェロモン製剤が提供される。
【発明の効果】
【0006】
本発明によれば放出制御能力は維持しつつも、容易に果樹や樹木等への設置が可能であって、自然界で起こる強風や農薬散布機等の風圧、振動等によっても落下せずに安定的に設置場所に保持され、信頼できる徐放性が長期間にわたり得られる徐放性フェロモン製剤を提供できる。
【図面の簡単な説明】
【0007】
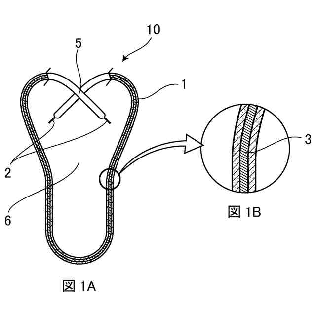
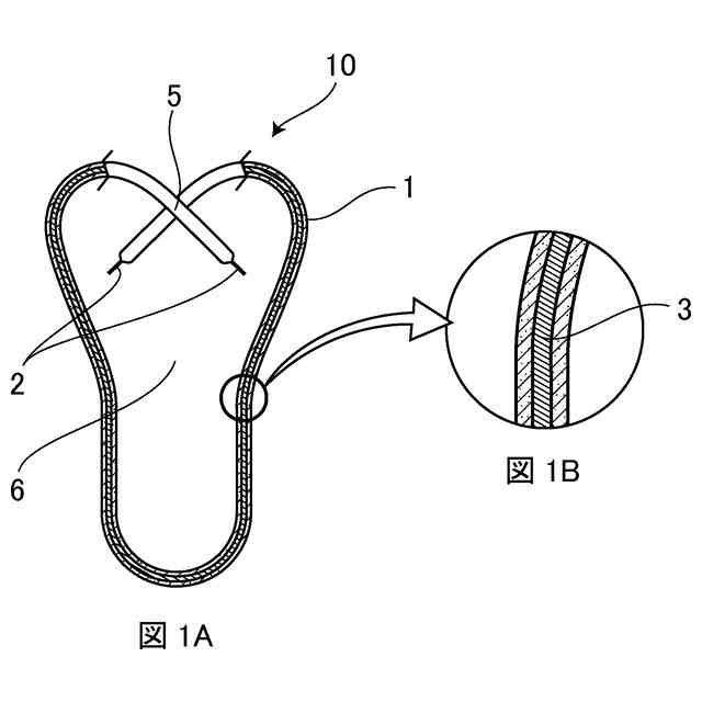
図1Aは1本の細管からなる本発明の実施例を示す正面断面図であり、図1Bはその部分拡大図である。
図1の製剤を木の枝に設置する際の設置方法を示す斜視図である。
図3Aはピーマン型の実施例を示す正面図である。図3Bはトマト型の実施例を示す正面図である。図3Cは六角形の実施例を示す正面図である。
ピーマン型の詳細を示す正面図であり、図4Aは曲率半径、図4Bは弧の角度、図4Cは弧の頂点から交差点までの直線距離を示す。
反発力測定方法を示す斜視図であり、図5Aは準備状態、図5Bは外力を付加した状態を示す。
反発力と落下率の関係を示す図面である。
図7Aは2本並列細管、図7Bは3本並列細管、図7Cは3本組細管、図7Dは細棒併設細管、図7Eは細棒併設2本細管、図7Fは撚線状2本細管を示す斜視図である。
異なる断面を有する細棒を示す実施例であり、図8Aは円柱形細棒、図8Bは星型細棒、図8Cは半管状細棒を示す斜視図である。
異なる断面を有する細管を示す実施例であり、図9A、Bは楕円細管、図9C、Dは方形細管を示す斜視図である。
曲回加工用治具の概略を示す図面であり、図10Aはトマト型、図10Bはピーマン型、図10Cは加工工程を示す概略図である。
実施例1で使用した曲回加工用治具を示す外観図である。
実施例1で得られた徐放性フェロモン製剤を示す外観図である。
高分子製細管の押し出し成型状態を示す断面図である。
【発明を実施するための形態】
【0008】
まず、本発明の特徴である徐放性フェロモン製剤の形状について説明する。
【0009】
徐放性フェロモン製剤は、少なくとも1本のフェロモン物質を含む高分子製細管又は高分子製細棒を弧状に曲げて交差させることにより、図1に示されるように、正面視において1つの閉じた空間6を形成したものである。
閉じた空間の形状は、後述にて説明する曲率半径及び直線距離を満たしていれば限定されず、例えば、図1や、図3Aに示されるピーマン型、図3Bに示されるトマト型、図3Cに示される六角形等が挙げられる。これらの中でも、曲回頂点が反発力の支点となる形状であり、かつ後述するように弧の角度により適度な曲回部の反発力の強さが得られる観点から、図1に示されるピーマン型が好ましい。
【0010】
前記徐放性フェロモン製剤は、側面視において、交差していない徐放性フェロモン製剤である。当該徐放性フェロモン製剤は、図2に示されるように、交差点5の外側を枝8に押し当てるのみで、交差点5を通過して閉じた空間6の部位で枝8に懸吊される。枝8に吊るされた徐放性フェロモン製剤は、交差点5によって枝8からの落下が防止される。高分子製細管又は高分子製細棒同士は側面視において接触していても良く、又は落下に影響がない程度に側面視において僅かに隙間が空いていても良い。交差点5は交差、融着又は接着させてしまうと、設置及び回収の作業性に劣る。当該徐放性フェロモン製剤は、側面視において交差をさせないことにより、例えば片手での設置及び回収を容易にすることができ、作業効率の向上に寄与する。
(【0011】以降は省略されています)
この特許をJ-PlatPat(特許庁公式サイト)で参照する
関連特許
信越化学工業株式会社
化粧料
1か月前
信越化学工業株式会社
電磁波遮蔽部材
1か月前
信越化学工業株式会社
炭化金属被覆材料
7日前
信越化学工業株式会社
レジストパターン形成方法
1か月前
信越化学工業株式会社
レジストパターン形成方法
1か月前
信越化学工業株式会社
光ファイバ母材の製造方法
27日前
信越化学工業株式会社
複合基板およびその製造方法
1か月前
信越化学工業株式会社
非晶質固体分散体を含む複合物
1か月前
信越化学工業株式会社
オルガノポリシロキサンを含む冷媒
12日前
信越化学工業株式会社
光ファイバ用多孔質母材の製造装置
27日前
信越化学工業株式会社
オルガノポリシロキサンを含む冷媒
12日前
信越化学工業株式会社
オルガノポリシロキサンを含む冷媒
12日前
信越化学工業株式会社
レジスト組成物及びパターン形成方法
1か月前
信越化学工業株式会社
レジスト組成物及びパターン形成方法
1か月前
信越化学工業株式会社
レジスト組成物及びパターン形成方法
1か月前
信越化学工業株式会社
パターン形成方法およびレジスト材料
1か月前
信越化学工業株式会社
レジスト組成物及びパターン形成方法
1か月前
信越化学工業株式会社
熱伝導性シリコーン組成物及びその硬化物
27日前
信越化学工業株式会社
室温硬化性オルガノポリシロキサン組成物
29日前
信越化学工業株式会社
酸化物単結晶複合基板およびその製造方法
1か月前
信越化学工業株式会社
熱伝導性シリコーン組成物及びその硬化物
14日前
信越化学工業株式会社
シロキサン変性ポリエステル樹脂及びその硬化物
1か月前
信越化学工業株式会社
熱伝導性シリコーン組成物、硬化物及び製造方法
1か月前
信越化学工業株式会社
超音波カップリング材複合膜及び超音波検査方法
6日前
信越化学工業株式会社
ファラデー回転子及び光アイソレータの製造方法
1か月前
信越化学工業株式会社
オルガノポリシロキサン及びこれを含有する化粧料
19日前
信越化学工業株式会社
含窒素多官能オルガノキシシラン化合物の製造方法
14日前
信越化学工業株式会社
熱伝導性シリコーン接着剤組成物及び熱伝導性複合体
1か月前
信越化学工業株式会社
型取り用シリコーンゴム組成物およびシリコーンゴム型
1か月前
信越化学工業株式会社
キーパッド作製用シリコーンゴム組成物及びキーパッド
28日前
信越化学工業株式会社
積層構造
1か月前
信越化学工業株式会社
スタンパ
1か月前
信越化学工業株式会社
環状アミノオルガノキシシラン化合物およびその製造方法
1か月前
信越化学工業株式会社
オニウム塩、化学増幅レジスト組成物及びパターン形成方法
21日前
信越化学工業株式会社
密着膜形成用組成物、パターン形成方法、及び密着膜の形成方法
12日前
信越化学工業株式会社
ゴム皮膜形成性シリコーンエマルション組成物及びその製造方法
1か月前
続きを見る
他の特許を見る