TOP
|
特許
|
意匠
|
商標
特許ウォッチ
Twitter
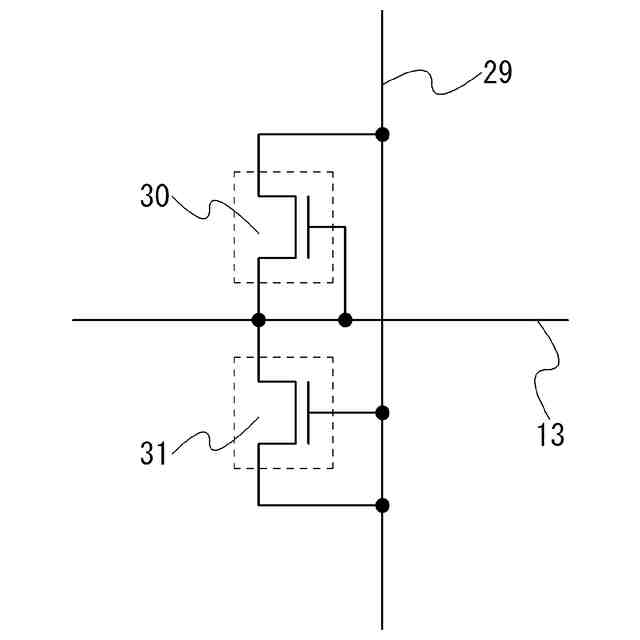
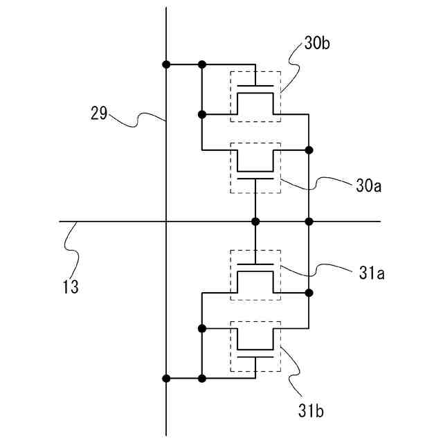
他の特許を見る
10個以上の画像は省略されています。
公開番号
2025172755
公報種別
公開特許公報(A)
公開日
2025-11-26
出願番号
2025129550,2024146271
出願日
2025-08-01,2009-09-10
発明の名称
表示装置
出願人
株式会社半導体エネルギー研究所
代理人
主分類
H10D
86/60 20250101AFI20251118BHJP()
要約
【課題】動作特性に優れ低温で製造可能な酸化物半導体を用いた表示装置の特性を活かすには、適切な構成を備えた保護回路等が必要となる。
【解決手段】ゲート電極15を被覆するゲート絶縁層37と、ゲート絶縁層37上においてゲート電極15と端部が重畳し、第2酸化物半導体層40と導電層41が積層された一対の第1配線層38及び第2配線層39と、少なくともゲート電極15と重畳しゲート絶縁層37及び該第1配線層38及び該第2配線層39における導電層41の側面部及び上面部の一部と第2酸化物半導体層40の側面部と接する第1酸化物半導体層36とを有す
る非線形素子30aを用いて保護回路を構成する。ゲート絶縁層37上において物性の異なる酸化物半導体層同士の接合を形成することで、ショットキー接合に比べて安定動作をさせることが可能となり、接合リークが低減し、非線形素子30aの特性を向上させることができる。
【選択図】図5
特許請求の範囲
【請求項1】
画素部と、前記画素部の外側に位置し且つ信号線と電気的に接続された回路と、を有し、
前記回路は、第1のトランジスタと、第2のトランジスタと、を有し、
前記第1のトランジスタのゲート電極と、前記第1のトランジスタのソース電極及びドレイン電極の一方と、前記第2のトランジスタのソース電極及びドレイン電極の一方と、は、互いに電気的に接続され、
前記第1のトランジスタのソース電極及びドレイン電極の他方と、前記第2のトランジスタのソース電極及びドレイン電極の他方と、前記第2のトランジスタのゲート電極と、は、互いに電気的に接続された、表示装置であって、
前記第1のトランジスタのゲート電極としての機能と、第1の配線としての機能と、を有する第1の導電層と、
前記第2のトランジスタのゲート電極としての機能を有する第2の導電層と、
前記第1の導電層の上面と接する領域と、前記第2の導電層の上面と接する領域と、を有する第1の絶縁層と、
前記第1の絶縁層を介して前記第1の導電層の上方に位置する領域を有する第1の酸化物半導体層と、
前記第1の絶縁層を介して前記第2の導電層の上方に位置する領域を有する第2の酸化物半導体層と、
前記第1の酸化物半導体層と接する領域と、前記第2の酸化物半導体層と接する領域と、を有し、且つ前記第1のトランジスタのソース電極及びドレイン電極の一方としての機能と、前記第2のトランジスタのソース電極及びドレイン電極の一方としての機能と、を有する第3の導電層と、
前記第1の導電層と交差する領域を有し、且つ前記第2のトランジスタのソース電極及びドレイン電極の他方としての機能と、第2の配線としての機能と、を有する第4の導電層と、
前記第3の導電層の上方に位置する領域と、前記第4の導電層の上方に位置する領域と、前記第1の酸化物半導体層の上方に位置する領域と、前記第2の酸化物半導体層の上方に位置する領域と、を有する第2の絶縁層と、
前記第2の絶縁層の上方に位置する領域を有し、且つ透光性を有する第5の導電層と、を有し、
前記第1の導電層と、前記第3の導電層とは、前記第5の導電層を介して電気的に接続され、
前記第5の導電層は、前記第2の絶縁層に設けられた第1の開口部を介して前記第3の導電層と接する領域を有し、
前記第5の導電層は、前記第2の絶縁層に設けられた第2の開口部と、前記第1の絶縁層に設けられ且つ前記第2の開口部との重なりを有する第3の開口部と、を介して前記第1の導電層と接する領域を有し、
平面視において、前記第1の開口部と、前記第2の開口部とは、第1の方向に沿って並んで配置され、
平面視において、前記第4の導電層は、前記第1の方向に沿って延在する領域を有する、表示装置。
続きを表示(約 4,100 文字)
【請求項2】
画素部と、前記画素部の外側に位置し且つ信号線と電気的に接続された回路と、を有し、
前記回路は、第1のトランジスタと、第2のトランジスタと、を有し、
前記第1のトランジスタのゲート電極と、前記第1のトランジスタのソース電極及びドレイン電極の一方と、前記第2のトランジスタのソース電極及びドレイン電極の一方と、は、互いに電気的に接続され、
前記第1のトランジスタのソース電極及びドレイン電極の他方と、前記第2のトランジスタのソース電極及びドレイン電極の他方と、前記第2のトランジスタのゲート電極と、は、互いに電気的に接続された、表示装置であって、
前記第1のトランジスタのゲート電極としての機能と、第1の配線としての機能と、を有する第1の導電層と、
前記第2のトランジスタのゲート電極としての機能を有する第2の導電層と、
前記第1の導電層の上面と接する領域と、前記第2の導電層の上面と接する領域と、を有する第1の絶縁層と、
前記第1の絶縁層を介して前記第1の導電層の上方に位置する領域を有する第1の酸化物半導体層と、
前記第1の絶縁層を介して前記第2の導電層の上方に位置する領域を有する第2の酸化物半導体層と、
前記第1の酸化物半導体層と接する領域と、前記第2の酸化物半導体層と接する領域と、を有し、且つ前記第1のトランジスタのソース電極及びドレイン電極の一方としての機能と、前記第2のトランジスタのソース電極及びドレイン電極の一方としての機能と、を有する第3の導電層と、
前記第1の導電層と交差する領域を有し、且つ前記第2のトランジスタのソース電極及びドレイン電極の他方としての機能と、第2の配線としての機能と、を有する第4の導電層と、
前記第3の導電層の上方に位置する領域と、前記第4の導電層の上方に位置する領域と、前記第1の酸化物半導体層の上方に位置する領域と、前記第2の酸化物半導体層の上方に位置する領域と、を有する第2の絶縁層と、
前記第2の絶縁層の上方に位置する領域を有し、且つ透光性を有する第5の導電層と、
前記第2の絶縁層の上方に位置する領域を有し、且つ透光性を有する第6の導電層と、を有し、
前記第1の導電層と、前記第3の導電層とは、前記第5の導電層を介して電気的に接続され、
前記第2の導電層と、前記第4の導電層とは、前記第6の導電層を介して電気的に接続され、
前記第5の導電層は、前記第2の絶縁層に設けられた第1の開口部を介して前記第3の導電層と接する領域を有し、
前記第5の導電層は、前記第2の絶縁層に設けられた第2の開口部と、前記第1の絶縁層に設けられ且つ前記第2の開口部との重なりを有する第3の開口部と、を介して前記第1の導電層と接する領域を有し、
平面視において、前記第1の開口部と、前記第2の開口部とは、第1の方向に沿って並んで配置され、
平面視において、前記第4の導電層は、前記第1の方向に沿って延在する領域を有する、表示装置。
【請求項3】
画素部と、前記画素部の外側に位置し且つ信号線と電気的に接続された回路と、を有し、
前記回路は、第1のトランジスタと、第2のトランジスタと、を有し、
前記第1のトランジスタのゲート電極と、前記第1のトランジスタのソース電極及びドレイン電極の一方と、前記第2のトランジスタのソース電極及びドレイン電極の一方と、は、互いに電気的に接続され、
前記第1のトランジスタのソース電極及びドレイン電極の他方と、前記第2のトランジスタのソース電極及びドレイン電極の他方と、前記第2のトランジスタのゲート電極と、は、互いに電気的に接続された、表示装置であって、
前記第1のトランジスタのゲート電極としての機能と、第1の配線としての機能と、を有する第1の導電層と、
前記第2のトランジスタのゲート電極としての機能を有する第2の導電層と、
前記第1の導電層の上面と接する領域と、前記第2の導電層の上面と接する領域と、を有する第1の絶縁層と、
前記第1の絶縁層を介して前記第1の導電層の上方に位置する領域を有する第1の酸化物半導体層と、
前記第1の絶縁層を介して前記第2の導電層の上方に位置する領域を有する第2の酸化物半導体層と、
前記第1の酸化物半導体層と接する領域と、前記第2の酸化物半導体層と接する領域と、を有し、且つ前記第1のトランジスタのソース電極及びドレイン電極の一方としての機能と、前記第2のトランジスタのソース電極及びドレイン電極の一方としての機能と、を有する第3の導電層と、
前記第2のトランジスタのソース電極及びドレイン電極の他方としての機能と、第2の配線としての機能と、を有する第4の導電層と、
前記第3の導電層の上方に位置する領域と、前記第4の導電層の上方に位置する領域と、前記第1の酸化物半導体層の上方に位置する領域と、前記第2の酸化物半導体層の上方に位置する領域と、を有する第2の絶縁層と、
前記第2の絶縁層の上方に位置する領域を有し、且つ透光性を有する第5の導電層と、を有し、
前記第1の導電層と、前記第3の導電層とは、前記第5の導電層を介して電気的に接続され、
前記第5の導電層は、前記第2の絶縁層に設けられた第1の開口部を介して前記第3の導電層と接する領域を有し、
前記第5の導電層は、前記第2の絶縁層に設けられた第2の開口部と、前記第1の絶縁層に設けられ且つ前記第2の開口部との重なりを有する第3の開口部と、を介して前記第1の導電層と接する領域を有し、
平面視において、前記第1の開口部と、前記第2の開口部とは、第1の方向に沿って並んで配置され、
平面視において、前記第4の導電層は、前記第1の方向に沿って延在する第1の領域を有し、
前記第1の導電層は、前記第1の方向と交差する第2の方向に沿って延在する第2の領域を有し、
前記第1の導電層は、前記第2の領域において前記第4の導電層と交差する部分を有し、
平面視において、前記第1の酸化物半導体層は、前記第2の酸化物半導体層と、前記第2の領域との間に位置する領域を有する、表示装置。
【請求項4】
画素部と、前記画素部の外側に位置し且つ信号線と電気的に接続された回路と、を有し、
前記回路は、第1のトランジスタと、第2のトランジスタと、を有し、
前記第1のトランジスタのゲート電極と、前記第1のトランジスタのソース電極及びドレイン電極の一方と、前記第2のトランジスタのソース電極及びドレイン電極の一方と、は、互いに電気的に接続され、
前記第1のトランジスタのソース電極及びドレイン電極の他方と、前記第2のトランジスタのソース電極及びドレイン電極の他方と、前記第2のトランジスタのゲート電極と、は、互いに電気的に接続された、表示装置であって、
前記第1のトランジスタのゲート電極としての機能と、第1の配線としての機能と、を有する第1の導電層と、
前記第2のトランジスタのゲート電極としての機能を有する第2の導電層と、
前記第1の導電層の上面と接する領域と、前記第2の導電層の上面と接する領域と、を有する第1の絶縁層と、
前記第1の絶縁層を介して前記第1の導電層の上方に位置する領域を有する第1の酸化物半導体層と、
前記第1の絶縁層を介して前記第2の導電層の上方に位置する領域を有する第2の酸化物半導体層と、
前記第1の酸化物半導体層と接する領域と、前記第2の酸化物半導体層と接する領域と、を有し、且つ前記第1のトランジスタのソース電極及びドレイン電極の一方としての機能と、前記第2のトランジスタのソース電極及びドレイン電極の一方としての機能と、を有する第3の導電層と、
前記第2のトランジスタのソース電極及びドレイン電極の他方としての機能と、第2の配線としての機能と、を有する第4の導電層と、
前記第3の導電層の上方に位置する領域と、前記第4の導電層の上方に位置する領域と、前記第1の酸化物半導体層の上方に位置する領域と、前記第2の酸化物半導体層の上方に位置する領域と、を有する第2の絶縁層と、
前記第2の絶縁層の上方に位置する領域を有し、且つ透光性を有する第5の導電層と、
前記第2の絶縁層の上方に位置する領域を有し、且つ透光性を有する第6の導電層と、を有し、
前記第1の導電層と、前記第3の導電層とは、前記第5の導電層を介して電気的に接続され、
前記第2の導電層と、前記第4の導電層とは、前記第6の導電層を介して電気的に接続され、
前記第5の導電層は、前記第2の絶縁層に設けられた第1の開口部を介して前記第3の導電層と接する領域を有し、
前記第5の導電層は、前記第2の絶縁層に設けられた第2の開口部と、前記第1の絶縁層に設けられ且つ前記第2の開口部との重なりを有する第3の開口部と、を介して前記第1の導電層と接する領域を有し、
平面視において、前記第1の開口部と、前記第2の開口部とは、第1の方向に沿って並んで配置され、
平面視において、前記第4の導電層は、前記第1の方向に沿って延在する第1の領域を有し、
前記第1の導電層は、前記第1の方向と交差する第2の方向に沿って延在する第2の領域を有し、
前記第1の導電層は、前記第2の領域において前記第4の導電層と交差する部分を有し、
平面視において、前記第1の酸化物半導体層は、前記第2の酸化物半導体層と、前記第2の領域との間に位置する領域を有する、表示装置。
発明の詳細な説明
【技術分野】
【0001】
本発明は、酸化物半導体を用いる表示装置に関する。
続きを表示(約 1,800 文字)
【背景技術】
【0002】
液晶表示装置に代表されるように、ガラス基板等の平板に形成される薄膜トランジスタは
、アモルファスシリコン、多結晶シリコンによって作製されている。アモルファスシリコ
ンを用いた薄膜トランジスタは、電界効果移動度が低いもののガラス基板の大面積化に対
応することができ、一方、多結晶シリコンを用いた薄膜トランジスタは電界効果移動度は
高いものの、レーザアニール等の結晶化工程が必要であり、ガラス基板の大面積化には必
ずしも適応しないといった特性を有している。
【0003】
これに対し、酸化物半導体を用いて薄膜トランジスタを作製し、電子デバイスや光デバイ
スに応用する技術が注目されている。例えば、酸化物半導体膜として酸化亜鉛(ZnO)
や、In-Ga-Zn-O系酸化物半導体を用いて薄膜トランジスタを作製し、画像表示
装置のスイッチング素子などに用いる技術が特許文献1及び特許文献2で開示されている
。
【先行技術文献】
【特許文献】
【0004】
特開2007-123861号公報
特開2007-96055号公報
【発明の概要】
【発明が解決しようとする課題】
【0005】
酸化物半導体をチャネル形成領域とする薄膜トランジスタは、アモルファスシリコンを用
いた薄膜トランジスタよりも動作速度が速く、多結晶シリコンを用いた薄膜トランジスタ
よりも製造工程が簡単であるといった特性を有している。すなわち、酸化物半導体を用い
ることによって、300℃以下の低温であっても、電界効果移動度が高い薄膜トランジス
タを作製することが可能である。
【0006】
動作特性に優れ低温で製造可能な酸化物半導体を用いた表示装置の特性を活かすには、適
切な構成を備えた保護回路等が必要となる。また、酸化物半導体を用いた表示装置の信頼
性を保証することが重要となってくる。
【0007】
本発明の一態様は、保護回路として適した構造を提供することを目的の一とする。
【0008】
本発明の一態様は、酸化物半導体の他、絶縁膜及び導電膜を積層して作製される各種用途
の表示装置において、薄膜の剥がれに起因する不良を防止することを目的の一とする。
【課題を解決するための手段】
【0009】
本発明の一態様は、酸化物半導体を用いて構成される非線形素子で保護回路が形成された
表示装置である。この非線形素子は酸素の含有量が異なる酸化物半導体を組み合わせて構
成されている。
【0010】
本発明の例示的な一態様は、絶縁表面を有する基板上に走査線と信号線が交差して設けら
れ、画素電極がマトリクス状に配列する画素部と、該画素部の外側領域に酸化物半導体で
形成された非線形素子を有する表示装置である。画素部は、第1酸化物半導体層にチャネ
ル形成領域が形成される薄膜トランジスタを有する。画素部の薄膜トランジスタは、走査
線と接続するゲート電極と、信号線と接続し第1酸化物半導体層に接する第1配線層と、
画素電極と接続し第1酸化物半導体層に接する第2配線層とを有する。基板の周辺部に配
設される信号入力端子と画素部の間には非線形素子が設けられている。非線形素子は、ゲ
ート電極及び該ゲート電極を被覆するゲート絶縁層と、ゲート絶縁層上においてゲート電
極と端部が重畳し、第2酸化物半導体層と導電層が積層された一対の第1配線層及び第2
配線層と、少なくともゲート電極と重畳しゲート絶縁層及び該第1配線層及び該第2配線
層における導電層の側面部及び上面部の一部と第2酸化物半導体層の側面部と接する第1
酸化物半導体層とを有している。非線形素子のゲート電極は走査線又は信号線と接続され
、非線形素子の第1配線層又は第2配線層が、ゲート電極の電位が第1配線層又は第2配
線層に印加されるように第3配線層によってゲート電極に接続されている。
(【0011】以降は省略されています)
この特許をJ-PlatPat(特許庁公式サイト)で参照する
関連特許
個人
半導体装置
1か月前
個人
積和演算用集積回路
22日前
サンケン電気株式会社
半導体装置
21日前
エイブリック株式会社
縦型ホール素子
1か月前
旭化成株式会社
発光素子
1か月前
日機装株式会社
半導体発光装置
16日前
エイブリック株式会社
縦型ホール素子
1か月前
富士通株式会社
半導体装置
1か月前
ローム株式会社
抵抗チップ
1か月前
株式会社東芝
半導体装置
8日前
三菱電機株式会社
半導体装置
1か月前
富士電機株式会社
半導体装置
1か月前
三菱電機株式会社
半導体装置
1か月前
三菱電機株式会社
半導体装置
8日前
株式会社半導体エネルギー研究所
表示装置
1か月前
TDK株式会社
圧電素子
1か月前
日亜化学工業株式会社
発光装置
1か月前
ローム株式会社
半導体集積回路
1か月前
日亜化学工業株式会社
発光素子
1か月前
日亜化学工業株式会社
発光装置
1か月前
ローム株式会社
半導体装置
1か月前
富士電機株式会社
半導体装置の製造方法
1か月前
株式会社半導体エネルギー研究所
発光デバイス
29日前
ローム株式会社
窒化物半導体装置
1か月前
ローム株式会社
半導体装置
21日前
ローム株式会社
窒化物半導体装置
1か月前
サンケン電気株式会社
半導体装置
8日前
ローム株式会社
半導体装置
1か月前
株式会社半導体エネルギー研究所
発光デバイス
16日前
日亜化学工業株式会社
発光素子
21日前
株式会社カネカ
太陽電池モジュール
1か月前
大日本印刷株式会社
太陽電池
1か月前
日本電気株式会社
超伝導量子回路装置
1か月前
株式会社MARUWA
発光装置及び照明器具
1か月前
サンケン電気株式会社
発光装置
1か月前
今泉工業株式会社
光発電装置及びその製造方法
1か月前
続きを見る
他の特許を見る