TOP
|
特許
|
意匠
|
商標
特許ウォッチ
Twitter
他の特許を見る
10個以上の画像は省略されています。
公開番号
2025172317
公報種別
公開特許公報(A)
公開日
2025-11-26
出願番号
2024077743
出願日
2024-05-13
発明の名称
NOR型フラッシュメモリおよびその製造方法
出願人
ウィンボンド エレクトロニクス コーポレーション
代理人
個人
主分類
H10B
43/27 20230101AFI20251118BHJP()
要約
【課題】 非選択セルのリーク電流を抑制し、かつNAND型フラッシュメモリと互換性のあるNOR型フラッシュメモリを提供する。
【解決手段】 本発明のNOR型フラッシュメモリ100は、ビット線方向に延在するようにシリコン基板110内に形成された活性領域120と、活性領域120と隣接するトレンチ130と、活性領域120上にメモリセル毎に形成された電荷蓄積層140と、トレンチ130内に形成され、活性領域120の側壁に形成された側壁絶縁物162と、電荷蓄積層140上にメモリセル毎に形成された第1のコントロールゲート150と、ワード線方向に延在するように第1のコントロールゲート150上に形成された第2のコントロールゲート170とを含む。第2のコントロールゲート170は、第1のコントロールゲート120と電気的に接続し、かつトレンチ130内において側壁絶縁物162に接する。
【選択図】 図2
特許請求の範囲
【請求項1】
NOR型フラッシュメモリであって、
半導体基板内にビット線方向に延在するように形成された活性領域と、
前記活性領域に隣接するトレンチと、
前記活性領域上にメモリセル毎に形成され、絶縁層に挟まれた窒化物層を含む電荷蓄積層と、
前記トレンチ内に形成され、前記活性領域の側壁に形成された側壁絶縁体と、
前記電荷蓄積層上にメモリセル毎に形成された第1の導電層と、
ワード線方向に延在するように前記第1の導電層上に形成された第2の導電層とを含み、
前記第2の導電層は、前記第1の導電層と電気的に接続し、かつ前記トレンチ内において前記側壁絶縁体に接する、NOR型フラッシュメモリ。
続きを表示(約 1,300 文字)
【請求項2】
メモリセルは、前記活性領域の表面側に形成されたメモリセルトランジスタと前記活性領域の側面側に形成された側壁トランジスタとから構成される、請求項1に記載のNOR型フラッシュメモリ。
【請求項3】
前記メモリセルトランジスタのチャンネル領域に隣接するソース/ドレイン領域が前記活性領域の表面に形成され、前記側壁トランジスタのチャンネルに隣接するソース/ドレイン領域が前記活性領域の側面に形成される、請求項2に記載のNOR型フラッシュメモリ。
【請求項4】
前記トレンチは、前記第1の導電層および前記電荷蓄積層の側壁に整合する、請求項1に記載のNOR型フラッシュメモリ。
【請求項5】
前記電荷蓄積層は、酸化物/窒化物/酸化物のONO構造、もしくはシリコン基板と前記窒化物層との間に酸化物以外の複数種類の絶縁膜の積層を含む構造、もしくは前記窒化物と前記第1の導電層との間に酸化物以外の複数種類の絶縁膜の積層を含む構造を含む、請求項1に記載のNOR型フラッシュメモリ。
【請求項6】
前記メモリセルトランジスタと前記側壁トランジスタとは並列に接続され、
ビット線側選択トランジスタとソース線側選択トランジスタとの間に複数のメモリセルが直列に接続される、請求項2に記載のNOR型フラッシュメモリ。
【請求項7】
前記ビット線側選択トランジスタは、ビット線に電気的に接続され、前記ソース線側選択トランジスタは、ソース線に電気的に接続される、請求項6に記載のNOR型フラッシュメモリ。
【請求項8】
前記トレンチは、前記第1の導電層、前記電荷蓄積層および前記半導体基板をエッチングするときに自己整合的に形成される、請求項5にNOR型フラッシュメモリ。
【請求項9】
NOR型フラッシュメモリの製造方法であって、
半導体基板上に、絶縁層に挟まれた窒化物層を含む電荷蓄積層と第1の導電層との積層を形成するステップと、
前記第1の導電層、前記電荷蓄積層および前記半導体基板を同時にエッチングし、ビット線方向に前記第1の導電層および前記電荷蓄積層をパターニングするとともに、前記半導体基板に活性領域を規定するトレンチを形成するステップと、
前記電荷蓄積層、前記第1の導電層および前記活性領域の側壁を覆う側壁絶縁物を形成するステップと、
前記側壁絶縁物および前記第1の導電層を覆うようにワード線方向に延在する第2の導電層を形成するステップと、
前記第2の導電層によって覆われていない前記活性領域の表面および側面にソース/ドレイン用の不純物領域を形成するステップと、
を有する製造方法。
【請求項10】
製造方法はさらに、
前記第1の導電層を含む半導体基板の全面に前記第2の導電層を形成するステップと、
前記第2の導電層、前記第1の導電層および前記電荷蓄積層を同時にエッチングし、ワード線方向に前記第2の導電層、前記第1の導電層および前記電荷蓄積層をパターニングするステップを含む、請求項9に記載の製造方法。
(【請求項11】以降は省略されています)
発明の詳細な説明
【技術分野】
【0001】
本発明は、不揮発性半導体記憶装置に関し、特に、2次元構造(2D)のNOR型フラッシュメモリに関する。
続きを表示(約 2,400 文字)
【背景技術】
【0002】
NOR型フラッシュメモリでは、電荷保持特性に優れているフローティングゲート(FG)をセル構造に採用している。フローティングゲートは、例えば、ポリシリコンから構成される。例えば、特許文献1は、フローティングゲートとドレイン層との重複領域をフローティングゲートとソース層との重複領域よりも狭くすることで、動作速度を劣化させることなく電源電圧を低電圧化するNOR型フラッシュメモリを開示している。
【先行技術文献】
【特許文献】
【0003】
特開2006-339207号公報
【発明の概要】
【発明が解決しようとする課題】
【0004】
従来のFG型のNOR型フラッシュメモリでは、微細化が進むことによって、読み出し及び書き込み時に非選択セルでビット線とソース線の間のリーク電流が大きくなり、正常な動作をすることが出来なくなるという問題があり、45nm以下にゲート長を形成することができなかった。このため、セル面積の縮小をすることができなかった。
【0005】
また、高速アクセス可能なNOR型フラッシュメモリと大記憶容量のNAND型フラッシュメモリとを含むチップの要求があるが、その場合、両者のセルアレイ構造や製造プロセスに互換性が求められる。
【0006】
本発明は、このような従来の課題を解決し、非選択セルのリーク電流を抑制し、かつNAND型フラッシュメモリと互換性のあるNOR型フラッシュメモリおよびその製造方法を提供することを目的とする。
【課題を解決するための手段】
【0007】
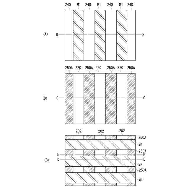
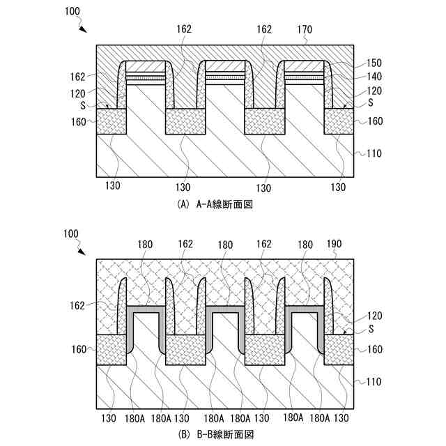
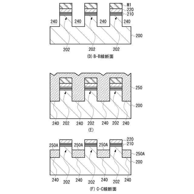
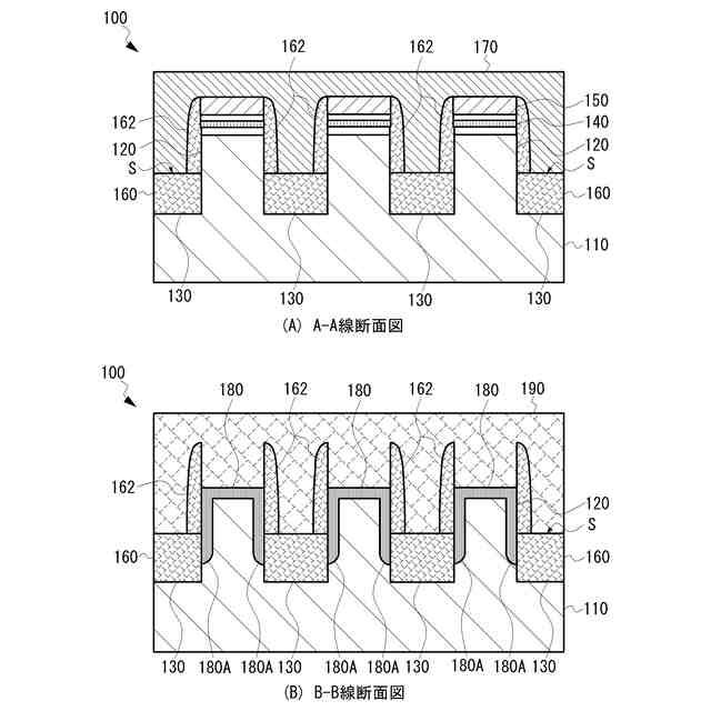
本発明に係るNOR型フラッシュメモリは、半導体基板内にビット線方向に延在するように形成された活性領域と、前記活性領域に隣接するトレンチと、前記活性領域上にメモリセル毎に形成され、絶縁層に挟まれた窒化物層を含む電荷蓄積層と、前記トレンチ内に形成され、前記活性領域の側壁に形成された側壁絶縁体と、前記電荷蓄積層上にメモリセル毎に形成された第1の導電層と、ワード線方向に延在するように前記第1の導電層上に形成された第2の導電層とを含み、前記第2の導電層は、前記第1の導電層と電気的に接続し、かつ前記トレンチ内において前記側壁絶縁体に接する。
【0008】
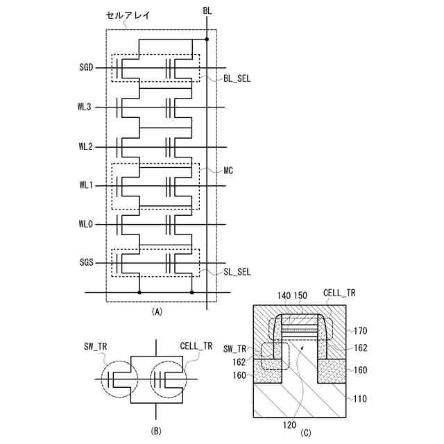
ある態様では、メモリセルは、前記活性領域の表面側に形成されたメモリセルトランジスタと前記活性領域の側面側に形成された側壁トランジスタとから構成される。ある態様では、前記メモリセルトランジスタのチャンネル領域に隣接するソース/ドレイン領域が前記活性領域の表面に形成され、前記側壁トランジスタのチャンネルに隣接するソース/ドレイン領域が前記活性領域の側面に形成される。ある態様では、前記トレンチは、前記第1の導電層および前記電荷蓄積層の側壁に整合する。ある態様では、前記電荷蓄積層は、酸化物/窒化物/酸化物のONO構造、もしくはシリコン基板と前記窒化物層との間に酸化物以外の複数種類の絶縁膜の積層を含む構造、もしくは前記窒化物と前記第1の導電層との間に酸化物以外の複数種類の絶縁膜の積層を含む構造を含む。ある態様では、前記メモリセルトランジスタと前記側壁トランジスタとは並列に接続され、ビット線側選択トランジスタとソース線側選択トランジスタとの間に複数のメモリセルが直列に接続される。ある態様では、前記ビット線側選択トランジスタは、ビット線に電気的に接続され、前記ソース線側選択トランジスタは、ソース線に電気的に接続される。ある態様では、前記トレンチは、前記第1の導電層、前記電荷蓄積層および前記半導体基板をエッチングするときに自己整合的に形成される。
【0009】
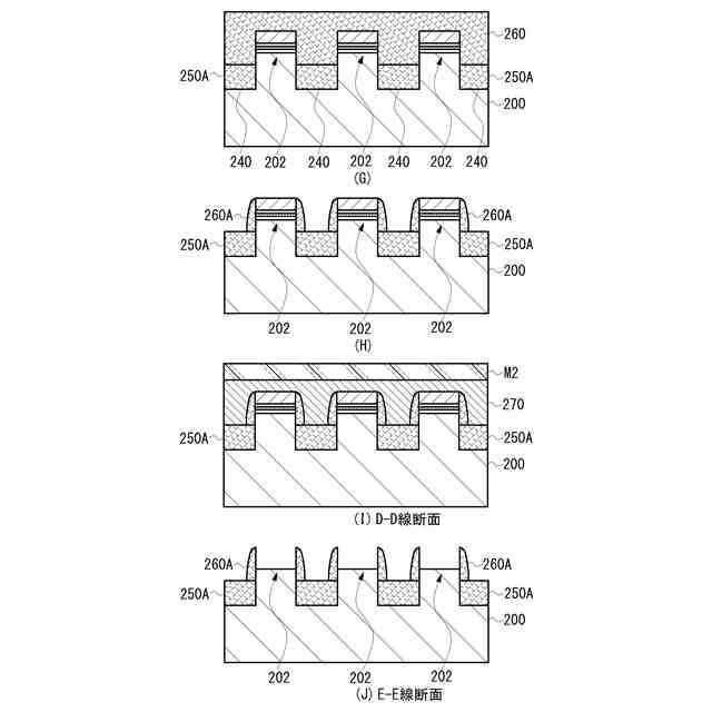
本発明に係るNOR型フラッシュメモリの製造方法は、半導体基板上に、絶縁層に挟まれた窒化物層を含む電荷蓄積層と第1の導電層との積層を形成するステップと、前記第1の導電層、前記電荷蓄積層および前記半導体基板を同時にエッチングし、ビット線方向に前記第1の導電層および前記電荷蓄積層をパターニングするとともに、前記半導体基板に活性領域を規定するトレンチを形成するステップと、前記電荷蓄積層、前記第1の導電層および前記活性領域の側壁を覆う側壁絶縁物を形成するステップと、前記側壁絶縁物および前記第1の導電層を覆うようにワード線方向に延在する第2の導電層を形成するステップと、前記第2の導電層によって覆われていない前記活性領域の表面および側面にソース/ドレイン用の不純物領域を形成するステップとを有する。
【0010】
ある態様では、製造方法はさらに、前記第1の導電層を含む半導体基板の全面に前記第2の導電層を形成するステップと、前記第2の導電層、前記第1の導電層および前記電荷蓄積層を同時にエッチングし、ワード線方向に前記第2の導電層、前記第1の導電層および前記電荷蓄積層をパターニングするステップを含む。ある態様では、製造方法はさらに、前記トレンチ内を絶縁物で充填するステップを含み、充填された絶縁物の表面は、前記活性領域の表面よりも低く、前記側壁絶縁物の底部が前記絶縁物に接続される。ある態様では、製造方法はさらに、セルアレイ領域を覆うマスクパターンを形成し、周辺領域上の前記電荷蓄積層および前記第1の導電層を除去するステップと、周辺領域上に前記電荷蓄積層および前記第1の導電層と分離されたゲート絶縁膜およびゲート材料を形成するステップとを含む。ある態様では、前記ゲート絶縁膜およびゲート材料を形成するステップは、半導体基板の全面に前記ゲート絶縁膜および前記ゲート材料を形成し、セルアレイ領域上の第1の導電層が露出するまで前記ゲート絶縁膜および前記ゲート材料を平坦化することを含む。
【発明の効果】
(【0011】以降は省略されています)
この特許をJ-PlatPat(特許庁公式サイト)で参照する
関連特許
個人
積和演算用集積回路
21日前
サンケン電気株式会社
半導体装置
20日前
日機装株式会社
半導体発光装置
15日前
エイブリック株式会社
縦型ホール素子
1か月前
エイブリック株式会社
縦型ホール素子
1か月前
旭化成株式会社
発光素子
1か月前
富士通株式会社
半導体装置
1か月前
ローム株式会社
抵抗チップ
1か月前
株式会社東芝
半導体装置
7日前
富士電機株式会社
半導体装置
1か月前
株式会社半導体エネルギー研究所
表示装置
1か月前
三菱電機株式会社
半導体装置
29日前
三菱電機株式会社
半導体装置
7日前
日亜化学工業株式会社
発光装置
1か月前
日亜化学工業株式会社
発光装置
1か月前
日亜化学工業株式会社
発光素子
1か月前
ローム株式会社
半導体集積回路
29日前
TDK株式会社
圧電素子
1か月前
ローム株式会社
半導体装置
1か月前
富士電機株式会社
半導体装置の製造方法
1か月前
ローム株式会社
窒化物半導体装置
1か月前
ローム株式会社
半導体装置
20日前
ローム株式会社
半導体装置
1か月前
株式会社半導体エネルギー研究所
発光デバイス
15日前
ローム株式会社
窒化物半導体装置
1か月前
株式会社半導体エネルギー研究所
発光デバイス
28日前
サンケン電気株式会社
半導体装置
7日前
大日本印刷株式会社
太陽電池
1か月前
日亜化学工業株式会社
発光素子
20日前
株式会社カネカ
太陽電池モジュール
1か月前
株式会社MARUWA
発光装置及び照明器具
1か月前
サンケン電気株式会社
発光装置
1か月前
日本電気株式会社
超伝導量子回路装置
1か月前
日本ゼオン株式会社
構造体
22日前
日亜化学工業株式会社
発光装置
29日前
ローム株式会社
半導体装置
7日前
続きを見る
他の特許を見る