TOP
|
特許
|
意匠
|
商標
特許ウォッチ
Twitter
他の特許を見る
10個以上の画像は省略されています。
公開番号
2025172079
公報種別
公開特許公報(A)
公開日
2025-11-20
出願番号
2025139101,2023106581
出願日
2025-08-22,2019-11-26
発明の名称
機械学習技術を使用するナノ細孔シグナルの分析
出願人
オックスフォード ナノポール テクノロジーズ ピーエルシー
代理人
個人
,
個人
,
個人
主分類
C12M
1/34 20060101AFI20251113BHJP(生化学;ビール;酒精;ぶどう酒;酢;微生物学;酵素学;突然変異または遺伝子工学)
要約
【課題】本発明が解決しようとする課題は、高い推定精度を有する、例えばポリヌクレオチドなどのナノ細孔に対するポリマーの転位中のポリマーによって生じるシグナルの分析を可能とすることである。
【解決手段】本発明は、ポリマーによって生じるシグナルをナノ細孔に対する前記ポリマーの転位中に分析する方法であって、前記ポリマーが、可能なポリマー単位タイプのセットに属する一連のポリマー単位を含み、
前記方法が、
一連の重み分布を出力する機械学習技術を使用して前記シグナルを分析するステップであって、各重み分布が、前記可能なポリマー単位タイプを表すラベルを含む、ラベルのセットにわたるラベル間の遷移に関する重みを含む、ステップと、
前記重み分布から前記一連のポリマー単位の推定値を導出するステップと
を含む、方法に関する。
【選択図】なし
特許請求の範囲
【請求項1】
ポリマーによって生じるシグナルをナノ細孔に対する前記ポリマーの転位中に分析する方法であって、前記ポリマーが、可能なポリマー単位タイプのセットに属する一連のポリマー単位を含み、
前記方法が、
一連の重み分布を出力する機械学習技術を使用して前記シグナルを分析するステップであって、各重み分布が、前記可能なポリマー単位タイプを表すラベルを含む、ラベルのセットにわたるラベル間の遷移に関する重みを含む、ステップと、
前記重み分布から前記一連のポリマー単位の推定値を導出するステップと
を含む、前記方法。
続きを表示(約 1,300 文字)
【請求項2】
ラベル間の少なくとも1つの遷移が許容されておらず、他の遷移が許容されており、前記重み分布がそれぞれ、許容されている遷移に関する重みを含む、請求項1に記載の方法。
【請求項3】
前記重み分布がそれぞれ、許容されていない遷移に関するヌル重みを含む、請求項2に記載の方法。
【請求項4】
前記一連のポリマー単位の推定値を導出するステップは、ラベル間の遷移が許容されているか許容されていないかを表す遷移行列を考慮に入れる、請求項2または3に記載の方法。
【請求項5】
前記ラベルのセットが、各ポリマー単位タイプに関する第1のラベルおよび第2のラベルを含み、前記第1のラベルが、前記ポリマー単位タイプのインスタンスの開始を表し、前記第2のラベルが、前記ポリマー単位タイプの前記インスタンスにおけるステイを表し、
各第1のラベルから任意の他のポリマー単位タイプの前記第1のラベルへの遷移が許容されており、
各第1のラベルから同じポリマー単位タイプの前記第1のラベルへの遷移が許容されており、
各第1のラベルから同じポリマー単位タイプの前記第2のラベルへの遷移が許容されており、
各第1のラベルから任意の他のポリマー単位タイプの前記第2のラベルへの遷移が許容されておらず、
各第2のラベルから同じポリマー単位タイプの前記第1のラベル、または任意の他のポリマー単位タイプの前記第1のラベルへの遷移が許容されており、
各第2のラベルから同じポリマー単位タイプの前記第2のラベルへの遷移が許容されており、
各第2のラベルから任意の他のポリマー単位タイプの前記第2のラベルへの遷移が許容されていない、請求項2~4のいずれか一項に記載の方法。
【請求項6】
前記可能なポリマー単位タイプのセットが、ポリマー単位の既知の配列で常に現れるポリマー単位タイプを含み、前記既知の配列に従った遷移が許容されており、前記既知の配列に反した遷移が許容されていない、請求項2~5のいずれか一項に記載の方法。
【請求項7】
前記一連のポリマー単位における同じタイプのポリマー単位の連続的インスタンスが符号化形式で表される、請求項1~6のいずれか一項に記載の方法。
【請求項8】
前記ラベルが、各ポリマー単位タイプに関する複数のラベルを含み、各ポリマー単位タイプに関する前記複数のラベルが、前記一連のポリマー単位における前記ポリマー単位タイプの連続的インスタンスを表す、請求項7に記載の方法。
【請求項9】
各ポリマー単位タイプの前記複数のラベルが、所定の周期的順序を有し、それによって、ラベル間のいくつかの遷移が、前記所定の周期的順序によって許容されており、間の他の遷移が、前記所定の周期的順序によって許容されておらず、前記重み分布が各々、前記所定の周期的順序によって許容されている遷移に関する重みを含む、請求項8に記載の方法。
【請求項10】
各ポリマー単位タイプの前記複数のラベルが、各ポリマー単位タイプの2つのラベルである、請求項8または9に記載の方法。
(【請求項11】以降は省略されています)
発明の詳細な説明
【技術分野】
【0001】
本発明は、限定されるものではないが、例えばポリヌクレオチドなどのナノ細孔に対するポリマーの転位中のポリマーによって生じるシグナルの分析に関する。
続きを表示(約 2,200 文字)
【0002】
ポリマーがナノ細孔に対して転位するナノ細孔を使用して、ポリマー中のポリマー単位の標的配列を推定するための測定システムは、既知である。システムのいくつかの特性は、ナノ細孔のポリマー単位に依存し、その特性の測定値が得られる。この特性は、ナノ細孔に対して転位するポリマー単位の一致度に依存しており、そのため、経時的なシグナルで、ポリマー単位のシーケンスが推定されることを可能にする。各ポリマー単位は、細孔の寸法と比較して非常に小さいものであり得、複数のポリマー単位が所与の期間でシグナルに影響を及ぼすことを可能にする。ポリマー鎖とナノ細孔との相互作用、巻き取りやスタッキングなどの鎖内の特性、またはポリマー単位とそれらの移動を制御するために使用されるいずれかのシステムとの間の相互作用により、より長距離の影響も存在し得る。シグナルはリードを形成し、これは基礎となるポリマー単位を推定するために復号される必要がある。
【0003】
このようなナノ細孔測定システムは、ヌクレオチドが数百~数十万(および場合によってはそれ超)にも及ぶようなポリヌクレオチドの長い連続リードを表すシグナルを提供することができる。ナノ細孔を使用するこのタイプの測定システムは、特にDNAまたはRNAなどのポリヌクレオチドの配列決定の分野で非常に効果的であることが示されており、最新の開発対象になっている。
【0004】
しかしながら、ポリマー単位の推定の精度は、測定システムの感度が極端に高いために制限される。実際の問題として、高精度の推定は機械学習技術を必要とし、本発明は、推定精度を高めるためにそのような分析を改善することに関する。
【0005】
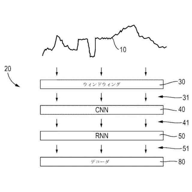
初期の分析手法は、連続するポリマー単位のグループで構成される可能なk-merを明確にモデル化する隠れマルコフモデル(HMM)が使用された。より最近では、リカレントニューラルネットワーク(RNN)を使用する手法が開発されている。RNNを使用することで、長距離情報を考慮することが可能になり、精度を向上することができる。読み取り速度が向上し、その結果、HMMのような明示的なシグナルモデリングアプローチの基礎となる仮定の有効性が低くなることから、RNNは特に有用である。例として、Teng et al,“Chiron:Translating nanopore raw signal directly into nucleotide sequence using deep learning”,Gigascience,2018年5月1日;7(5)[参考文献1]は、生シグナルが入力されるRNNを使用してポリマーヌクレオチドを配列決定する方法を開示する。RNNは、4つの可能性のある塩基タイプとブランクを表すラベルに関する事後確率を含む一連の事後確率分布を出力する。これらは、コネクショニスト時間分類(connectionist temporal classification)デコーダによって復号され、事後確率から最も可能性の高いポリマー単位を推定することによって、一連のポリマー単位の推定値を導出する。
【0006】
本発明の第1の態様によれば、ポリマーによって生じるシグナルをナノ細孔に対するポリマーの転位中に分析する方法が提供されており、ポリマーは、可能なポリマー単位タイプのセットに属する一連のポリマー単位を含んでおり、本方法は、一連の重み分布を出力する機械学習技術を使用してシグナルを分析することであって、各重み分布が、可能なポリマー単位タイプを表すラベルを含んだラベルのセットにわたるラベル間の遷移に関する重みを含んでいることと、重み分布から一連のポリマー単位の推定値を導出することと、を含む。
【0007】
ラベルのセットは、ブランクおよび/またはステイを表すラベルを含むことができる。言い換えると、このセットは、可能なポリマー単位タイプを表すと言うことができる。
【0008】
この遷移は、あるラベルと別のラベルとの間のものであり得る。この遷移は、連続するラベル間のものであり得る。
【0009】
したがって、本方法は、k個のポリマー単位を含むk-merを表すのではなく、可能なポリマー単位タイプを表すラベルを示す重みを提供する。しかしながら、本方法は、ラベル自体に関する重みではなく、ラベル間の遷移に関する重みを導出する。そのような方法は、可能なポリマー単位タイプを表すラベルを含むラベルのセットにわたるラベルに関する一連の重みを導出する比較法よりも利点をもたらす。ラベルのセットにわたるラベル間の遷移に関する重みを提供することにより、より正確な様式で一連のポリマー単位の推定を可能にする追加情報が提供される。これは、重みがラベルの可能な経路に関する情報を提供するのに対し、ラベルに関する重みは提供しないためである。
【0010】
例えば、ラベルに関する重みによって予測される特定の位置について、ラベルが正しくない状況があるが、一方で、その位置を通るラベルの経路を考慮することで、正しい別のラベルが予測され得る。このようにして、追加情報が推定に供給され、それによって精度を向上させる。
(【0011】以降は省略されています)
この特許をJ-PlatPat(特許庁公式サイト)で参照する
関連特許
個人
抗遺伝子劣化装置
2か月前
個人
細胞内探査とその利用
3か月前
雪国アグリ株式会社
単糖類の製造方法
1か月前
株式会社タクマ
バイオマス処理装置
3か月前
株式会社東洋新薬
経口組成物
3か月前
株式会社タクマ
バイオマス処理装置
3か月前
日油株式会社
蛋白質安定化剤
4か月前
テルモ株式会社
吐出デバイス
2か月前
東ソー株式会社
pH応答性マイクロキャリア
2か月前
テルモ株式会社
容器蓋デバイス
2か月前
宝酒造株式会社
アルコール飲料
1か月前
島根県
油吸着材とその製造方法
1か月前
大陽日酸株式会社
培養装置
2か月前
大陽日酸株式会社
培養装置
2か月前
トヨタ自動車株式会社
バイオ燃料製造方法
2か月前
株式会社ファンケル
SEC12タンパク発現促進剤
4か月前
個人
有機フッ素化合物を分解する廃液処理法
1か月前
月桂冠株式会社
低プリン体清酒
26日前
株式会社豊田中央研究所
細胞励起装置
1か月前
株式会社カクサスバイオ
新規免疫抑制方法
11日前
テルモ株式会社
採取組織細切補助デバイス
2か月前
株式会社シャローム
スフィンゴミエリン製造方法
2か月前
株式会社村田製作所
濾過装置および濾過方法
1か月前
株式会社今宮
瓶詰ビールの加熱殺菌方法および装置
2か月前
新東工業株式会社
培養システム
1か月前
横河電機株式会社
藻類培養装置
2か月前
公立大学法人北九州市立大学
微生物の検知方法
3か月前
株式会社ショウワ
キトサンオリゴマー分画方法
1か月前
東ソー株式会社
免疫グロブリン結合性タンパク質の製造方法
16日前
住友金属鉱山株式会社
連続発酵方法及び連続発酵装置
2か月前
東ソー株式会社
免疫学的測定法
1か月前
個人
酒粕パウダーの製造方法
3日前
株式会社日本触媒
スフェロイドの輸送方法
1か月前
フジッコ株式会社
エリナシンAの産生方法
1か月前
株式会社カネカ
予測方法及び製造方法
1か月前
住友ベークライト株式会社
培養キット
2か月前
続きを見る
他の特許を見る