TOP
|
特許
|
意匠
|
商標
特許ウォッチ
Twitter
他の特許を見る
公開番号
2025172076
公報種別
公開特許公報(A)
公開日
2025-11-20
出願番号
2025137554,2024513460
出願日
2025-08-21,2022-08-29
発明の名称
通気ゾーンに非円形穿孔を有するエアロゾル発生物品
出願人
フィリップ・モーリス・プロダクツ・ソシエテ・アノニム
代理人
個人
,
個人
,
個人
,
個人
,
個人
主分類
A24D
1/20 20200101AFI20251113BHJP(たばこ;葉巻たばこ;紙巻たばこ;喫煙具)
要約
【課題】新しい改善されたエアロゾル発生物品を提供する。
【解決手段】本発明は、エアロゾル発生基体のロッド(12)を含むエアロゾル発生物品(10)に関する。エアロゾル発生物品は、エアロゾル発生基体のロッドの下流に配置された通気ゾーン(60)をさらに備える。通気ゾーンは穿孔を備える。穿孔のうちの一つ以上は、楕円率を有する非円形断面を有し、楕円率は、穿孔の大径を穿孔の小径で割った比であり、少なくとも1.5である。通気ゾーンの周辺壁の厚さは、0.1ミリメートル~2.5ミリメートルである。一つ以上の穿孔は、0.05ミリメートル~0.2ミリメートルの幅および0.25ミリメートル~1.0ミリメートルの長さを有する。本発明はさらに、エアロゾル発生物品を受容するための空洞を有するエアロゾル発生装置を備えるエアロゾル発生システムに関する。本発明はさらに、エアロゾル発生物品を製造するための方法に関する。
【選択図】図1
特許請求の範囲
【請求項1】
エアロゾル発生物品であって、
エアロゾル発生基体のロッドと、
前記エアロゾル発生基体のロッドの下流に配置された通気ゾーンと、を備え、
前記通気ゾーンが穿孔を含み、前記穿孔のうちの一つ以上が、楕円率を有する非円形断面を有し、前記楕円率が、穿孔の大径を前記穿孔の小径で割った比であり、少なくとも1.5であり、前記通気ゾーンの周辺壁の厚さが0.1ミリメートル~2.5ミリメートルであり、一つ以上の穿孔が、0.05ミリメートル~0.2ミリメートル、好ましくは、0.1ミリメートル~0.15ミリメートル、最も好ましくは0.11ミリメートル~0.13ミリメートルの幅を有し、一つ以上の穿孔が、0.25ミリメートル~1.0ミリメートル、好ましくは、0.4ミリメートル~0.8ミリメートル、最も好ましくは0.5ミリメートル~0.6ミリメートルの長さを有する、エアロゾル発生物品。
続きを表示(約 1,300 文字)
【請求項2】
前記穿孔のうちの一つ以上が楕円形断面を有する、請求項1に記載のエアロゾル発生物品。
【請求項3】
前記穿孔のうちの一つ以上がスリット形状である、請求項1または2のいずれかに記載のエアロゾル発生物品。
【請求項4】
前記穿孔のうちの一つ以上について、前記穿孔の長さが、前記穿孔の幅よりも大きく、好ましくは、前記穿孔のうちの一つ以上について、前記穿孔の長軸方向軸が、前記エアロゾル発生物品の長軸方向軸に平行である、請求項1~3のいずれかに記載のエアロゾル発生物品。
【請求項5】
前記穿孔の前記楕円率が、少なくとも2、好ましくは少なくとも3、より好ましくは少なくとも4、最も好ましくは少なくとも5である、請求項1~4のいずれかに記載のエアロゾル発生物品。
【請求項6】
前記通気ゾーンが、中空管状通気ゾーンとして構成され、前記中空管状通気ゾーンの内径が、2.5ミリメートル~5.0ミリメートル、好ましくは3.0ミリメートル~4.0ミリメートル、より好ましくは3.1ミリメートル~3.5ミリメートル、最も好ましくは3.3ミリメートルである、請求項1~5のいずれかに記載のエアロゾル発生物品。
【請求項7】
前記通気ゾーンが、エアロゾル冷却要素の中空管状セグメント内に配置され、前記中空管状セグメントが、130mm
3
~200mm
3
、好ましくは155mm
3
~185mm
3
、より好ましくは170mm
3
の内部体積を有する、請求項1~6のいずれかに記載のエアロゾル発生物品。
【請求項8】
前記通気ゾーンの前記穿孔と前記エアロゾル発生基体のロッドの下流端との間の距離が、1ミリメートル~6ミリメートル、好ましくは2ミリメートル~5ミリメートル、より好ましくは3ミリメートル~4ミリメートルである、請求項1~7のいずれかに記載のエアロゾル発生物品。
【請求項9】
前記通気ゾーンの前記穿孔と前記エアロゾル発生物品の下流端との間の距離が、10ミリメートル~26ミリメートル、好ましくは12ミリメートル~24ミリメートル、より好ましくは14ミリメートル~22ミリメートル、最も好ましくは16ミリメートル~20ミリメートルである、請求項1~8のいずれかに記載のエアロゾル発生物品。
【請求項10】
前記穿孔が、周囲空気が前記通気ゾーン内に引き出されることを可能にするように構成され、好ましくは、前記穿孔を通して前記通気ゾーン内に引き出された周囲空気と、前記エアロゾル形成基体のロッドを通して前記通気ゾーン内に引き出された空気との比が、5パーセント~75パーセント、好ましくは、20パーセント~65パーセント、より好ましくは、30パーセント~60パーセント、より好ましくは、40パーセント~55パーセント、最も好ましくは50パーセントである、請求項1~9のいずれかに記載のエアロゾル発生物品。
(【請求項11】以降は省略されています)
発明の詳細な説明
【技術分野】
【0001】
本発明はエアロゾル発生物品に関する。エアロゾル発生物品は、エアロゾル発生基体を含み得、かつ加熱に伴い吸入可能なエアロゾルを生成するように適合され得る。本発明はさらに、エアロゾル発生物品を受容するための空洞を有するエアロゾル発生装置を備えるエアロゾル発生システムに関する。本発明はさらに、エアロゾル発生物品を製造するための方法に関する。
続きを表示(約 2,300 文字)
【背景技術】
【0002】
たばこ含有基体などのエアロゾル発生基体が燃焼されるのではなく加熱されるエアロゾル発生物品は、当該技術分野で公知である。典型的に、このような加熱式喫煙物品において、エアロゾルは、熱源からの熱を、物理的に分離されたエアロゾル発生基体または材料に伝達することによって発生され、このエアロゾル発生基体または材料は、熱源に接触して、または熱源内に、または熱源の周囲に、または熱源の下流に位置してもよい。エアロゾル発生物品の使用中、揮発性化合物は、熱源からの熱伝達によってエアロゾル発生基体から放出され、エアロゾル発生物品を通って引き出された空気中に同伴される。放出された化合物は冷却されるにつれて凝縮して、エアロゾルを形成する。
【0003】
数多くの先行技術文書では、エアロゾル発生物品を消費するためのエアロゾル発生装置が開示される。このような装置としては、例えば、エアロゾル発生装置の一つ以上の電気ヒーター要素から加熱式エアロゾル発生物品のエアロゾル発生基体への熱伝達によってエアロゾルが発生される、電気加熱式のエアロゾル発生装置が挙げられる。例えば、エアロゾル発生基体に挿入されるように適合される内部ヒーターブレードを備える、電気加熱式のエアロゾル発生装置が提案されている。代替として、エアロゾル発生基体と、エアロゾル発生基体内に配置されたサセプタと、を含む、誘導加熱可能なエアロゾル発生物品が提案されている。別の方法として、サセプタ配設は、エアロゾル発生物品を受容するための空洞を少なくとも部分的に包囲するように、エアロゾル発生装置内に配置されてもよい。
【発明の概要】
【発明が解決しようとする課題】
【0004】
たばこ含有基体が燃焼されるのではなく加熱されるエアロゾル発生物品は、従来の喫煙物品では直面しなかったいくつかの課題を呈する。第一に、たばこ含有基体は、典型的には、従来のたばこの燃焼前部が到達する温度と比較して、著しく低い温度まで加熱される。これは、たばこ含有基体からのニコチン放出および消費者へのニコチン送達に影響を及ぼす可能性がある。同時に、ニコチン送達を促進する試みで加熱温度が上昇する場合、生成されるエアロゾルは、典型的には、消費者に到達する前に、より広範囲かつより迅速に冷却される必要がある。しかしながら、タバコの口側端部に高濾過効率セグメントを提供するなど、従来の喫煙物品において主流煙を冷却するために一般的に使用された技術的解決策は、タバコ含有基体がニコチン送達を減少させ得るため、燃焼されるよりもむしろ加熱されるエアロゾル発生物品において望ましくない効果を有し得る。第二に、概して、使いやすく、かつ実用性が改善されたエアロゾル発生物品が一般的に必要とされている。
【0005】
効率的かつ高速で製造されることができ、好ましくは満足のいくRTDを有し、かつ物品間のRTD変動が小さいエアロゾル発生物品を提供することが望ましい。効率的な冷却を提供するエアロゾル発生物品を提供することが望ましい。エアロゾルを効率的に冷却するエアロゾル発生物品を提供することが望ましい。気化したエアロゾル形成基体を効率的に冷却するエアロゾル発生物品を提供することが望ましい。周囲空気と気化したエアロゾル形成基体との効率的な混合を提供するエアロゾル発生物品を提供することが望ましい。
【0006】
上述の望ましい結果のうちの少なくとも一つを達成するように適合された、新しい改善されたエアロゾル発生物品を提供することが望ましい。
【図面の簡単な説明】
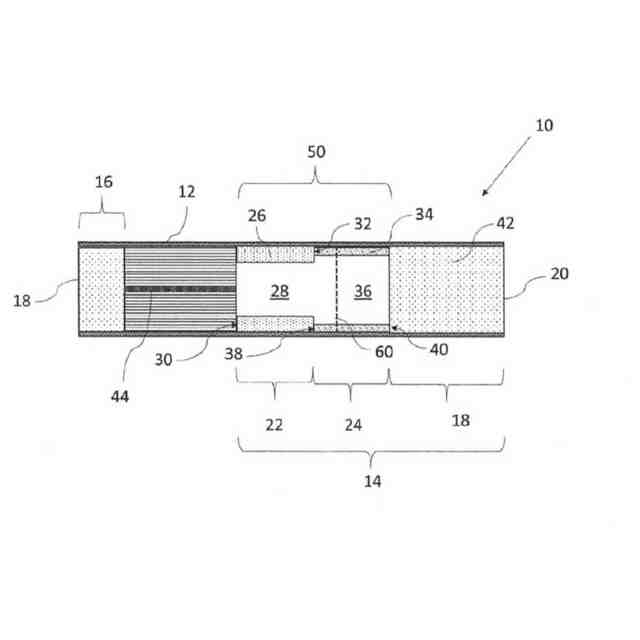
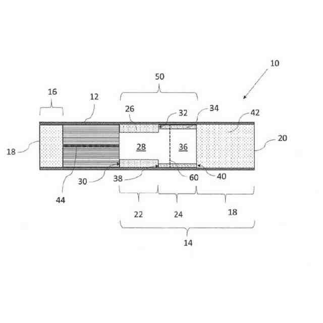
【0007】
本発明によるエアロゾル発生物品の概略側面断面図を示す。
通気ゾーンの位置におけるエアロゾル発生物品の断面図を示す。
通気ゾーン内の非円形穿孔を示す。
【発明を実施するための形態】
【0008】
本発明の実施形態によれば、エアロゾル発生基体のロッドを備え得るエアロゾル発生物品が提供される。エアロゾル発生物品は、エアロゾル発生基体のロッドの下流に配置された通気ゾーンをさらに備え得る。通気ゾーンは、穿孔を含んでもよい。穿孔のうちの一つ以上は、楕円率を有する非円形断面を有してもよく、楕円率は、穿孔の大径を穿孔の小径で割った比であり、少なくとも1.5である。通気ゾーンの周辺壁の厚さは、0.1ミリメートル~2.5ミリメートルであってもよい。
【0009】
本発明の実施形態によれば、エアロゾル発生基体のロッドを備えるエアロゾル発生物品が提供される。エアロゾル発生物品は、エアロゾル発生基体のロッドの下流に配置された通気ゾーンをさらに備える。通気ゾーンは穿孔を備える。穿孔のうちの一つ以上は、楕円率を有する非円形断面を有し、楕円率は、穿孔の大径を穿孔の小径で割った比であり、少なくとも1.5である。通気ゾーンの周辺壁の厚さは、0.1ミリメートル~2.5ミリメートルである。
【0010】
非円形断面を有することで、穿孔を介して通気ゾーン内に引き出される周囲空気と、エアロゾル形成基体のロッドを介して通気ゾーン内に引き出される空気との混合を改善し得る。通気ゾーン内に引き出される周囲空気の流れは、穿孔の形状によって影響を受け得る。非円形の穿孔によって、より乱流の気流が作り出され、それによって周囲空気とロッドまたはエアロゾル形成基体を通して引き出された空気との混合の改善をもたらしうる。
(【0011】以降は省略されています)
この特許をJ-PlatPat(特許庁公式サイト)で参照する
関連特許
日本たばこ産業株式会社
香味吸引物品
2か月前
日本たばこ産業株式会社
口腔用組成物
3か月前
日本たばこ産業株式会社
喫煙システム
3か月前
日本たばこ産業株式会社
香味発生物品
2か月前
Future Technology株式会社
エアロゾル吸引カートリッジ
2か月前
日本たばこ産業株式会社
香味吸引システム
3か月前
日本たばこ産業株式会社
香味吸引システム
3か月前
日本たばこ産業株式会社
低香味原料を含むたばこセグメント
2か月前
Future Technology株式会社
たばこ用組成物、E-リキッド、たばこ製品
24日前
日本たばこ産業株式会社
香味発生物品および香味吸引システム
3か月前
日本たばこ産業株式会社
粒状再生セルロースを含有する口腔用組成物
3か月前
Future Technology株式会社
喫煙器具
2か月前
日本たばこ産業株式会社
たばこ材料、その製造方法、および非燃焼加熱型喫煙物品
2か月前
Future Technology株式会社
芳香カートリッジ
1か月前
Future Technology株式会社
被加熱芳香発生基材
9日前
Future Technology株式会社
タバコ充填物集積体
2か月前
Future Technology株式会社
喫煙具用カートリッジ
3か月前
Future Technology株式会社
喫煙具用カートリッジ
2か月前
Future Technology株式会社
喫煙具用カートリッジ
1か月前
Future Technology株式会社
喫煙具用カートリッジ
3か月前
Future Technology株式会社
電子タバコカートリッジ
2か月前
Future Technology株式会社
電子タバコカートリッジ
1か月前
Future Technology株式会社
被加熱芳香カートリッジ
2か月前
Future Technology株式会社
電子タバコカートリッジ
2か月前
Future Technology株式会社
電子タバコカートリッジ
2か月前
Future Technology株式会社
電子タバコカートリッジ
3か月前
Future Technology株式会社
加熱式タバコ用カートリッジ
2か月前
日本たばこ産業株式会社
吸引装置、基材、及び制御方法
9日前
Future Technology株式会社
加熱式タバコ用カートリッジ
1か月前
Future Technology株式会社
加熱式タバコ用カートリッジ
5日前
Future Technology株式会社
加熱式タバコ用カートリッジ
5日前
Future Technology株式会社
加熱式タバコ用カートリッジ
5日前
日本たばこ産業株式会社
非燃焼加熱型スティック、吸引システム
2か月前
Future Technology株式会社
喫煙具用の柱状のカートリッジ
3か月前
ケーティー アンド ジー コーポレイション
エアロゾル生成システム
1か月前
日本たばこ産業株式会社
香味吸引器及び喫煙システム
1か月前
続きを見る
他の特許を見る