TOP
|
特許
|
意匠
|
商標
特許ウォッチ
Twitter
他の特許を見る
10個以上の画像は省略されています。
公開番号
2025170410
公報種別
公開特許公報(A)
公開日
2025-11-18
出願番号
2025145756,2024186523
出願日
2025-09-02,2021-02-09
発明の名称
加熱式タバコ用カートリッジ
出願人
Future Technology株式会社
代理人
主分類
A24D
1/20 20200101AFI20251111BHJP(たばこ;葉巻たばこ;紙巻たばこ;喫煙具)
要約
【課題】タバコ充填物集積体を支持する支持部材を備えた加熱式タバコ用カートリッジを提供すること。
【解決手段】タバコ材料を含み、エアロゾルを発生するタバコ充填物集積体と、吸い口を構成するフィルタと、フィルタとタバコ充填物集積体との間に配置され、タバコ充填物集積体側の第1端面21及びフィルタ側の第2端面23と、第1端面と第2端面の間に形成された周面部とを有する円筒状に形成され、第1端面から第2端面まで延びる貫通孔を有し、周面部は、第1端面を正面とした場合の側面視において、周面部の周方向に沿って形成された複数の凹部または凸部を有する支持部材と、タバコ充填物集積体、フィルタ及び支持部材を巻くシート状の包装部材と、を備える。
【選択図】図9
特許請求の範囲
【請求項1】
タバコ材料を含み、エアロゾルを発生するタバコ充填物集積体と、
吸い口を構成するフィルタと、
前記フィルタと前記タバコ充填物集積体との間に配置され、前記タバコ充填物集積体側の第1端面及び前記フィルタ側の第2端面と、前記第1端面と前記第2端面の間に形成された周面部とを有する円筒状に形成され、前記第1端面から前記第2端面まで延びる貫通孔を有し、前記周面部は、前記第1端面を正面とした場合の側面視において、前記周面部の周方向に沿って形成された複数の凹部または凸部を有する支持部材と、
前記タバコ充填物集積体、前記フィルタ及び前記支持部材を巻くシート状の包装部材と、を備える、
ことを特徴とする、加熱式タバコ用カートリッジ。
続きを表示(約 100 文字)
【請求項2】
前記支持部材は、外部から圧力を加えられた際に、前記加熱式タバコ用カートリッジの全体の形状を保持する、
ことを特徴とする、請求項1に記載の加熱式タバコ用カートリッジ。
発明の詳細な説明
【技術分野】
【0001】
本発明は、タバコまたは非タバコ植物を材料とするタバコ充填物を有する加熱式タバコに用いられる加熱式タバコ用支持部材及びこれを有する加熱式タバコ用カートリッジに関する。
続きを表示(約 1,500 文字)
【背景技術】
【0002】
近年、タバコの禁煙の傾向に合わせるために、火炎を用いることなく、タバコの成分を含むカートリッジを加熱して、気化したタバコ成分を吸引することで、タバコを楽しむための加熱式タバコ製品が普及し始めている。加熱式タバコ用カートリッジは、加熱式タバコ本体が有するブレード等の加熱体が差し込まれて加熱されるタバコ充填物と、吸口に設けられるフィルタと、タバコ充填物とフィルタの間に設けられる支持部材とを有し、これらが紙等の包装部材で巻かれることで形成される。このような加熱式タバコ用支持部材及び加熱式タバコ用カートリッジとして、例えば特許文献1に挙げるようなものがある。
【0003】
また、特許文献2の加熱式タバコでは、加熱式タバコカートリッジのエアロゾル形成基材に加熱要素を挿入してエアロゾル形成基材を加熱し、タバコ成分を含むエアロゾルを生成する。加熱式タバコカートリッジは、エアロゾル形成基材を支持する中空管状の支持部材を有し、支持部材は、加熱要素がエアロゾル形成基材内へ挿入される際にカートリッジが受ける力に抗する。加熱によりエアロゾル形成基材から放出されたタバコ成分は、支持部材の中空の部分を通って、下流に位置するマウスピースに移送され、ユーザーによって吸引される。
【先行技術文献】
【特許文献】
【0004】
実用新案登録第3212228号公報
特許第6000451号公報
【発明の概要】
【発明が解決しようとする課題】
【0005】
一方、特許文献1および2に記載の支持部材を用いて電子加熱式タバコ用カートリッジを製造するときに、支持部材の表面が滑る場合があり、製造機械(組立機械)が支持部材を把持することができない場合がある。
【0006】
そこで、本発明は前記課題を鑑みてなされたものであり、組立機械が把持しやすい加熱式タバコ用支持部材をもちいた加熱式タバコ用カートリッジを提供することを目的とする。
【課題を解決するための手段】
【0007】
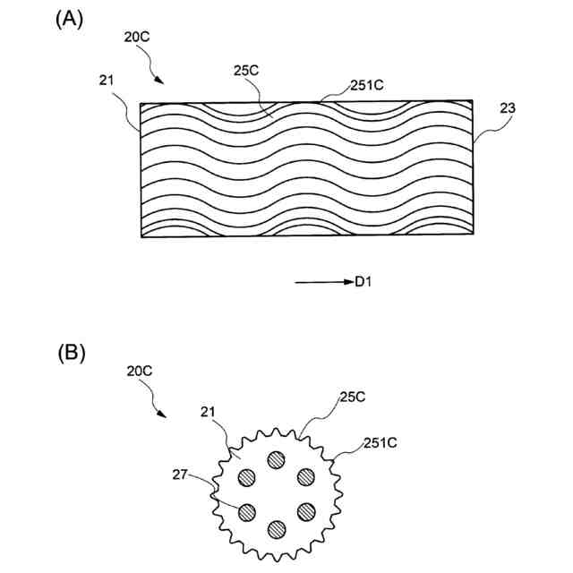
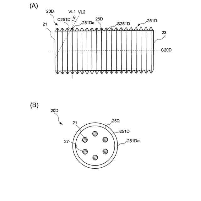
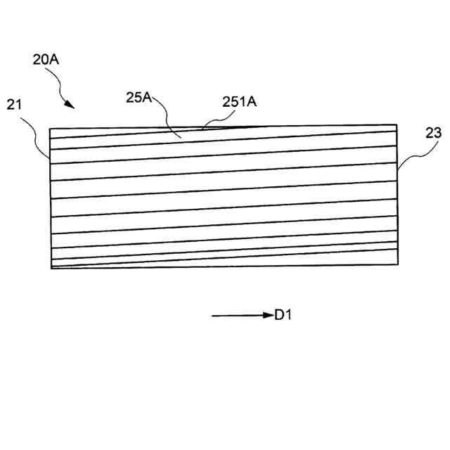
本発明の一実施形態によれば、電気制御式の発熱体を備えた加熱式喫煙具に装着して喫煙する加熱式タバコ用カートリッジであって、加熱されることにより、エアロゾルを発生するタバコ充填物集積体と、前記エアロゾルを濾過するフィルタと、前記タバコ充填物集積体と前記フィルタとの間に配置され、前記発熱体が前記タバコ充填物集積体の中に挿入されるときに前記タバコ充填物集積体が前記フィルタ側へ移動するのを防止する支持部材と、前記タバコ充填物集積体、前記フィルタ、及び前記支持部材の外周に巻かれた包装部材と、を備え、前記支持部材は、前記たばこ充填物集積体側に設けられた第1端面、前記フィルタ側に設けられた第2端面、および前記第1端面から前記第2端面の間に形成される周面部に設けられた少なくとも一つの凹部または凸部を有し、前記少なくとも一つの凹部または凸部は、対応する先端部を有する、加熱式タバコ用カートリッジが提供される。
【0008】
上記加熱式タバコ用カートリッジにおいて、前記少なくとも一つの凹部または凸部は、前記周面部の一部の領域に設けられてもよい。
【0009】
上記加熱式タバコ用カートリッジにおいて、前記少なくとも一つの凹部または凸部は、前記支持部材の長手方向に沿って設けられてもよい。
【0010】
上記加熱式タバコ用カートリッジにおいて、前記少なくとも一つの凹部または凸部は、前記支持部材の周方向に沿って設けられてもよい。
(【0011】以降は省略されています)
この特許をJ-PlatPat(特許庁公式サイト)で参照する
関連特許
日本たばこ産業株式会社
香味吸引物品
6日前
日本たばこ産業株式会社
香味吸引物品
13日前
日本たばこ産業株式会社
香味吸引物品
2か月前
日本たばこ産業株式会社
口腔用組成物
3か月前
日本たばこ産業株式会社
喫煙システム
3か月前
日本たばこ産業株式会社
香味発生物品
2か月前
Future Technology株式会社
エアロゾル吸引カートリッジ
3か月前
日本たばこ産業株式会社
香味吸引システム
3か月前
日本たばこ産業株式会社
香味吸引システム
3か月前
日本たばこ産業株式会社
低香味原料を含むたばこセグメント
2か月前
Future Technology株式会社
たばこ用組成物、E-リキッド、たばこ製品
1か月前
日本たばこ産業株式会社
香味発生物品および香味吸引システム
3か月前
日本たばこ産業株式会社
粒状再生セルロースを含有する口腔用組成物
3か月前
Future Technology株式会社
喫煙器具
3か月前
日本たばこ産業株式会社
吸引器
4か月前
日本たばこ産業株式会社
たばこ材料、その製造方法、および非燃焼加熱型喫煙物品
3か月前
Future Technology株式会社
芳香カートリッジ
1か月前
Future Technology株式会社
被加熱芳香発生基材
27日前
Future Technology株式会社
タバコ充填物集積体
3か月前
Future Technology株式会社
喫煙具用カートリッジ
3か月前
Future Technology株式会社
喫煙具用カートリッジ
4か月前
Future Technology株式会社
喫煙具用カートリッジ
2か月前
Future Technology株式会社
喫煙具用カートリッジ
4か月前
Future Technology株式会社
喫煙具用カートリッジ
3か月前
Future Technology株式会社
喫煙具用カートリッジ
4か月前
Future Technology株式会社
電子タバコカートリッジ
4か月前
Future Technology株式会社
電子タバコカートリッジ
3か月前
Future Technology株式会社
電子タバコカートリッジ
1か月前
Future Technology株式会社
電子タバコカートリッジ
3か月前
Future Technology株式会社
電子タバコカートリッジ
3か月前
Future Technology株式会社
被加熱芳香カートリッジ
3か月前
Future Technology株式会社
被加熱芳香カートリッジ
15日前
シェンチェン ギークベイプ テクノロジー カンパニー リミテッド
電子霧化装置
4か月前
Future Technology株式会社
加熱式タバコ用カートリッジ
23日前
Future Technology株式会社
加熱式タバコ用カートリッジ
2か月前
Future Technology株式会社
加熱式タバコ用カートリッジ
23日前
続きを見る
他の特許を見る