TOP
|
特許
|
意匠
|
商標
特許ウォッチ
Twitter
他の特許を見る
10個以上の画像は省略されています。
公開番号
2025172008
公報種別
公開特許公報(A)
公開日
2025-11-20
出願番号
2025076309
出願日
2025-05-01
発明の名称
両用ロードポート
出願人
盛詮科技股フン有限公司
代理人
弁理士法人WisePlus
主分類
H01L
21/677 20060101AFI20251113BHJP(基本的電気素子)
要約
【課題】異なるサイズのウェハ搬送カセットに対応可能であり、ウェハの搬送動線が複雑化するという問題を解決する両用ロードポートを提供する。
【解決手段】両用ロードポートは、台座10、載置台20、開口部30、プレート40及び切換ユニット50を備える。載置台は、台座の上面に設けられ、かつ、ウェハ搬送カセットを搬送するのに用いられる。開口部は、台座の一側面に設けられ、かつ、開口が貫通している。プレートは、開口部を封止可能である。切換ユニットは、プレート上に設けられており、第1クランプ組及び第2クランプ組を有しており、両クランプ組は、異なる水平面に位置し、かつ、接続位置および待機位置にまで移動可能である。本発明のメリットは、切換ユニットを増設することで、切換ユニット中の第1クランプ組と第2クランプ組とがウェハ搬送カセットに選択的に接続され、サイズの異なる2種類のウェハ搬送カセットに対応可能なことである。
【選択図】図1
特許請求の範囲
【請求項1】
ウェハ搬送カセットを搬送するのに用いられる両用ロードポートであって、
上面を有する台座と、
上記上面上に設けられており、かつ上記ウェハ搬送カセットを搬送するのに用いられるとともに、上記台座に対して移動可能である載置台と、
上記台座の一側面に設けられており、かつ上記載置台に隣接する開口が貫通している開口部と、
上記開口部の上記開口を封止可能であるプレートと、
上記プレート上に設けられている切換ユニットであって、
異なる水平面に位置しており、かつ接続位置および待機位置にまで移動可能である第1クランプ組および第2クランプ組
を有する切換ユニットと、
を含むことを特徴とする両用ロードポート。
続きを表示(約 1,600 文字)
【請求項2】
上記切換ユニットは、
駆動手段と、
上記駆動手段および上記第1クランプ組に接続されている第1接続部材であって、上記駆動手段が上記第1接続部材および上記第1クランプ組を上記接続位置および上記待機位置にまで移動させることが可能である、第1接続部材と、
上記駆動手段および上記第2クランプ組に接続されている第2接続部材であって、上記駆動手段が上記第2接続部材および上記第2クランプ組を上記接続位置および上記待機位置にまで移動させることが可能である、第2接続部材と、
を含む、請求項1に記載の両用ロードポート。
【請求項3】
上記切換ユニットは、
上記第1接続部材に固設されており、かつ第1斜面を有する第1スライダと、
上記駆動手段に固設されており、かつ上記第1スライダの上記第1斜面に沿ってスライド移動可能である第2スライダと、
を備える第1スライドレール組と、
上記第2接続部材に固設されており、かつ第2斜面を有する第3スライダと、
上記駆動手段に固設されており、かつ上記第3スライダの上記第2斜面に沿ってスライド移動可能である第4スライダと、
を備える第2スライドレール組と、
を含む、請求項2に記載の両用ロードポート。
【請求項4】
上記第2スライダが上記第1斜面上で上記プレートから離れた位置に位置するとき、上記第1クランプ組は上記接続位置にまで連動され、上記第2スライダが上記第1斜面上で上記プレートに近い位置に位置するとき、上記第1クランプ組は上記待機位置にまで連動され、
上記第4スライダが上記第2斜面上で上記プレートから離れた位置に位置するとき、上記第2クランプ組は上記接続位置にまで連動され、上記第4スライダが上記第2斜面上で上記プレートに近い位置に位置するとき、上記第2クランプ組は上記待機位置にまで連動される、請求項3に記載の両用ロードポート。
【請求項5】
上記第1クランプ組が上記接続位置に位置しているとき、上記第2クランプ組は上記待機位置に位置し、かつ、
上記第1クランプ組が上記待機位置に位置しているとき、上記第2クランプ組は上記接続位置に位置する、請求項4に記載の両用ロードポート。
【請求項6】
上記第1斜面と上記第2斜面とは傾斜方向が反対であり、かつ、
上記駆動手段は移動部材を有しており、上記第2スライダおよび上記第4スライダが上記移動部材に固設されている、請求項5に記載の両用ロードポート。
【請求項7】
上記第1スライドレール組は合計で2つの上記第1スライダおよび2つの上記第2スライダを有しており、上記2つの上記第2スライダはそれぞれ上記2つの上記第1スライダの上記第1斜面に沿ってスライド移動し、上記2つの上記第1スライダの上記第1斜面の傾斜方向は反対であり、かつ、
上記第2スライドレール組は合計で2つの上記第3スライダおよび2つの上記第4スライダを有しており、上記2つの上記第4スライダはそれぞれ上記2つの上記第3スライダの上記第2斜面に沿ってスライド移動し、上記2つの上記第3スライダの上記第2斜面の傾斜方向は反対である、請求項3に記載の両用ロードポート。
【請求項8】
上記切換ユニットは、
上記第1接続部材に固設されており、かつ上記第1接続部材に付随して上記接続位置および上記待機位置にまで移動可能である第1ガスノズル組と、
上記第2接続部材に固設されており、かつ上記第2接続部材に付随して上記接続位置および上記待機位置にまで移動可能である第2ガスノズル組と、
を備える、請求項2に記載の両用ロードポート。
【請求項9】
上記開口部は、上記開口の一部を選択的に遮蔽可能であるスライドカバーをさらに有する、請求項1に記載の両用ロードポート。
発明の詳細な説明
【技術分野】
【0001】
本発明は両用ロードポートに関する。
続きを表示(約 1,800 文字)
【背景技術】
【0002】
現在、半導体の製造プロセスにおいて、ウェハは複数のワークステーションを経て加工処理されるが、ワークステーション間で待機または搬送中に汚染されるのを防止するために、まずウェハをウェハ搬送カセット(FOUP)中に収容するとともに、ロードポート(Load Port)によりウェハ搬送カセットの蓋を開閉することで、常にウェハの無塵状態を保っている。例えば、台湾発明公告第TWI379374B号の容器中の物体処理方法および該方法を用いた蓋開閉システムがある。
【0003】
サイズの異なるウェハに対応するために、ウェハ搬送カセットでも異なるサイズが必要になるが、異なるウェハ搬送カセットに対応するためには、ロードポートでも異なるサイズに変更しなければならない。しかしながら、ロードポートを増設するとウェハ工場の空間を占有してしまい、ウェハの搬送動線が複雑化して、コストも増加してしまう。
【0004】
これに鑑みて、より好ましい改善策の提案は、業界で解決が待たれる問題であった。
【先行技術文献】
【特許文献】
【0005】
台湾発明公告第TWI379374B号
【発明の概要】
【発明が解決しようとする課題】
【0006】
本発明が提案する主な目的は、2種類の異なるサイズのウェハ搬送カセットに対応可能であり、さらに、ウェハ搬送カセットをサイズの異なるロードポートに対応させなければならないことから複数のロードポートが必要になり、ウェハの搬送動線が複雑化するという問題を解決できる両用ロードポートを提案することである。
【課題を解決するための手段】
【0007】
上記目的を達成するために、本発明では、ウェハ搬送カセットを搬送するのに用いられる両用ロードポートであって、
上面を有する台座と、
該上面上に設けられており、かつウェハ搬送カセットを搬送するのに用いられるとともに、台座に対して移動可能である載置台と、
台座の一側面に設けられており、かつ載置台に隣接する開口が貫通している開口部と、
開口部の開口を封止可能であるプレートと、
プレート上に設けられている切換ユニットであって、
異なる水平面に位置しており、かつ接続位置および待機位置にまで移動可能である第1クランプ組および第2クランプ組
を有する切換ユニットと、
を含む両用ロードポートを提供する。
【0008】
本発明のメリットは、切換ユニット中の第1クランプ組と第2クランプ組とがウェハ搬送カセットに選択的に接続可能であることで、両用ロードポートは2種類の異なるサイズのウェハ搬送カセットに対応することができ、ロードポート1台を増設するコストを節約できるのみならず、ウェハの搬送動線を簡素化できることにある。これ以外に、両用ロードポート上にスライドカバーを増設して、第2クランプ組に切り換えたとき、第1クランプ組と外部とを隔絶し、切換ユニットが汚染されるのを回避できる。
【図面の簡単な説明】
【0009】
本発明の立体模式図である。
本発明の分解模式図である。
本発明の切換ユニットの分解模式図である。
本発明の切換ユニットの分解模式図である。
本発明の切換ユニットの断面模式図である。
本発明にて第1クランプが接続位置に位置しているときの部分断面模式図である。
本発明にて第1クランプが接続位置に位置しているときの部分立体模式図である。
本発明にて第2クランプが接続位置に位置しているときの部分断面模式図である。
本発明にて第2クランプが接続位置に位置しているときの部分立体模式図である。
【発明を実施するための形態】
【0010】
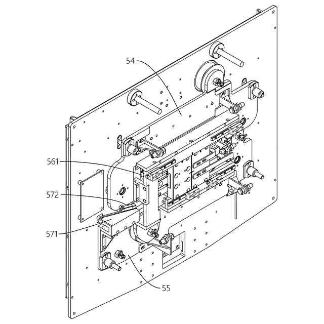
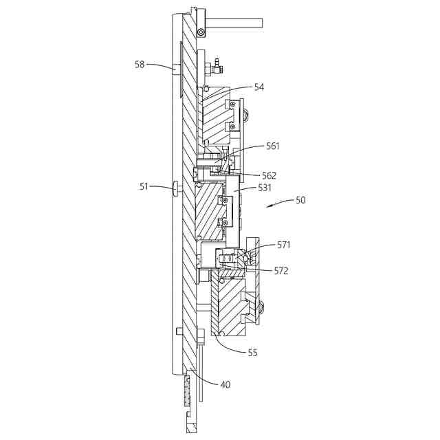
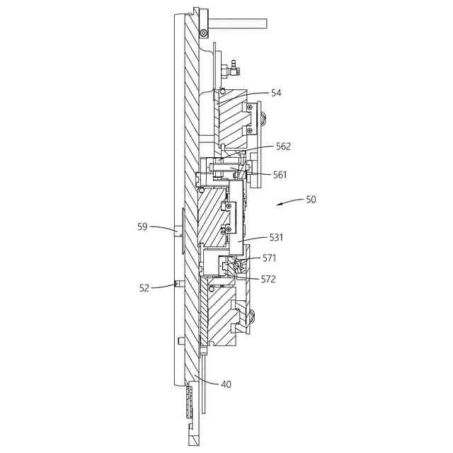
図1および図2を参照されたい。本発明では、ウェハ搬送カセットを搬送するのに用いられる両用ロードポートであって、台座10と、載置台20と、開口部30と、プレート40と、切換ユニット50とを含む両用ロードポートを提供する。
(【0011】以降は省略されています)
この特許をJ-PlatPat(特許庁公式サイト)で参照する
関連特許
盛詮科技股フン有限公司
両用ロードポート
4日前
盛詮科技股フン有限公司
ウエハリング位置決めステージ
2か月前
東ソー株式会社
絶縁電線
1か月前
APB株式会社
蓄電セル
1か月前
個人
フレキシブル電気化学素子
1か月前
ローム株式会社
半導体装置
1か月前
日新イオン機器株式会社
イオン源
1か月前
マクセル株式会社
電源装置
25日前
株式会社ユーシン
操作装置
1か月前
ローム株式会社
半導体装置
1か月前
株式会社東芝
端子台
25日前
株式会社GSユアサ
蓄電装置
26日前
株式会社GSユアサ
蓄電設備
1か月前
富士電機株式会社
電磁接触器
4日前
三菱電機株式会社
回路遮断器
12日前
太陽誘電株式会社
コイル部品
1か月前
株式会社ホロン
冷陰極電子源
1か月前
株式会社GSユアサ
蓄電装置
18日前
株式会社GSユアサ
蓄電装置
4日前
株式会社GSユアサ
蓄電設備
1か月前
株式会社GSユアサ
蓄電装置
26日前
オムロン株式会社
電磁継電器
1か月前
日本特殊陶業株式会社
保持装置
1か月前
サクサ株式会社
電池の固定構造
1か月前
日新イオン機器株式会社
基板処理装置
28日前
トヨタ自動車株式会社
バッテリ
1か月前
トヨタ自動車株式会社
蓄電装置
26日前
トヨタ自動車株式会社
蓄電装置
1か月前
北道電設株式会社
配電具カバー
1か月前
日本特殊陶業株式会社
保持装置
17日前
トヨタ自動車株式会社
冷却構造
1か月前
日東電工株式会社
積層体
1か月前
トヨタ自動車株式会社
バッテリ
1か月前
ノリタケ株式会社
熱伝導シート
1か月前
古河電気工業株式会社
端子
1か月前
住友電装株式会社
コネクタ
4日前
続きを見る
他の特許を見る