TOP
|
特許
|
意匠
|
商標
特許ウォッチ
Twitter
他の特許を見る
10個以上の画像は省略されています。
公開番号
2025171904
公報種別
公開特許公報(A)
公開日
2025-11-20
出願番号
2024147972
出願日
2024-08-29
発明の名称
洗面台
出願人
吉本産業株式会社
代理人
個人
,
個人
主分類
A47K
1/00 20060101AFI20251113BHJP(家具;家庭用品または家庭用設備;コーヒーひき;香辛料ひき;真空掃除機一般)
要約
【課題】、効率的に製造し、美観を向上させることのできる、ボウル部が前側に突出したカウンターを有する洗面台を提供すること。
【解決手段】洗面台1は、カウンター10と、カウンター10と一体に形成され、カウンター10の前縁13よりも前側に膨出した部分を有するボウル部2と、カウンター10の前縁13を構成するカウンター前框32及び該カウンター前框32に連続して形成されボウル部2の下面から下方に延びるボウル部前框31を有する前框3と、前框3よりも後側に後退した位置に配置される前面板部41を有し、カウンター10及びボウル部2の下部に配置されて該カウンター10及び該ボウル部2を支持するキャビネット4と、カウンター10及びボウル部2と前面板部41との間に配置され、上部の前面が前框3の後面に当接し下部の前面が前面板部41の後面に当接する異形幕板5と、を備える。
【選択図】図2
特許請求の範囲
【請求項1】
カウンターと、
前記カウンターと一体に形成され、該カウンターの前縁よりも前側に膨出した部分を有するボウル部と、
前記カウンターの前縁を構成するカウンター前框及び該カウンター前框に連続して形成され前記ボウル部の下面から下方に延びるボウル部前框を有する前框と、
前記前框よりも後側に後退した位置に配置される前面板部を有し、前記カウンター及び前記ボウル部の下部に配置されて該カウンター及び該ボウル部を支持するキャビネットと、
前記カウンター及び前記ボウル部と前記前面板部との間に配置され、上部の前面が前記前框の後面に当接し下部の前面が前記前面板部の後面に当接する異形幕板と、を備える洗面台。
続きを表示(約 860 文字)
【請求項2】
前記異形幕板は、側面視で湾曲して形成される、請求項1に記載の洗面台。
【請求項3】
前記キャビネットは、前記前面板部に直交する方向に延びる側板を有し、
前記異形幕板は、前記上部及び前記下部の両方に、それぞれ前記側板と接合可能な接合部を有する、請求項1又は2に記載の洗面台。
【請求項4】
前記前面板部は前側に開閉可能な扉を含み、
前記扉は、前記側板の前側の端面を覆うように配置され、
前記側板は、前記異形幕板の前記下部に接続される、請求項3に記載の洗面台。
【請求項5】
前記前面板部は前側に開閉可能な扉を含み、
前記扉の板面は、前記側板の前側の端面と略平行に延び、前記端面に隣接するように配置され、
前記側板は、前記異形幕板の前記上部に接続される、請求項3に記載の洗面台。
【請求項6】
前記キャビネットの正面視における左右方向の両端よりも内側に配置され、前記キャビネットの収納空間を区切る仕切り板をさらに有する、請求項1又は2に記載の洗面台。
【請求項7】
前記上部は、前記下部から上方かつ前側に傾斜して延びる延出部と、前記延出部の上端に配置され、前記前框の前記後面に当接する上部当接部と、を有する、請求項1又は2に記載の洗面台。
【請求項8】
前記異形幕板は、前記異形幕板の前記上部から上方に突出し、前記前框の後面側と接合可能に形成される接着代を有する、請求項1又は2に記載の洗面台。
【請求項9】
前記接着代は、前記カウンター前框の後面側に接合可能に上下方向に延びる第一接着部と、前記第一接着部の上端から後側へ屈曲する第二接着部を有する、請求項8に記載の洗面台。
【請求項10】
前記カウンターの下面に配置され、前記カウンターを支持する補強材をさらに有し、前記第二接着部は、前記補強材の下面に接着される、請求項9に記載の洗面台。
発明の詳細な説明
【技術分野】
【0001】
本発明は、洗面台に関する。
続きを表示(約 2,000 文字)
【背景技術】
【0002】
従来、洗面台のカウンターと一体に形成されたボウル部が、カウンターの前側の縁よりも前側に膨出した洗面台が知られている(例えば、特許文献1参照)。
【先行技術文献】
【特許文献】
【0003】
実開平06-005584号公報
【発明の概要】
【発明が解決しようとする課題】
【0004】
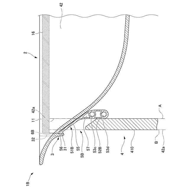
ボウル部を前側に膨出させると、洗面台の組み立ての際、カウンターを支持するキャビネットとボウル部の膨出した部分とを接続する施工で、ボウル部が配置されている部分に木製の幕板を介在させ、ボウル部の湾曲に沿って幕板を湾曲状にくり抜いたり、突出したボウル部の下側を別部材でカバーしたりする作業が生じる。このため、カウンターの施行に手間がかかり、デザインの自由度も狭まるという問題があった。
【課題を解決するための手段】
【0005】
本発明は、カウンターと、前記カウンターと一体に形成され、該カウンターの前縁よりも前側に膨出した部分を有するボウル部と、前記カウンターの前縁を構成するカウンター前框及び該カウンター前框に連続して形成され前記ボウル部の下面から下方に延びるボウル部前框を有する前框と、前記前框よりも後側に後退した位置に配置される前面板部を有し、前記カウンター及び前記ボウル部の下部に配置されて該カウンター及び該ボウル部を支持するキャビネットと、前記カウンター及び前記ボウル部と前記前面板部との間に配置され、上部の前面が前記前框の後面に当接し下部の前面が前記前面板部の後面に当接する異形幕板と、を備える洗面台に関する。
【発明の効果】
【0006】
本発明によれば、効率的に製造し、美観を向上させることのできる、ボウル部が前側に突出したカウンターを有する洗面台を提供することができる。
【図面の簡単な説明】
【0007】
第一実施形態の洗面台の斜視図である。
第一実施形態の洗面台の部分側断面図である。
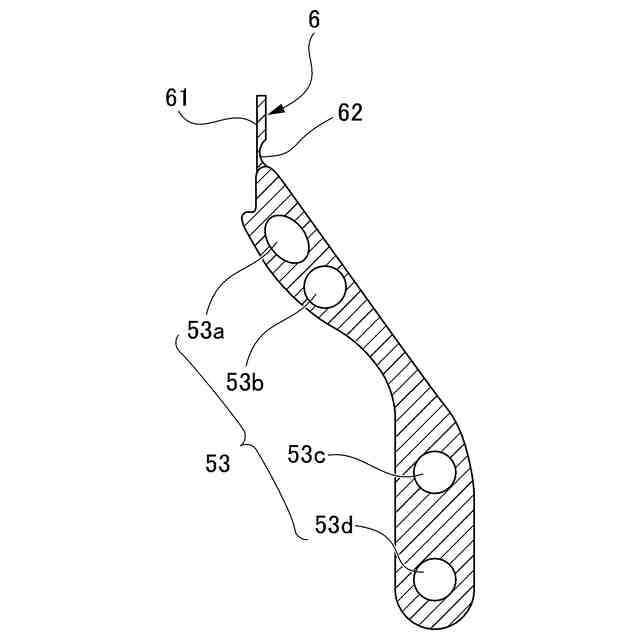
第一実施形態の異形幕板の斜視図である。
第二実施形態の異形幕板の断面図である。
第三実施形態の洗面台の部分側断面図である。
第三実施形態の異形幕板の断面図である。
第四実施形態の洗面台の部分側断面図である。
第四実施形態の異形幕板の断面図である。
アウトセットの場合の側板と扉の関係を説明する平面模式図である。
インセットの場合の側板と扉の関係を説明する平面模式図である。
【発明を実施するための形態】
【0008】
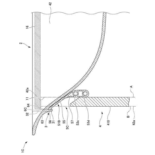
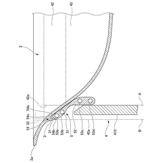
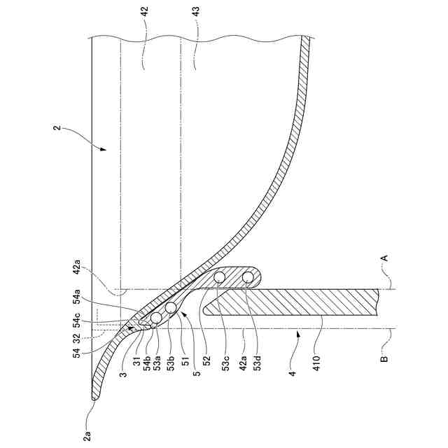
以下、本発明の第一実施形態について、図面を参照しながら詳細に説明する。図1は本実施形態に係る洗面台1の斜視図である。なお、本明細書において、前、前面とは洗面台に対して使用者が対面した際に、使用者側、又は使用者側の面を言い、奥、後ろ、背面とは、前に対向して使用者から遠ざかる方向又は面を指す。洗面台1は、カウンター10と、ボウル部2と、前框3(図2参照)と、キャビネット4と、異形幕板5(図2参照)と、を有する。
【0009】
図1に示すように、カウンター10は、ボウル部2と一体に形成された洗面台1の天板部11を含む上部構造である。カウンター10は、天板部11と、奥縁部12と、前縁13と、一対の側縁部14とを有し、後述するボウル部2を除いた部分が、全体として正面視の左右方向に長い略長方形に形成されている。天板部11は、所定の厚さを有する板状の部材で構成され、天板部11の上面は平坦な面となっている。天板部11におけるボウル部2の奥側には、洗浄水を吐水する水栓15が配置されている。奥縁部12は、天板部11の最も奥側で、天板部11の長手方向に沿って延びる。奥縁部12は、天板部11よりもわずかに盛り上がって段差を有して形成され、ボウル部2から飛ぶ水の飛沫等が後方に垂れないように形成されている。前縁13は、奥縁部12に対向する天板部11の前側の端部であり、後述する前框3と連続して一体に構成されている。一対の側縁部14は、奥縁部12と前縁13とを結ぶ前後方向に延びる縁である。
【0010】
ボウル部2は、天板部11の一部が下方にへこんだ凹部により形成され、湯水の吐水を受ける椀状の部分である。ボウル部2の底面側には、不図示の排水孔が形成され、水栓15から吐水された湯水が排水されるように構成されている。ボウル部2の上端には、凹部の開口の周囲を規定する開口縁20が形成される。開口縁20は、一部が天板部11の上面に形成されるとともに、天板部11の前端側では、天板部11の前縁13よりも前方に突出し、カウンター10の前縁13よりも前側に膨出している。
(【0011】以降は省略されています)
この特許をJ-PlatPat(特許庁公式サイト)で参照する
関連特許
吉本産業株式会社
洗面台
2日前
個人
箸
1か月前
個人
家具
4か月前
個人
椅子
3か月前
個人
自助箸
7か月前
個人
掃除機
8か月前
個人
体洗い具
10か月前
個人
ソファー
2か月前
個人
屋外用箒
7か月前
個人
ハンガー
7か月前
個人
耳拭き棒
11か月前
個人
多用途紐
1か月前
個人
枕
8か月前
個人
掃除道具
8か月前
個人
掃除用具
3か月前
個人
枕
5か月前
個人
省煙消臭器
8か月前
個人
開閉トング
6か月前
個人
物品
3か月前
個人
掃除シート
9か月前
個人
片手代替具
11か月前
個人
組立式棚板
7か月前
個人
シャワー装置
6か月前
個人
中身のない枕
7か月前
個人
バターナイフ
1か月前
個人
洗面台
11か月前
個人
転倒防止装置
5か月前
個人
ゴミ袋保持枠
7か月前
個人
経典表示装置
4か月前
個人
受け皿
5か月前
個人
紙コップ 蓋
2か月前
個人
靴ベラ
2か月前
個人
組立家具
9か月前
個人
首支持具
3か月前
個人
コーヒー抽出器
4か月前
個人
汚水漏れ防止具
10か月前
続きを見る
他の特許を見る