TOP
|
特許
|
意匠
|
商標
特許ウォッチ
Twitter
他の特許を見る
公開番号
2025171845
公報種別
公開特許公報(A)
公開日
2025-11-20
出願番号
2024077570
出願日
2024-05-10
発明の名称
GaAs半導体デバイス製造装置、GaAs半導体デバイス製造方法
出願人
住友重機械工業株式会社
代理人
個人
,
個人
主分類
H10D
64/01 20250101AFI20251113BHJP()
要約
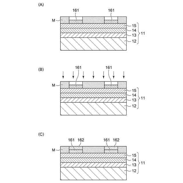
【課題】GaAs半導体デバイスにおいてレーザ光によるアニール処理を適切に施すことができるGaAs半導体デバイス製造装置等を提供する。
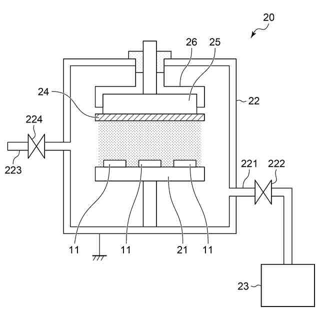
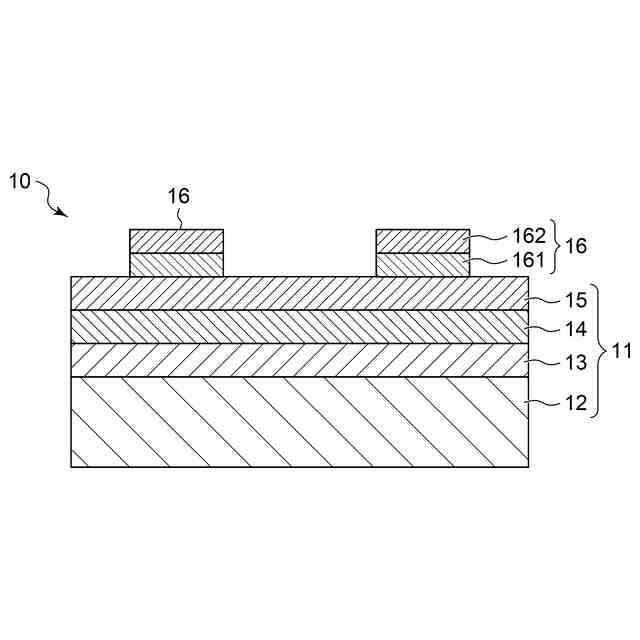
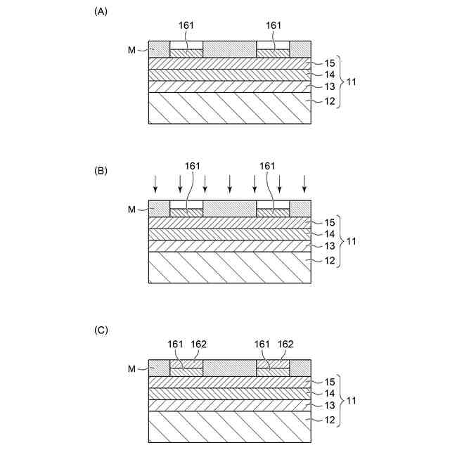
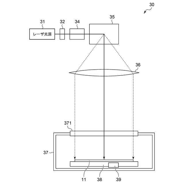
【解決手段】GaAs半導体デバイス製造装置は、III族元素としてガリウム(Ga)を含み、V族元素としてヒ素(As)を含む、III-V族化合物半導体としてのGaAs半導体を含むGaAs半導体構造11上に第1金属層161を形成する第1金属層形成部と、GaAs半導体構造11と第1金属層161の間のオーミック接触のために、当該第1金属層161上にレーザ光を照射するレーザ光照射部と、レーザ光の照射後に、第1金属層161よりレーザ光に対する反射率が高い第2金属層162を、当該第1金属層161上に形成する第2金属層形成部と、を備える。
【選択図】図4
特許請求の範囲
【請求項1】
GaAs半導体構造上に第1金属層を形成する第1金属層形成部と、
前記GaAs半導体構造と前記第1金属層の間のオーミック接触のために、当該第1金属層上にレーザ光を照射するレーザ光照射部と、
前記レーザ光の照射後に、前記第1金属層より前記レーザ光に対する反射率が高い第2金属層を、当該第1金属層上に形成する第2金属層形成部と、
を備えるGaAs半導体デバイス製造装置。
続きを表示(約 690 文字)
【請求項2】
前記第1金属層の最上部は、熱伝導率が100W/(mK)以下である、請求項1に記載のGaAs半導体デバイス製造装置。
【請求項3】
前記第1金属層は、前記第2金属層より熱伝導率が低い、請求項1または2に記載のGaAs半導体デバイス製造装置。
【請求項4】
前記第1金属層の最上部は、前記第2金属層より反射率が低い、請求項1または2に記載のGaAs半導体デバイス製造装置。
【請求項5】
前記第1金属層は、ニッケル(Ni)およびチタン(Ti)の少なくともいずれかを含む、請求項1または2に記載のGaAs半導体デバイス製造装置。
【請求項6】
前記第2金属層は、金(Au)および白金(Pt)の少なくともいずれかを含む、請求項1または2に記載のGaAs半導体デバイス製造装置。
【請求項7】
前記GaAs半導体デバイスは、前記第2金属層および前記第1金属層を通じて印加される電気に応じて前記GaAs半導体構造が発光する発光デバイスである、請求項1または2に記載のGaAs半導体デバイス製造装置。
【請求項8】
GaAs半導体構造上に第1金属層を形成することと、
前記GaAs半導体構造と前記第1金属層の間のオーミック接触のために、当該第1金属層上にレーザ光を照射することと、
前記レーザ光の照射後に、前記第1金属層より前記レーザ光に対する反射率が高い第2金属層を、当該第1金属層上に形成することと、
を実行するGaAs半導体デバイス製造方法。
発明の詳細な説明
【技術分野】
【0001】
本開示は、GaAs半導体デバイス製造装置等に関する。
続きを表示(約 1,400 文字)
【背景技術】
【0002】
特許文献1には、窒化物系III-V族化合物半導体構造と電極の間に、γ-GaNi合金やγ′-GaNi合金を形成することによって、良好なオーミック接触を実現することが開示されている。その段落0081に記載されているように、窒化物系III-V族化合物半導体構造を構成するGaNコンタクト層(7)上に、γ-GaNi合金層(9a)、Pt膜(9b)、Au膜(9c)を順次形成した後、N
2
ガス雰囲気中において熱処理(いわゆる、アニール処理)を施すことによって、γ-GaNi合金層(9a)とGaNコンタクト層(7)の間で良好なオーミック接触が実現される。
【先行技術文献】
【特許文献】
【0003】
特開2000-49114号公報
【発明の概要】
【発明が解決しようとする課題】
【0004】
上記の窒化物系III-V族化合物半導体とは異なるIII-V族化合物半導体として、III族元素としてガリウム(Ga)を含みV族元素としてヒ素(As)を含むGaAs半導体デバイスにおいて、レーザ光によってアニール処理を施すことが独自に検討された。GaAs半導体デバイスでも、金(Au)や白金(Pt)等が電極として一般的に使用されるが、アニール処理のためのレーザ光を反射してしまう恐れがある。
【0005】
本開示はこうした状況に鑑みてなされたものであり、GaAs半導体デバイスにおいてレーザ光によるアニール処理を適切に施すことができるGaAs半導体デバイス製造装置等を提供することを目的とする。
【課題を解決するための手段】
【0006】
上記課題を解決するために、本開示のある態様のGaAs半導体デバイス製造装置は、GaAs半導体構造上に第1金属層を形成する第1金属層形成部と、GaAs半導体構造と第1金属層の間のオーミック接触のために、当該第1金属層上にレーザ光を照射するレーザ光照射部と、レーザ光の照射後に、第1金属層よりレーザ光に対する反射率が高い第2金属層を、当該第1金属層上に形成する第2金属層形成部と、を備える。
【0007】
本態様では、アニール処理のためのレーザ光の照射が、当該レーザ光に対する反射率が比較的高い第2金属層が形成される前の第1金属層に対して行われる。この第1金属層は第2金属層より反射率が低いため、反射によるレーザ光の無駄が低減されてアニール処理が効率的に施される。
【0008】
本開示の別の態様は、GaAs半導体デバイス製造方法である。この方法は、GaAs半導体構造上に第1金属層を形成することと、GaAs半導体構造と第1金属層の間のオーミック接触のために、当該第1金属層上にレーザ光を照射することと、レーザ光の照射後に、第1金属層よりレーザ光に対する反射率が高い第2金属層を、当該第1金属層上に形成することと、を実行する。
【0009】
なお、以上の構成要素の任意の組合せや、これらの表現を方法、装置、システム、記録媒体、コンピュータプログラム等に変換したものも、本開示に包含される。
【発明の効果】
【0010】
本開示によれば、GaAs半導体デバイスにおいてレーザ光によるアニール処理を適切に施すことができる。
【図面の簡単な説明】
(【0011】以降は省略されています)
この特許をJ-PlatPat(特許庁公式サイト)で参照する
関連特許
個人
積和演算用集積回路
21日前
サンケン電気株式会社
半導体装置
20日前
日機装株式会社
半導体発光装置
15日前
エイブリック株式会社
縦型ホール素子
1か月前
エイブリック株式会社
縦型ホール素子
1か月前
旭化成株式会社
発光素子
1か月前
富士通株式会社
半導体装置
1か月前
ローム株式会社
抵抗チップ
1か月前
株式会社東芝
半導体装置
7日前
富士電機株式会社
半導体装置
1か月前
株式会社半導体エネルギー研究所
表示装置
1か月前
三菱電機株式会社
半導体装置
29日前
三菱電機株式会社
半導体装置
7日前
日亜化学工業株式会社
発光装置
1か月前
日亜化学工業株式会社
発光装置
1か月前
日亜化学工業株式会社
発光素子
1か月前
ローム株式会社
半導体集積回路
29日前
TDK株式会社
圧電素子
1か月前
ローム株式会社
半導体装置
1か月前
富士電機株式会社
半導体装置の製造方法
1か月前
ローム株式会社
窒化物半導体装置
1か月前
ローム株式会社
半導体装置
20日前
ローム株式会社
半導体装置
1か月前
株式会社半導体エネルギー研究所
発光デバイス
15日前
ローム株式会社
窒化物半導体装置
1か月前
株式会社半導体エネルギー研究所
発光デバイス
28日前
サンケン電気株式会社
半導体装置
7日前
大日本印刷株式会社
太陽電池
1か月前
日亜化学工業株式会社
発光素子
20日前
株式会社カネカ
太陽電池モジュール
1か月前
株式会社MARUWA
発光装置及び照明器具
1か月前
サンケン電気株式会社
発光装置
1か月前
日本電気株式会社
超伝導量子回路装置
1か月前
日本ゼオン株式会社
構造体
22日前
日亜化学工業株式会社
発光装置
29日前
ローム株式会社
半導体装置
7日前
続きを見る
他の特許を見る