TOP
|
特許
|
意匠
|
商標
特許ウォッチ
Twitter
他の特許を見る
公開番号
2025171525
公報種別
公開特許公報(A)
公開日
2025-11-20
出願番号
2024076963
出願日
2024-05-10
発明の名称
半導体装置及び電気機器
出願人
サンケン電気株式会社
代理人
個人
,
個人
主分類
H01L
21/60 20060101AFI20251113BHJP(基本的電気素子)
要約
【課題】クリップリードを用い、高い歩留まりで信頼性の高い半導体装置を得る。
【解決手段】クリップリード30は、水平方向で、第1リードフレーム10上において半導体チップ50が搭載された第1領域R1、第2リードフレーム20がある第2領域R2、第1リードフレーム10上において半導体チップ50が搭載されていない第3領域R3にわたり形成されている。第1領域R1に第1脚部31、第2領域R2に第2脚部32が設けられ、これらはそれぞれ半導体チップ50、第2リードフレーム20上のスペーサ40と接合される。このクリップリード30においては、第3領域R3において、第1脚部31と同様に下側に突出する第3脚部33が設けられる。第1リードフレーム10における半導体チップ50よりも右側には、絶縁スペーサ60が設けられる。
【選択図】図1
特許請求の範囲
【請求項1】
それぞれ金属板で構成された第1リードフレーム、第2リードフレーム、クリップリードが用いられ、半導体素子が形成された半導体チップが前記第1リードフレーム上に搭載され、前記クリップリードが、前記半導体チップと前記第2リードフレームとの間を接続する構成を有する半導体装置であって、
平面視において、前記クリップリードは、前記第1リードフレームにおける前記半導体チップが搭載された領域である第1領域、前記第2リードフレームがある第2領域、及び、前記第1リードフレームにおける前記半導体チップが搭載されない領域である第3領域、にかけて形成され、
前記クリップリードは、前記第1領域、前記第2領域、前記第3領域において、局所的に下側に突出した第1脚部、第2脚部、第3脚部をそれぞれ具備し、
前記第1脚部は前記半導体チップの上面と、前記第2脚部は前記第2リードフレームと、前記第3脚部は絶縁性の絶縁スペーサを介して前記第1リードフレームと、それぞれ接続されたことを特徴とする半導体装置。
続きを表示(約 740 文字)
【請求項2】
前記第2脚部は、導電性のスペーサを介して前記第2リードフレームに接続されたことを特徴とする請求項1に記載の半導体装置。
【請求項3】
前記半導体素子は、2つの主電極間で電流が流れる構成とされ、前記半導体チップの下面、上面には、一方の前記主電極、他方の前記主電極がそれぞれ接続され、前記第1リードフレームには前記一方の前記主電極、前記クリップリードには前記他方の前記主電極がそれぞれ接続されたことを特徴とする請求項1又は2に記載の半導体装置。
【請求項4】
平面視において、前記第2脚部、前記第1脚部、前記第3脚部が直線上に順に並んで形成されたことを特徴とする請求項1又は2に記載の半導体装置。
【請求項5】
前記第1リードフレームと前記半導体チップの下面の間、前記第1脚部と前記半導体チップの上面の間、前記スペーサと前記第2リードフレームの間、前記第2脚部と前記スペーサとの間は、それぞれ金属の微粒子が結合されて構成された導電性材料からなる接合層で接続されたことを特徴とする請求項2に記載の半導体装置。
【請求項6】
前記絶縁スペーサと前記第1リードフレームの間、前記第3脚部と前記絶縁スペーサの間は、それぞれ前記導電性材料からなる接合層で接続されたことを特徴とする請求項5に記載の半導体装置。
【請求項7】
前記第2脚部は、前記第2リードフレームの上に搭載された他の半導体チップを介して前記第2リードフレームに接続されたことを特徴とする請求項1に記載の半導体装置。
【請求項8】
請求項1又は2に記載の半導体装置が用いられたことを特徴とする電気機器。
発明の詳細な説明
【技術分野】
【0001】
本開示の実施形態は、半導体装置、及びこれが用いられた電気機器に関する。
続きを表示(約 2,200 文字)
【背景技術】
【0002】
大電流のスイッチングや整流を行うパワー半導体素子(整流用ダイオード、パワーMOSFET、IGBT等)が知られている。パワー半導体素子は使用時に発熱するため、放熱効率の高い金属で構成されたリードフレーム上に搭載されて用いられる。この際、リードフレームは電流の経路ともなりえ、全体の支持基板ともなる。
【0003】
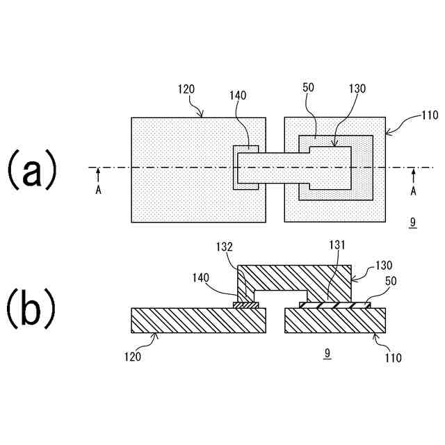
このような半導体装置の形態として、クリップリードを用いたものがあり、その詳細な構造は例えば特許文献1、2に記載されている。図5は、このような半導体装置9の構造を単純化して示す平面図(a)及びそのA-A方向の断面図(b)である。ここでは、銅合金等で構成された第1リードフレーム110上に半導体チップ50が搭載されている。ここで、半導体チップ50には半導体素子(例えばダイオード)が形成されている。第1リードフレーム110とは別体であり同様の材料、厚さで構成された第2リードフレーム120が第1リードフレーム110に隣接して設けられる。
【0004】
ここで、半導体チップ50の下面側(第1リードフレーム110側)にはダイオードのアノード電極が形成され、このアノード電極が導電性の接合層(図示せず)で第1リードフレーム110と接合される。このため、第1リードフレーム110全体をアノード電極として用いることができる。
【0005】
一方、半導体チップ50の上面(第1リードフレーム10と反対側)には、ダイオードのカソード電極が形成されている。このカソード電極を第2リードフレーム120と接続するためにクリップリード130が用いられている。クリップリード130における図中右側の端部は、半導体チップ50の上面と接続されるように局所的に下側に突出した第1脚部131とされており、第1脚部131は前記と同様の接合層を介して半導体チップ50の表面と接合されている。更に、クリップリード130の図中左側の端部は、第2リードフレーム120側と接続されるように局所的に下側に突出した第2脚部132とされ、第2脚部132は、金属製のスペーサ140を介して第2リードフレーム120と接合されている。この際、スペーサ140と第2脚部132、スペーサ140と第2リードフレーム120間も前記と同様の接合層で接合されている。このため、第2リードフレーム120全体をカソード電極として用いることができる。この際、第1リードフレーム110、第2リードフレーム120の各々はこの半導体装置9の支持基板ともなる。
【0006】
ここで、半導体チップ50の厚さは実際には0.1mm程度、第1リードフレーム110、第2リードフレーム120の厚さは1mm程度とされ、スペーサ140の厚さは半導体チップ50と同程度とされる。また、クリップリード130の材料、厚さは第1リードフレーム110、第2リードフレーム120と同様とされ、クリップリード130を配線の一部として用いることができる。この構造によって、この半導体装置9に大電流を流して用いることができる。また、クリップリード130の代わりにボンディングワイヤ等による接続を用いた場合と比べて、全体の機械的強度を高めることができると共に、より大電流を流すことができる。前記の接合層は、例えば接合される一方の側に導電性の接合材(例えば低融点金属層)を印刷で形成した上で、この一方の側の部材、又は他方の側の部材を加熱・圧着することによって形成される。
【0007】
この際、第1リードフレーム110、第2リードフレーム120と比べて、半導体チップ50は無視できる程度に薄い。一方、第1リードフレーム110とクリップリード130はダイオードにおける互いに異なる側の電極となるため、これらの間の絶縁性(耐圧)は確保される必要がある。このため、上記の構造では、半導体チップ50側に向けて局所的に突出する第1脚部131が設けられ、これ以外の箇所ではクリップリード130と第1リードフレーム110との間の間隔は広くされる。第2リードフレーム120側でも、クリップリード130の接合時のバランスを保つために、同様に第2脚部132が設けられ、半導体チップ50と同じ厚さのスペーサ140が設けられる。
【先行技術文献】
【特許文献】
【0008】
特開2017-73406号公報
特開2016-146450号公報
【発明の概要】
【発明が解決しようとする課題】
【0009】
上記のように厚く大きなクリップリードを半導体チップや第2リードフレーム上に接合した構造においては、クリップリードを接合する際の圧力が大きいと、半導体チップにダメージが及ぶおそれがある。一方、この圧力が小さな場合では、圧力が不均一となり、1箇所の接合強度が不十分となり、剥離等が発生する場合があった。また、製造時だけでなく、このような剥離は、使用時の発熱による熱膨張によっても、例えばクリップリードを傾斜させるような力が働いた場合に、発生した。
【0010】
このため、クリップリードを用い、高い歩留まりで信頼性の高い半導体装置を得ることは困難であった。
(【0011】以降は省略されています)
この特許をJ-PlatPat(特許庁公式サイト)で参照する
関連特許
サンケン電気株式会社
半導体装置
3日前
サンケン電気株式会社
半導体装置
16日前
サンケン電気株式会社
半導体装置及び電気機器
3日前
サンケン電気株式会社
半導体装置及び電気機器
3日前
サンケン電気株式会社
サージ電圧吸収回路用素子及びサージ電圧吸収回路
3日前
東ソー株式会社
絶縁電線
1か月前
APB株式会社
蓄電セル
1か月前
マクセル株式会社
電源装置
24日前
株式会社東芝
端子台
24日前
ローム株式会社
半導体装置
1か月前
株式会社GSユアサ
蓄電装置
3日前
株式会社ホロン
冷陰極電子源
1か月前
三菱電機株式会社
回路遮断器
11日前
株式会社GSユアサ
蓄電装置
17日前
株式会社GSユアサ
蓄電装置
25日前
株式会社GSユアサ
蓄電装置
25日前
富士電機株式会社
電磁接触器
3日前
トヨタ自動車株式会社
冷却構造
1か月前
トヨタ自動車株式会社
蓄電装置
25日前
日本特殊陶業株式会社
保持装置
16日前
トヨタ自動車株式会社
バッテリ
1か月前
日新イオン機器株式会社
基板処理装置
27日前
日本特殊陶業株式会社
保持装置
1か月前
北道電設株式会社
配電具カバー
1か月前
ヒロセ電機株式会社
電気コネクタ
3日前
トヨタ自動車株式会社
密閉型電池
26日前
矢崎総業株式会社
コネクタ
3日前
住友電装株式会社
コネクタ
3日前
甲神電機株式会社
変流器及び零相変流器
18日前
株式会社トクヤマ
シリコンエッチング液
1か月前
トヨタ自動車株式会社
電池パック
1か月前
株式会社トクヤマ
シリコンエッチング液
1か月前
住友電装株式会社
コネクタ
1か月前
トヨタ自動車株式会社
電池パック
1か月前
ローム株式会社
半導体装置
1か月前
株式会社レゾナック
冷却器
11日前
続きを見る
他の特許を見る