TOP
|
特許
|
意匠
|
商標
特許ウォッチ
Twitter
他の特許を見る
10個以上の画像は省略されています。
公開番号
2025171759
公報種別
公開特許公報(A)
公開日
2025-11-20
出願番号
2024077406
出願日
2024-05-10
発明の名称
サージ電圧吸収回路用素子及びサージ電圧吸収回路
出願人
サンケン電気株式会社
代理人
個人
,
個人
,
個人
主分類
H02M
3/28 20060101AFI20251113BHJP(電力の発電,変換,配電)
要約
【課題】
小型化・低コスト化を実現するとともに、短絡アブノーマル試験にも対応可能なサージ電圧吸収回路及びサージ電圧吸収回路に用いるサージ電圧吸収回路用素子を提供する。
【解決手段】
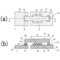
サージ電圧吸収回路に用いる素子であって、カソードコモンで接続された第1の整流用ダイオード及び第2の整流用ダイオードと、前記第1の整流用ダイオードのアノードに一端が接続された抵抗と、を有し、前記第1の整流用ダイオード、前記第2の整流用ダイオード及び前記抵抗が、一つのパッケージに実装されたものであることを特徴とするサージ電圧吸収回路用素子。
【選択図】図1
特許請求の範囲
【請求項1】
サージ電圧吸収回路に用いる素子であって、
カソードコモンで接続された第1の整流用ダイオード及び第2の整流用ダイオードと、
前記第1の整流用ダイオードのアノードに一端が接続された抵抗と、を有し、
前記第1の整流用ダイオード、前記第2の整流用ダイオード及び前記抵抗が、一つのパッケージに実装されたものであることを特徴とするサージ電圧吸収回路用素子。
続きを表示(約 390 文字)
【請求項2】
前記第1の整流用ダイオードはスナバ用ダイオードであり、
前記第2の整流用ダイオードはPFC用の昇圧ダイオードであることを特徴とする請求項1に記載のサージ電圧吸収回路用素子。
【請求項3】
前記第1の整流用ダイオードはスナバ用ダイオードであり、
前記第2の整流用ダイオードは、半波整流用ダイオードであることを特徴とする請求項1に記載のサージ電圧吸収回路用素子。
【請求項4】
前記サージ電圧吸収回路用素子と、
前記サージ電圧吸収回路用素子のパッケージの外部に配置され、互いに並列に接続された外部抵抗及び外部コンデンサと、
前記サージ電圧吸収回路用素子の前記抵抗の他端と、前記外部抵抗及び前記外部コンデンサの一端が接続されたものであることを特徴とする請求項1から3のいずれか一項に記載のサージ電圧吸収回路。
発明の詳細な説明
【技術分野】
【0001】
本開示は、サージ電圧吸収回路用素子及びサージ電圧吸収回路に関する。
続きを表示(約 1,600 文字)
【背景技術】
【0002】
スナバ回路(Snubber circuit)とは、電気回路中にあってスイッチの遮断時に生じる過渡的な高電圧を吸収する保護回路のことである。例えば、回路の電流を突然遮断すると自己インダクタンスによって電圧が急上昇するが、スナバ回路がこのスパイク状の高電圧を抑制することで、スイッチ自身や周囲の電子部品の損傷を防ぎ電磁ノイズを最小化することができる。
【0003】
スナバ回路の最も簡単な構成として、コンデンサ(C)と抵抗(R)を用いたCRスナバ回路が用いられてきたが、最近では、トランスを用いた絶縁DC-DCコンバータ等に代表されるフライバック回路等において、一次側メイン素子のサージ電圧抑制手段として、CRスナバ回路にさらに整流用ダイオード(D)を採用したDCRスナバ回路がよく用いられている。
【0004】
また部品配置については、ノイズの影響を考慮すればコイルを流れる電流ラインに直接、抵抗とコンデンサを入れるのが一般的であるのと、CRスナバ回路を出発点としてDCRスナバ回路が開発されてきた経緯もあって、あらかじめ抵抗とコンデンサが配置された回路に、1パッケージ内に実装された整流用ダイオードを後付けするのが一般的であった。
【0005】
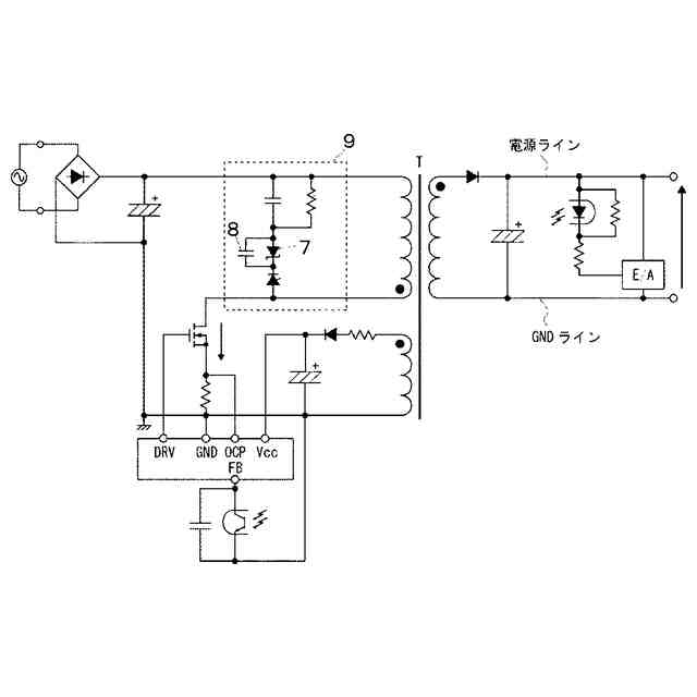
図6は、特許文献1に開示された従来のDC-DCコンバータの回路構成図であり、基本的な構成のDCRスナバ回路1が開示されている。
【0006】
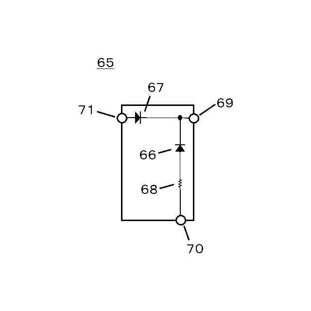
図7は、特許文献2に開示されたDC-DCコンバータの回路構成図であり、前述のDCRスナバ回路の抵抗の位置にツェナーダイオード7と、コンデンサ8を備えたスナバ回路9が開示されている。特許文献2には他にもスナバ回路の応用例が示され、図8(a)~図8(d)には、スナバ用ダイオード10とツェナーダイオード11を用いて、それ以外の抵抗とコンデンサを変更したスナバ回路12a~12dが開示されている。
【0007】
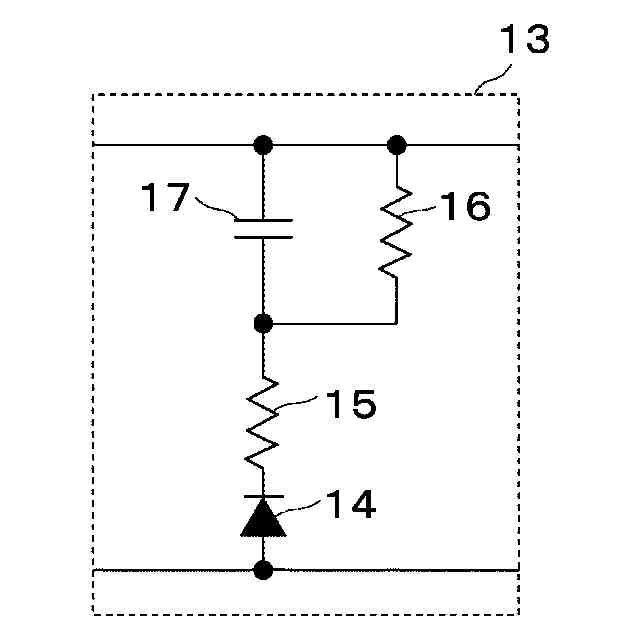
このようにいろいろな応用例が開示されているが、最も基本的なDCRスナバ回路図9は、13に示すような、整流用ダイオードを用いたスナバ用ダイオード14と、スナバ用ダイオード14のカソードに一端が接続された抵抗15と、抵抗15の他端に互いに並列に接続された抵抗16及びコンデンサ17と、を有する構成である。
【0008】
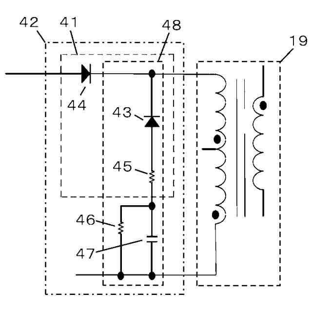
DCRスナバ回路が使用される多くの場合において、図10のような接続構成が見られる。DCRスナバ回路18がトランス19に接続され、スナバ用ダイオード(第1の整流用ダイオード)20とは別の整流用ダイオード(第2の整流用ダイオード)21を有する構成である。
【0009】
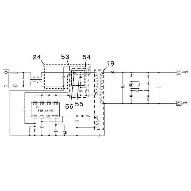
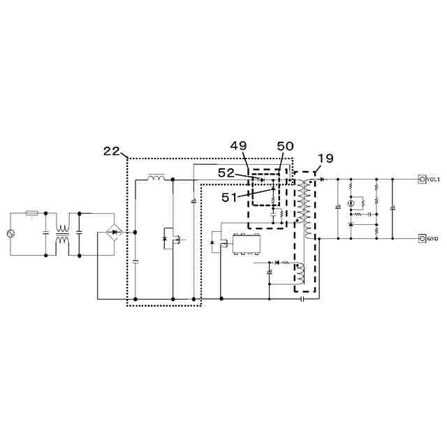
具体例としては、図11のような、PFC(Power Factor Correction:力率補正)回路とPWM(Pulse Width Modulation:パルス幅制御)回路の組み合わせの例がある。これは例えばRAC(ルームエアコン)の室外機等に用いられる電源に採用されている。力率改善用のPFC回路22には、昇圧回路のためにPFC用の昇圧ダイオード23を用いるが、このダイオードは1パッケージ内に実装された高速用で逆回復時間(trr)が小さいFRD(Fast Recovery Diode)を使用する。このPFC用の昇圧ダイオード23が、前述の図10の整流用ダイオード(第2の整流用ダイオード)21に該当する。
【0010】
同様の例として、PFC回路とQR(Quasi-resonant:疑似共振制御)回路の組み合わせの場合においても、図11と同様の構成となる。これは例えばOA用やAudio機器等に用いられる電源に採用されている。
(【0011】以降は省略されています)
この特許をJ-PlatPat(特許庁公式サイト)で参照する
関連特許
サンケン電気株式会社
半導体装置
3日前
サンケン電気株式会社
半導体装置
16日前
サンケン電気株式会社
半導体装置
25日前
サンケン電気株式会社
半導体装置及び電気機器
3日前
サンケン電気株式会社
半導体装置及び電気機器
3日前
サンケン電気株式会社
電流検出器及び電気機器
16日前
サンケン電気株式会社
半導体装置及び電気機器
18日前
サンケン電気株式会社
ワイヤレス給電システム及び受電装置
1か月前
サンケン電気株式会社
半導体装置、電気機器及び半導体装置の製造方法
19日前
サンケン電気株式会社
サージ電圧吸収回路用素子及びサージ電圧吸収回路
3日前
サンケン電気株式会社
パワー半導体素子またはパワー半導体モジュール、その試験方法並びに製造方法及び試験装置
25日前
サンケン電気株式会社
樹脂封止型半導体モジュール及び電気機器、並びに、樹脂封止型半導体モジュールの製造方法及び電気機器の製造方法
16日前
個人
単極モータ
1か月前
個人
電気を重力で発電装置
17日前
個人
高圧電気機器の開閉器
4日前
キヤノン電子株式会社
モータ
24日前
キヤノン電子株式会社
モータ
16日前
株式会社アイシン
ロータ
1か月前
株式会社アイシン
ロータ
1か月前
コーセル株式会社
電源装置
25日前
日星電気株式会社
ケーブル組立体
1か月前
トヨタ自動車株式会社
モータ
16日前
株式会社アイドゥス企画
減反モータ
4日前
株式会社デンソー
回転機
1か月前
個人
二次電池繰返パルス放電器用印刷基板
1か月前
株式会社kaisei
発電システム
1か月前
株式会社デンソー
電力変換装置
1か月前
株式会社ミツバ
回転電機
1か月前
株式会社デンソー
電力変換装置
1か月前
株式会社デンソー
非接触受電装置
1か月前
株式会社ダイヘン
インバータ装置
1か月前
トヨタ自動車株式会社
固定子の加熱装置
27日前
矢崎総業株式会社
電源回路
3日前
トヨタ自動車株式会社
ステータの製造装置
17日前
矢崎総業株式会社
ワイヤーハーネス
1か月前
個人
非対称鏡像力を有する4層PWB電荷搬送体
11日前
続きを見る
他の特許を見る