TOP
|
特許
|
意匠
|
商標
特許ウォッチ
Twitter
他の特許を見る
公開番号
2025171526
公報種別
公開特許公報(A)
公開日
2025-11-20
出願番号
2024076964
出願日
2024-05-10
発明の名称
半導体装置及び電気機器
出願人
サンケン電気株式会社
代理人
個人
,
個人
主分類
H01L
21/60 20060101AFI20251113BHJP(基本的電気素子)
要約
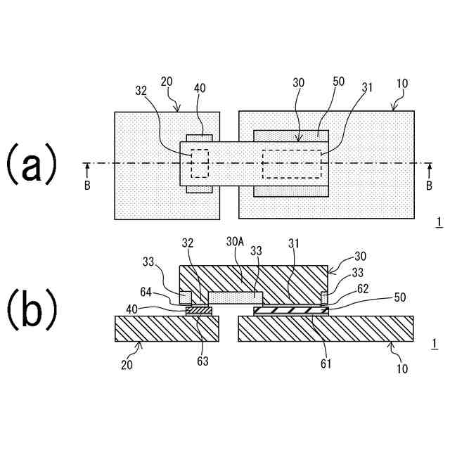
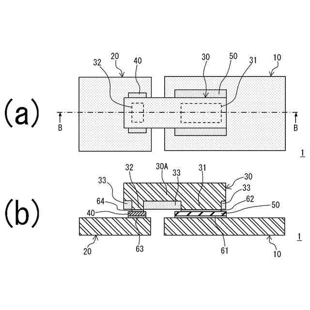
【課題】クリップリードを用い、高い歩留まりで信頼性の高い半導体装置を得る。
【解決手段】クリップリード本体30Aにおいては、図1に示されるように、第1脚部31、第2脚部32以外の領域(第1脚部31、第2脚部32の周囲の領域)は図1(b)において上側に向けて後退した位置にある。このクリップリード30においては、このような第1脚部31、第2脚部32の周囲の領域に、絶縁保護層33が形成されている。絶縁保護層33は、例えばポリイミド等の樹脂材料で構成される。第1脚部31、第2脚部32の突出量は同一とされ、絶縁保護層33は、第1脚部31、第2脚部32と同一平面を構成するように形成される。
【選択図】図1
特許請求の範囲
【請求項1】
それぞれ金属板で構成された第1リードフレーム、第2リードフレーム、クリップリードが用いられ、半導体素子が形成された半導体チップが前記第1リードフレーム上に搭載され、前記クリップリードが、前記半導体チップと前記第2リードフレームとの間を接続する構成を有する半導体装置であって、
前記クリップリードの下面には、それぞれ局所的に下側に突出した第1脚部、第2脚部が、平面視における前記半導体チップがある領域、前記第2リードフレームがある領域に設けられ、
前記第1リードフレームは前記半導体チップの下面と、前記第1脚部は前記半導体チップの上面と、前記第2脚部は前記第2リードフレームと、それぞれ接続され、
前記クリップリードの下面における、前記第1脚部、前記第2脚部が形成されない領域には、絶縁性の保護層が形成されたことを特徴とする半導体装置。
続きを表示(約 610 文字)
【請求項2】
前記半導体素子は、2つの主電極間で電流が流れる構成とされ、前記半導体チップの下面、上面には、一方の前記主電極、他方の前記主電極がそれぞれ接続され、前記第1リードフレームには前記一方の前記主電極、前記クリップリードには前記他方の前記主電極がそれぞれ接続されたことを特徴とする請求項1に記載の半導体装置。
【請求項3】
前記第2脚部は、導電性のスペーサを介して前記第2リードフレームと接続されたことを特徴とする請求項1又は2に記載の半導体装置。
【請求項4】
前記第1リードフレームと前記半導体チップの下面の間、前記第1脚部と前記半導体チップの上面の間、前記スペーサと前記第2リードフレームの間、前記第2脚部と前記スペーサとの間は、それぞれ金属の微粒子が結合されて構成された導電性材料からなる接合層で接続されたことを特徴とする請求項3に記載の半導体装置。
【請求項5】
前記保護層は、ポリイミド樹脂で構成されたことを特徴とする請求項1又は2に記載の半導体装置。
【請求項6】
前記第2脚部は、前記第2リードフレームの上に搭載された他の半導体チップを介して前記第2リードフレームに接続されたことを特徴とする請求項1又は2に記載の半導体装置。
【請求項7】
請求項1又は2に記載の半導体装置が用いられたことを特徴とする電気機器。
発明の詳細な説明
【技術分野】
【0001】
本開示の実施形態は、半導体装置、及びこれが用いられた電気機器に関する。
続きを表示(約 2,000 文字)
【背景技術】
【0002】
大電流のスイッチングや整流を行うパワー半導体素子(整流用ダイオード、パワーMOSFET、IGBT等)が知られている。パワー半導体素子は使用時に発熱するため、放熱効率の高い金属で構成されたリードフレーム上に搭載されて用いられる。この際、リードフレームは電流の経路ともなり、全体の支持基板ともなる。
【0003】
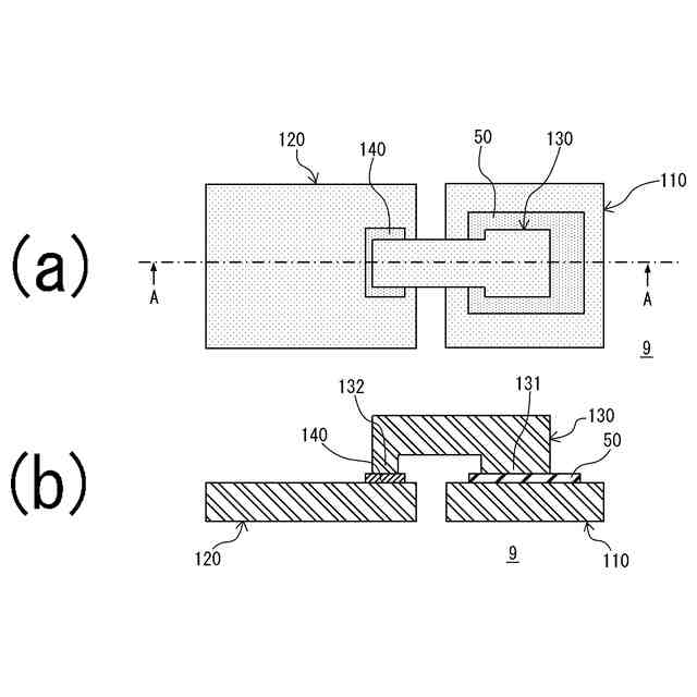
このような半導体装置の形態として、クリップリードを用いたものがあり、その詳細な構造は例えば特許文献1、2に記載されている。図4は、このような半導体装置9の構造を単純化して示す平面図(a)及びそのA-A方向の断面図(b)である。ここでは、銅合金等で構成された第1リードフレーム110上に半導体チップ50が搭載されている。ここで、半導体チップ50にはダイオードが形成されているものとする。第1リードフレーム110とは別体であり同様の材料、厚さで構成された第2リードフレーム120が第1リードフレーム110に隣接して設けられる。
【0004】
ここで、半導体チップ50の下面側(第1リードフレーム110側)にはダイオードのアノード電極が形成され、このアノード電極が導電性の接合層(図示せず)で第1リードフレーム110と接合される。このため、第1リードフレーム110全体をアノード電極として用いることができる。
【0005】
一方、半導体チップ50の上面(第1リードフレーム10と反対側)には、ダイオードのカソード電極が形成されている。このカソード電極を第2リードフレーム120と接続するためにクリップリード130が用いられている。クリップリード130における図中右側の端部は、半導体チップ50の上面と接続されるように局所的に下側に突出した第1脚部131とされており、第1脚部131は前記と同様の接合層を介して半導体チップ50の表面と接合されている。更に、クリップリード130の図中左側の端部は、第2リードフレーム120側と接続されるように局所的に下側に突出した第2脚部132とされ、第2脚部132は、金属製のスペーサ140を介して第2リードフレーム120と接合されている。この際、スペーサ140と第2脚部132、スペーサ140と第2リードフレーム120間も前記と同様の接合層で接合されている。このため、第2リードフレーム120全体をカソード電極として用いることができる。この際、第1リードフレーム110、第2リードフレーム120の各々はこの半導体装置9の支持基板ともなる。
【0006】
ここで、半導体チップ50の厚さは実際には0.1mm程度、第1リードフレーム110、第2リードフレーム120の厚さは1mm程度とされ、スペーサ140の厚さは半導体チップ50と同程度とされる。また、クリップリード130の材料、厚さは第1リードフレーム110、第2リードフレーム120と同様とされ、クリップリード130を配線の一部として用いることができる。この構造によって、この半導体装置9に大電流を流して用いることができる。また、クリップリード130の代わりにボンディングワイヤ等による接続を用いた場合と比べて、全体の機械的強度を高めることができると共に、より大電流を流すことができる。前記の接合層は、例えば接合される一方の側に導電性の接合材(例えば低融点金属層)を印刷で形成した上で、この一方の側の部材、又は他方の側の部材を加熱・圧着することによって形成される。
【先行技術文献】
【特許文献】
【0007】
特開2017-73406号公報
特開2016-146450号公報
【発明の概要】
【発明が解決しようとする課題】
【0008】
上記のクリップリード130において、第1脚部131、第2脚部132の周囲は薄くされる。一方、一般的には、クリップリード130を接合する際には、クリップリード130を全面にわたり加圧するのが一般的である。この場合、このようにクリップリード130における薄くなった部分が変形しやすくなり、全体形状が歪むことがあり、これによって、第1脚部131、第2脚部132の接合部分で剥離が生じやすくなった。このような歪は、接合時だけでなく、使用時の発熱による熱膨張によっても、例えばクリップリードを傾斜させるような力が働いた場合に発生した。
【0009】
このため、クリップリードを用い、高い歩留まりで信頼性の高い半導体装置を得ることは困難であった。
【0010】
本開示は、かかる問題点に鑑みてなされたものであり、上記問題点を解決する半導体装置及び電気機器を提供することを目的とする。
【課題を解決するための手段】
(【0011】以降は省略されています)
この特許をJ-PlatPat(特許庁公式サイト)で参照する
関連特許
サンケン電気株式会社
半導体装置
3日前
サンケン電気株式会社
半導体装置
16日前
サンケン電気株式会社
半導体装置
25日前
サンケン電気株式会社
半導体装置及び電気機器
3日前
サンケン電気株式会社
半導体装置及び電気機器
3日前
サンケン電気株式会社
電流検出器及び電気機器
16日前
サンケン電気株式会社
半導体装置及び電気機器
18日前
サンケン電気株式会社
モータドライバ及び半導体装置
1か月前
サンケン電気株式会社
ワイヤレス給電システム及び受電装置
1か月前
サンケン電気株式会社
半導体装置、電気機器及び半導体装置の製造方法
19日前
サンケン電気株式会社
サージ電圧吸収回路用素子及びサージ電圧吸収回路
3日前
サンケン電気株式会社
パワー半導体素子またはパワー半導体モジュール、その試験方法並びに製造方法及び試験装置
25日前
サンケン電気株式会社
樹脂封止型半導体モジュール及び電気機器、並びに、樹脂封止型半導体モジュールの製造方法及び電気機器の製造方法
16日前
株式会社GSユアサ
蓄電装置
3日前
三菱電機株式会社
回路遮断器
11日前
富士電機株式会社
電磁接触器
3日前
ヒロセ電機株式会社
電気コネクタ
3日前
株式会社レゾナック
冷却器
11日前
ローム株式会社
半導体モジュール
4日前
矢崎総業株式会社
コネクタ
3日前
住友電装株式会社
コネクタ
3日前
株式会社デンソー
半導体装置
3日前
TDK株式会社
電子部品
3日前
新電元工業株式会社
半導体装置
3日前
矢崎総業株式会社
コネクタ
4日前
FDK株式会社
組電池及びその作製方法
13日前
トヨタ自動車株式会社
電池
9日前
株式会社村田製作所
インダクタ部品
4日前
株式会社村田製作所
インダクタ部品
4日前
株式会社アルバック
プラズマ処理装置
3日前
ニチコン株式会社
金属化フィルムコンデンサ
11日前
株式会社AESCジャパン
電池及び電気装置
3日前
矢崎総業株式会社
コネクタ
3日前
ケル株式会社
多極スイッチ
3日前
FDK株式会社
電池
3日前
フタバ産業株式会社
熱交換器
11日前
続きを見る
他の特許を見る