TOP
|
特許
|
意匠
|
商標
特許ウォッチ
Twitter
他の特許を見る
10個以上の画像は省略されています。
公開番号
2025171001
公報種別
公開特許公報(A)
公開日
2025-11-20
出願番号
2024075934
出願日
2024-05-08
発明の名称
表示装置及び表示装置の製造方法
出願人
株式会社Magnolia White
代理人
弁理士法人スズエ国際特許事務所
主分類
H10K
50/844 20230101AFI20251113BHJP()
要約
【課題】表示装置の製造コストを削減する。
【解決手段】一実施形態によれば、表示装置は、基板と、前記基板の上方において、画像を表示する表示領域に配置された下電極と、無機絶縁材料で形成され、前記下電極の周縁部を覆う絶縁層と、前記下電極の上に配置され、発光層を含む有機層と、前記有機層の上に配置された上電極と、前記上電極の上に配置されたキャップ層と、前記絶縁層の上に配置され前記上電極に接触し導電材料で形成された下部と、前記下部の上に配置された上部と、を有し、前記有機層、前記上電極、及び、前記キャップ層を囲む隔壁と、無機絶縁材料で形成され、前記隔壁で囲まれた前記キャップ層の上に配置され、前記隔壁の側面に接触し、前記隔壁の上方に延出し、前記隔壁の前記上部から離間した第1封止層と、無機絶縁材料で形成され、前記第1封止層を直接覆う第2封止層と、を備える。
【選択図】図3
特許請求の範囲
【請求項1】
基板と、
前記基板の上方において、画像を表示する表示領域に配置された下電極と、
無機絶縁材料で形成され、前記下電極の周縁部を覆う絶縁層と、
前記下電極の上に配置され、発光層を含む有機層と、
前記有機層の上に配置された上電極と、
前記上電極の上に配置されたキャップ層と、
前記絶縁層の上に配置され前記上電極に接触し導電材料で形成された下部と、前記下部の上に配置された上部と、を有し、前記有機層、前記上電極、及び、前記キャップ層を囲む隔壁と、
無機絶縁材料で形成され、前記隔壁で囲まれた前記キャップ層の上に配置され、前記隔壁の側面に接触し、前記隔壁の上方に延出し、前記隔壁の前記上部から離間した第1封止層と、
無機絶縁材料で形成され、前記第1封止層を直接覆う第2封止層と、
を備える、表示装置。
続きを表示(約 1,000 文字)
【請求項2】
さらに、前記第1封止層を覆う樹脂層を備える、
請求項1に記載の表示装置。
【請求項3】
さらに、前記表示領域の外側において、信号源と電気的に接続される端子を備え、
前記第2封止層の端部、及び、前記樹脂層の端部は、前記端子と前記表示領域との間に位置している、
請求項2に記載の表示装置。
【請求項4】
前記樹脂層の端部は、前記第2封止層の端部に重畳している、
請求項3に記載の表示装置。
【請求項5】
前記樹脂層の端部は、前記端子と前記第2封止層の端部との間に位置している、
請求項3に記載の表示装置。
【請求項6】
さらに、前記上部、前記第1封止層、及び、前記第2封止層で囲まれた空隙を備える、
請求項1に記載の表示装置。
【請求項7】
前記第1封止層及び前記第2封止層は、シリコン窒化物で形成されている、
請求項1に記載の表示装置。
【請求項8】
基板と、
前記基板の上方において、画像を表示する表示領域に配置された下電極と、
無機絶縁材料で形成され、前記下電極の周縁部を覆う絶縁層と、
前記下電極の上に配置され、発光層を含む有機層と、
前記有機層の上に配置された上電極と、
前記上電極の上に配置されたキャップ層と、
前記絶縁層の上に配置され前記上電極に接触し導電材料で形成された下部と、前記下部の上に配置された上部と、を有し、前記有機層、前記上電極、及び、前記キャップ層を囲む隔壁と、
無機絶縁材料で形成され、前記隔壁で囲まれた前記キャップ層の上に配置され、前記隔壁の側面に接触し、前記隔壁の上方に延出し、前記隔壁の前記上部から離間した第1封止層と、
前記第1封止層を直接覆う樹脂層と、を備え、
前記樹脂層は、無機絶縁層で覆われていない、
表示装置。
【請求項9】
前記樹脂層は、前記上部と前記第1封止層とで囲まれた空隙に充填されている、
請求項8に記載の表示装置。
【請求項10】
さらに、前記樹脂層に接着されたカバープレートまたは偏光板を備える、
請求項2または8に記載の表示装置。
(【請求項11】以降は省略されています)
発明の詳細な説明
【技術分野】
【0001】
本発明の実施形態は、表示装置及び表示装置の製造方法に関する。
続きを表示(約 3,000 文字)
【背景技術】
【0002】
近年、表示素子として有機発光ダイオード(OLED)を適用した表示装置が実用化されている。この表示素子は、薄膜トランジスタを含む画素回路と、画素回路に接続された下電極と、下電極を覆う有機層と、有機層を覆う上電極と、を備えている。有機層は、発光層の他に、正孔輸送層や電子輸送層などの機能層を含んでいる。
表示装置の製造コストを削減することが要求されている。
【先行技術文献】
【特許文献】
【0003】
特開2000-195677号公報
特開2004-207217号公報
特開2008-135325号公報
特開2009-32673号公報
特開2010-118191号公報
国際公開第2018/179308号
米国特許出願公開第2022/0077251号明細書
【発明の概要】
【発明が解決しようとする課題】
【0004】
本発明の目的は、製造コストを削減することが可能な表示装置及び表示装置の製造方法を提供することにある。
【課題を解決するための手段】
【0005】
一実施形態によれば、表示装置は、
基板と、前記基板の上方において、画像を表示する表示領域に配置された下電極と、無機絶縁材料で形成され、前記下電極の周縁部を覆う絶縁層と、前記下電極の上に配置され、発光層を含む有機層と、前記有機層の上に配置された上電極と、前記上電極の上に配置されたキャップ層と、前記絶縁層の上に配置され前記上電極に接触し導電材料で形成された下部と、前記下部の上に配置された上部と、を有し、前記有機層、前記上電極、及び、前記キャップ層を囲む隔壁と、無機絶縁材料で形成され、前記隔壁で囲まれた前記キャップ層の上に配置され、前記隔壁の側面に接触し、前記隔壁の上方に延出し、前記隔壁の前記上部から離間した第1封止層と、無機絶縁材料で形成され、前記第1封止層を直接覆う第2封止層と、を備える。
【0006】
一実施形態によれば、表示装置は、
基板と、前記基板の上方において、画像を表示する表示領域に配置された下電極と、無機絶縁材料で形成され、前記下電極の周縁部を覆う絶縁層と、前記下電極の上に配置され、発光層を含む有機層と、前記有機層の上に配置された上電極と、前記上電極の上に配置されたキャップ層と、前記絶縁層の上に配置され前記上電極に接触し導電材料で形成された下部と、前記下部の上に配置された上部と、を有し、前記有機層、前記上電極、及び、前記キャップ層を囲む隔壁と、無機絶縁材料で形成され、前記隔壁で囲まれた前記キャップ層の上に配置され、前記隔壁の側面に接触し、前記隔壁の上方に延出し、前記隔壁の前記上部から離間した第1封止層と、前記第1封止層を直接覆う樹脂層と、を備え、前記樹脂層は、無機絶縁層で覆われていない。
【0007】
一実施形態によれば、表示装置の製造方法は、
基板の上方に下電極を形成し、前記下電極の周縁部を覆う絶縁層を形成し、前記絶縁層の上に位置する下部及び前記下部の上に位置する上部を有する隔壁を形成した処理基板を用意し、前記下電極の上に、発光層を含む有機層を形成し、前記有機層の上に上電極を形成し、前記上電極の上にキャップ層を形成し、無機絶縁材料で、前記キャップ層及び前記隔壁を覆う第1封止層を形成し、無機絶縁材料で、前記第1封止層を直接覆う第2封止層を形成し、前記第2封止層を覆う樹脂層を形成する。
【図面の簡単な説明】
【0008】
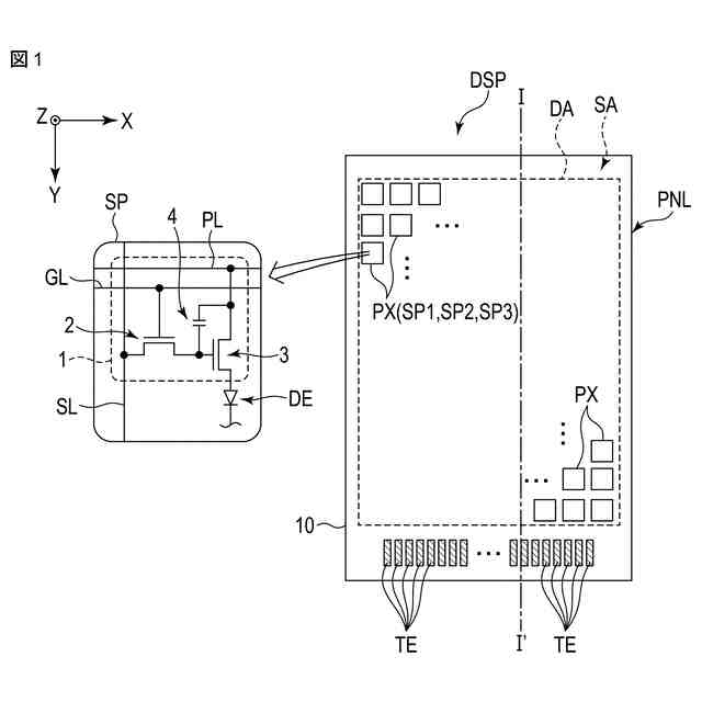
図1は、表示装置DSPの構成例を示す図である。
図2は、副画素SP1、SP2、SP3のレイアウトの一例を示す図である。
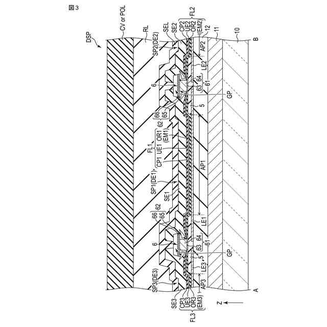
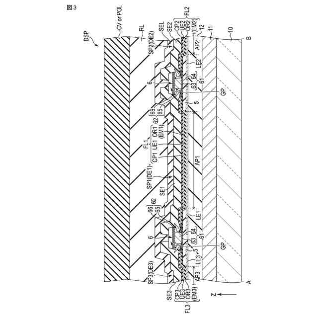
図3は、図2中のA-B線に沿う表示装置DSPの一構成例を示す概略的な断面図である。
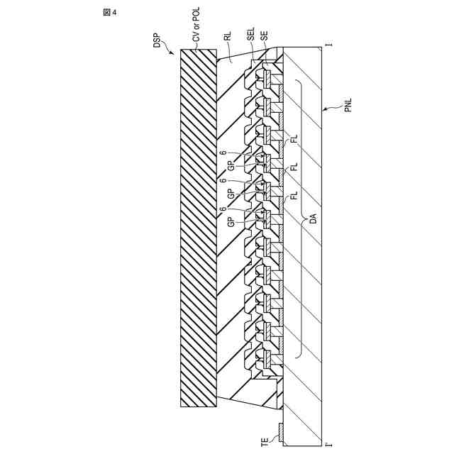
図4は、図1中のI-I’線に沿う表示装置DSPの一構成例を示す概略的な断面図である。
図5は、空隙GPを拡大した断面図である。
図6は、表示素子DEの一構成例を示す図である。
図7は、製造装置の概要を説明するための図である。
図8Aは、図7に示した蒸着装置100の一構成例を示す図である。
図8Bは、図7に示した蒸着装置100の他の構成例を示す図である。
図9は、表示装置DSPの製造方法を説明するための図である。
図10は、表示装置DSPの製造方法を説明するための図である。
図11は、表示装置DSPの製造方法を説明するための図である。
図12は、表示装置DSPの製造方法を説明するための図である。
図13は、表示装置DSPの製造方法を説明するための図である。
図14は、表示装置DSPの製造方法を説明するための図である。
図15は、表示装置DSPの製造方法を説明するための図である。
図16は、表示装置DSPの製造方法を説明するための図である。
図17は、表示装置DSPの製造方法を説明するための図である。
図18は、表示装置DSPの製造方法を説明するための図である。
図19は、表示装置DSPの製造方法を説明するための図である。
図20は、表示装置DSPの製造方法を説明するための図である。
図21は、表示装置DSPの製造方法を説明するための図である。
図22は、表示装置DSPの製造方法を説明するための図である。
図23は、図2中のA-B線に沿う表示装置DSPの他の構成例を示す概略的な断面図である。
図24は、図1中のI-I’線に沿う表示装置DSPの他の構成例を示す概略的な断面図である。
図25は、表示装置DSPの製造方法を説明するための図である。
【発明を実施するための形態】
【0009】
一実施形態について図面を参照しながら説明する。
開示はあくまで一例に過ぎず、当業者において、発明の主旨を保っての適宜変更について容易に想到し得るものについては、当然に本発明の範囲に含有されるものである。また、図面は、説明をより明確にするため、実際の態様に比べて、各部の幅、厚さ、形状等について模式的に表される場合があるが、あくまで一例であって、本発明の解釈を限定するものではない。また、本明細書と各図において、既出の図に関して前述したものと同一または類似した機能を発揮する構成要素には同一の参照符号を付し、重複する詳細な説明を適宜省略することがある。
【0010】
なお、図面には、必要に応じて理解を容易にするために、互いに直交するX軸、Y軸およびZ軸を記載する。X軸に沿った方向を第1方向Xと称し、Y軸に沿った方向を第2方向Yと称し、Z軸に沿った方向を第3方向Zと称する。第3方向Zと平行に各種要素を見ることを平面視という。なお、上や上方、間、対向など2以上の構成要素相互の位置関係を指す用語は、対象の2以上の構成要素が直接接している場合のみならず、空隙や他の構成要素を挟むことで相互に離間している場合も含む。また、Z軸の正方向を上または上方と称し、Z軸の負方向を下または下方と称する。
(【0011】以降は省略されています)
この特許をJ-PlatPat(特許庁公式サイト)で参照する
関連特許
個人
積和演算用集積回路
21日前
サンケン電気株式会社
半導体装置
20日前
日機装株式会社
半導体発光装置
15日前
旭化成株式会社
発光素子
1か月前
ローム株式会社
抵抗チップ
1か月前
株式会社半導体エネルギー研究所
表示装置
1か月前
三菱電機株式会社
半導体装置
29日前
株式会社東芝
半導体装置
7日前
富士電機株式会社
半導体装置
1か月前
三菱電機株式会社
半導体装置
7日前
日亜化学工業株式会社
発光装置
1か月前
ローム株式会社
半導体集積回路
29日前
ローム株式会社
半導体装置
20日前
サンケン電気株式会社
半導体装置
7日前
ローム株式会社
窒化物半導体装置
1か月前
ローム株式会社
半導体装置
1か月前
株式会社半導体エネルギー研究所
発光デバイス
28日前
ローム株式会社
半導体装置
1か月前
富士電機株式会社
半導体装置の製造方法
1か月前
株式会社半導体エネルギー研究所
発光デバイス
15日前
日亜化学工業株式会社
発光素子
20日前
大日本印刷株式会社
太陽電池
1か月前
日亜化学工業株式会社
発光素子
20日前
日亜化学工業株式会社
発光装置
22日前
日本ゼオン株式会社
構造体
22日前
日亜化学工業株式会社
発光装置
29日前
ローム株式会社
光センサ
1か月前
今泉工業株式会社
光発電装置及びその製造方法
1か月前
ローム株式会社
半導体装置
7日前
株式会社東芝
半導体装置及びウエーハ
29日前
日亜化学工業株式会社
発光装置の製造方法及び発光装置
29日前
住友電気工業株式会社
炭化珪素半導体装置
1か月前
住友電気工業株式会社
炭化珪素半導体装置
1か月前
住友電気工業株式会社
炭化珪素半導体装置
1か月前
ローム株式会社
半導体装置
20日前
住友電気工業株式会社
炭化珪素半導体装置
1か月前
続きを見る
他の特許を見る