TOP
|
特許
|
意匠
|
商標
特許ウォッチ
Twitter
他の特許を見る
10個以上の画像は省略されています。
公開番号
2025170931
公報種別
公開特許公報(A)
公開日
2025-11-20
出願番号
2024075798
出願日
2024-05-08
発明の名称
餌監視装置および餌監視方法
出願人
TOPPANホールディングス株式会社
代理人
個人
,
個人
,
個人
,
個人
主分類
A01M
23/16 20060101AFI20251113BHJP(農業;林業;畜産;狩猟;捕獲;漁業)
要約
【課題】動物を捕獲するための罠の見回りの負荷を軽減させることが可能な餌監視装置および餌監視方法を提供する。
【解決手段】動物を捕獲するための罠に設けられた照度センサと、前記照度センサの検出結果に基づく情報を外部に出力する出力部と、を備え、前記照度センサは、前記罠に仕掛けられた粉体状またはペースト状の餌の状態によって検出結果が異なる位置に設置される、餌監視装置。
【選択図】図2
特許請求の範囲
【請求項1】
動物を捕獲するための罠に設けられた照度センサと、
前記照度センサの検出結果に基づく情報を外部に出力する出力部と、
を備え、
前記照度センサは、前記罠に仕掛けられた粉体状またはペースト状の餌の状態によって異なる検出結果が得られる位置に設置される、
餌監視装置。
続きを表示(約 760 文字)
【請求項2】
前記照度センサの照度検出方向に光学部材が設けられると共に、前記光学部材を覆うように前記餌が配置され、
前記照度センサは、前記餌の状態の変化によって前記光学部材が露出することで、前記光学部材に到達した光に基づく照度を検出する、
請求項1に記載の餌監視装置。
【請求項3】
前記光学部材は板状であり、
複数の前記光学部材が前記照度センサの照度検出方向に複数段重ねて設けられる、
請求項2に記載の餌監視装置。
【請求項4】
前記複数段重ねて設けられた光学部材は、上の段ほど下の段の光学部材の外周よりも内側に配置される、
請求項3に記載の餌監視装置。
【請求項5】
前記出力部は、前記照度センサの検出結果に基づく情報として、前記照度センサによって光が検出されたか否か示す情報を前記外部に出力する、
請求項1に記載の餌監視装置。
【請求項6】
前記照度センサと閾値とを比較して前記餌の有無を判定する判定部を更に備え、
前記出力部は、前記照度センサの検出結果に基づく情報として、前記判定部の判定結果に基づく情報を出力する、
請求項1に記載の餌監視装置。
【請求項7】
前記閾値は、前記罠の周辺環境に応じて調整される、
請求項6に記載の餌監視装置。
【請求項8】
動物を捕獲するための罠に設けられた照度センサの上に粉体状またはペースト状の餌が配置された状態で前記照度センサにより照度を検出し、
検出した前記照度センサの検出結果に基づいて、前記餌の有無を判定し、
判定結果に基づく情報を外部に出力する、
餌監視方法。
発明の詳細な説明
【技術分野】
【0001】
本発明は、餌監視装置および餌監視方法に関する。
続きを表示(約 1,600 文字)
【背景技術】
【0002】
従来、獣害のある地域では、害獣等の動物を駆除するため、狩猟者は、罠を設置すると共に餌を仕掛けて動物を罠におびき寄せて捕獲する作業を行う。また、狩猟者は、定期的に罠の見回りを行い、設置した罠に動物が掛かっているか否かの確認と、罠が作動しているか否かの確認を行う。罠に動物が掛かっていた場合、狩猟者は、当該動物を捕獲する作業を行う。また、動物が掛かっていたか否かに関わらず罠が作動していた場合、狩猟者は罠を作動前の状態に戻す作業(即ち罠の再設置)を行う。狩猟者は、設置した罠を順番に見回り、これらの作業を行う。
【0003】
近年では、当該見回りを効率的に行うための技術が各種提案されている。例えば、下記特許文献1には、罠が作動した際に当該罠に動物が掛かっているか否かを示す情報も狩猟者に通知する技術が開示されている。
【先行技術文献】
【特許文献】
【0004】
特開2023-11336号公報
【発明の概要】
【発明が解決しようとする課題】
【0005】
ところで、狩猟者(罠の管理者)等のユーザは、罠に動物が捕獲されたか否かを調べる他に、罠に仕掛けた餌があるか否かを調べ、餌を補充する必要がある。例えば、餌は捕獲対象の動物以外の小動物や鳥類等によって食べられてしまう場合があり、餌がない場合に捕獲対象の動物を罠におびき寄せることができない。そのため、ユーザは、動物の捕獲確認以外にも餌の有無を確認するために罠を見回る必要が生じ、その分見回りの負荷が大きくなっていた。
【0006】
上述の課題を鑑み、本発明の目的は、動物を捕獲するための罠の見回りの負荷を軽減させることが可能な餌監視装置および餌監視方法を提供することにある。
【課題を解決するための手段】
【0007】
上述の課題を解決するために、本発明の一態様に係る餌監視装置は、動物を捕獲するための罠に設けられた照度センサと、前記照度センサの検出結果に基づく情報を外部に出力する出力部と、を備え、前記照度センサは、前記罠に仕掛けられた粉体状またはペースト状の餌の状態によって異なる検出結果が得られる位置に設置される。
【0008】
本発明の一態様に係る餌監視方法は、動物を捕獲するための罠に設けられた照度センサの上に粉体状またはペースト状の餌が配置された状態で前記照度センサにより照度を検出し、検出した前記照度センサの検出結果に基づいて、前記餌の有無を判定し、判定結果に基づく情報を外部に出力する。
【発明の効果】
【0009】
本発明によれば、動物を捕獲するための罠の見回りの負荷を軽減させることができる。
【図面の簡単な説明】
【0010】
実施形態の罠管理システム1の概要を示す図である。
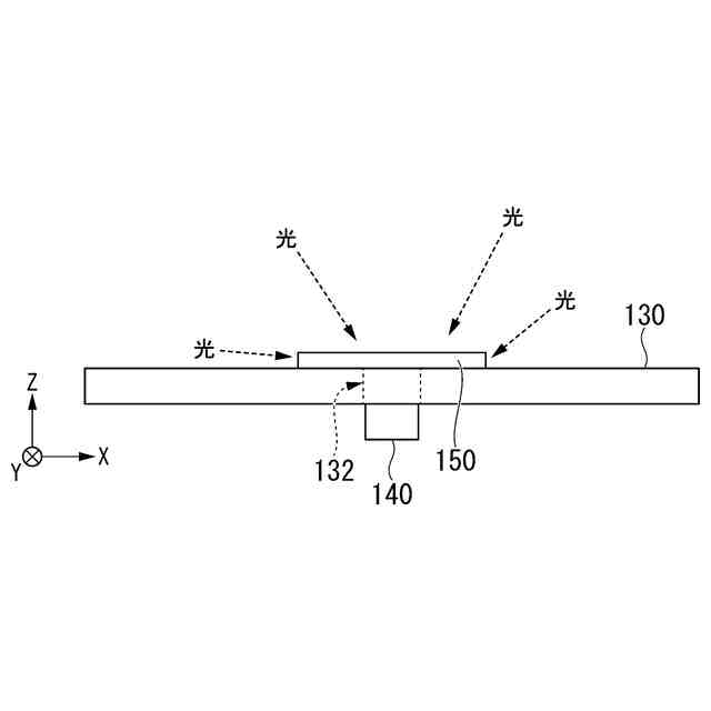
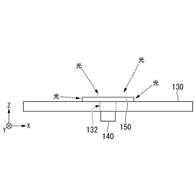
餌センサ140の設置位置を説明するための図(その1)である。
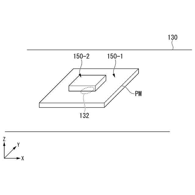
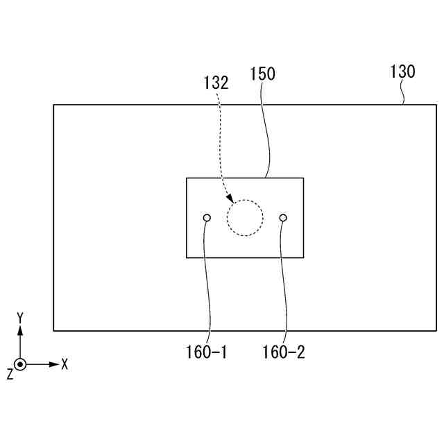
餌センサ140の設置位置を説明するための図(その2)である。
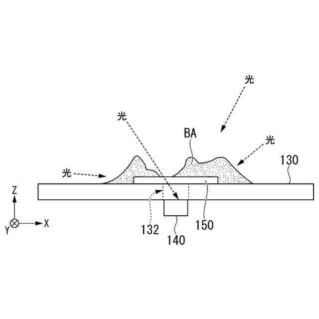
餌センサ140の上方に餌BAが設置された状態を説明するための図(その1)である。
餌センサ140の上方に餌BAが設置された状態を説明するための図(その2)である。
光学部材150の一部が露出した状態を説明するための図である。
光学部材150の設置の変形例を示す図である。
光学部材150が複数段重ねて設けられた場合における餌センサ140の検出状態について説明するための図である。
実施形態の制御装置200の機能構成の一例を示す図である。
実施形態のサーバ装置500の機能構成の一例を示す図である。
実施形態の制御装置200における処理の流れの一例を示すフローチャートである。
【発明を実施するための形態】
(【0011】以降は省略されています)
この特許をJ-PlatPat(特許庁公式サイト)で参照する
関連特許
個人
蠅捕獲器
1か月前
個人
釣り用錘
16日前
個人
草刈り鋏
1か月前
個人
噴霧器ノズル
14日前
個人
蜜蜂保護装置
27日前
個人
種子の製造方法
1か月前
個人
草刈機用回転刃
1か月前
個人
昆虫捕集器
1か月前
井関農機株式会社
作業車両
1か月前
個人
可動リップ付きルアー
19日前
井関農機株式会社
作業車両
1か月前
株式会社剛樹
釣り竿
12日前
株式会社ナベル
表示システム
22日前
個人
餌付き針の餌取り防止具
22日前
個人
四足動物用装着具
1か月前
個人
ブルーカーボンシステム
19日前
井関農機株式会社
圃場作業機
19日前
有限会社信英精密
括り罠
6日前
大栄工業株式会社
捕獲器
1か月前
みのる産業株式会社
除草機
22日前
みのる産業株式会社
除草機
22日前
松山株式会社
収穫機
19日前
井関農機株式会社
作業車両
1か月前
株式会社オーツボ
海苔箱船
1か月前
松山株式会社
収穫機
19日前
井関農機株式会社
作業車両
1か月前
井関農機株式会社
苗移植機
6日前
株式会社アテックス
芝草の刈取装置
5日前
個人
自閉式「洗濯バサミ型」虫捕獲器
6日前
松山株式会社
草刈作業機
27日前
株式会社シマノ
釣糸ガイド
19日前
株式会社シマノ
釣糸ガイド
19日前
みのる産業株式会社
茎葉処理装置
1か月前
グローブライド株式会社
釣竿
1か月前
株式会社デンソー
農業用装置
1か月前
グローブライド株式会社
釣竿
1か月前
続きを見る
他の特許を見る