TOP
|
特許
|
意匠
|
商標
特許ウォッチ
Twitter
他の特許を見る
10個以上の画像は省略されています。
公開番号
2025170437
公報種別
公開特許公報(A)
公開日
2025-11-18
出願番号
2025148565,2023083331
出願日
2025-09-08,2021-04-09
発明の名称
エンコーダ、サーボモータ、サーボシステム
出願人
株式会社安川電機
代理人
弁理士法人第一テクニカル国際特許事務所
主分類
G01D
5/244 20060101AFI20251111BHJP(測定;試験)
要約
【課題】耐久性を向上できるエンコーダ、サーボモータ、及びサーボシステムを提供する。
【解決手段】エンコーダ7は、回転するディスク19の1回転以内の角度位置を表す角度位置情報を検出する光学モジュール17と、ディスク19の回転数を表す多回転情報を検出する磁気検出部21と、エンコーダ7に外部電力が供給されない場合に、磁気検出部21に電力を供給する、固体電解質を有する全固体電池29と、光学モジュール17及び磁気検出部21が実装された基板13に対して、全固体電池29に一体的に設けられた接続端子34L,34Rを、該接続端子に接触したはんだにより直接接続する接続部36L,36Rと、を有し、全固体電池29と、全固体電池29が電力を供給する磁気検出部21とは、同一の基板13上に実装されており、全固体電池29は、接続部36L,36R及び基板13の配線を介して、磁気検出部21に電力を供給する。
【選択図】図2
特許請求の範囲
【請求項1】
回転するディスクの1回転以内の角度位置を表す角度位置情報を検出する角度位置情報検出部と、
前記ディスクの回転数を表す多回転情報を検出する多回転情報検出部と、
エンコーダに外部電力が供給されない場合に、前記多回転情報検出部に電力を供給する、固体電解質を有する全固体電池と、
前記角度位置情報検出部及び前記多回転情報検出部が実装された基板に対して、前記全固体電池に一体的に設けられた接続端子を、該接続端子に接触したはんだにより直接接続する接続部と、
を有し、
前記全固体電池と、前記全固体電池が電力を供給する前記多回転情報検出部とは、同一の前記基板上に実装されており、
前記全固体電池は、前記接続部及び前記基板の配線を介して、前記多回転情報検出部に電力を供給する、
エンコーダ。
続きを表示(約 1,500 文字)
【請求項2】
前記多回転情報検出部に対して、前記全固体電池からの電力の供給又は停止の切り替えを制御し、前記多回転情報検出部により検出された前記多回転情報に基づいて所定の演算処理を実行する処理モジュールをさらに有し、
前記処理モジュールは、
前記全固体電池と、前記全固体電池が電力を供給する前記多回転情報検出部と、が実装された前記基板上に実装される、
請求項1に記載のエンコーダ。
【請求項3】
前記全固体電池は、
充電を行うことにより繰り返し使用することが可能な二次電池であり、
前記処理モジュールは、
前記外部電力が供給されない状態から供給される状態に復帰した場合に、前記外部電力の供給停止時に前記全固体電池の電圧に基づいて前記全固体電池に関する異常検出処理を実行して記録した情報を参照して、前記全固体電池に関する異常を検出する処理を実行する、
請求項2に記載のエンコーダ。
【請求項4】
前記多回転情報検出部により磁気を検出される第1マグネットと、
前記ディスクの回転に基づいて、前記全固体電池の電力を前記多回転情報検出部に供給するトリガとなる電気信号を発生する電気信号発生部と、
前記電気信号発生部により磁気を検出される、前記第1マグネットとは異なる第2マグネットと、
をさらに有し、
前記第1マグネットは、
前記ディスクの回転軸心上に位置し、
前記第2マグネットは、
前記ディスクの回転軸心を中心とする径方向において前記第1マグネットよりも外周側に位置し、前記回転軸心周りの周方向に沿って前記磁気を発生させ、
前記電気信号発生部は、
前記第2マグネットが発生させる前記磁気を検出する、
請求項1に記載のエンコーダ。
【請求項5】
前記ディスクの回転に基づいて、前記全固体電池の電力を前記多回転情報検出部に供給するトリガとなる電気信号を発生する電気信号発生部と、
前記電気信号発生部により磁気を検出されるマグネットと、を有し、
前記ディスクは、
前記角度位置情報検出部により検出される複数のスリットを備えたスリット列を有しており、
前記スリット列は、
前記ディスクの回転軸心の方向において前記マグネットと前記電気信号発生部との間に配置され、
前記電気信号発生部と、前記スリット列と、前記マグネットの回転軌跡とは、前記回転軸心の方向から見て重複する前記ディスクの径方向の位置に配置されている、
請求項1に記載のエンコーダ。
【請求項6】
前記全固体電池と、前記処理モジュールと、前記多回転情報検出部は、
前記ディスクの回転軸心の方向から見て、前記全固体電池と前記処理モジュールとの間の距離が、前記処理モジュールと前記多回転情報検出部との間の距離よりも大きくなるように、前記基板に配置されている、
請求項2に記載のエンコーダ。
【請求項7】
回転子が固定子に対して回転するモータと、
前記回転子の位置、速度、加速度の少なくとも1つを検出する、請求項1~6のいずれか1項に記載のエンコーダと、
を有する、サーボモータ。
【請求項8】
回転子が固定子に対して回転するモータと、
前記回転子の位置、速度、加速度の少なくとも1つを検出する、請求項1~6のいずれか1項に記載のエンコーダと、
前記エンコーダの検出結果に基づいて前記モータを制御する制御装置と、
を有する、サーボシステム。
発明の詳細な説明
【技術分野】
【0001】
開示の実施形態は、エンコーダ、サーボモータ、及びサーボシステムに関する。
続きを表示(約 1,900 文字)
【背景技術】
【0002】
特許文献1には、移動部の位置情報を検出する検出部を含む位置検出系と、移動部の移動によって電気信号が発生する電気信号発生部と、電気信号発生部で発生する電気信号に応じて、位置検出系で消費される電力の少なくとも一部を供給するバッテリーと、を備えるエンコーダ装置が記載されている。バッテリーは電池ケースに収容され、電極及び配線を介して回路基板に保持される。
【先行技術文献】
【特許文献】
【0003】
国際公開第2017/126338号
【発明の概要】
【発明が解決しようとする課題】
【0004】
上記従来技術では、エンコーダ装置に衝撃や振動が生じた場合に不具合が生じる可能性があり、より高い耐久性が求められていた。
【0005】
本発明はこのような問題点に鑑みてなされたものであり、耐久性を向上できるエンコーダ、サーボモータ、及びサーボシステムを提供することを目的とする。
【課題を解決するための手段】
【0006】
上記課題を解決するため、本発明の一の観点によれば、回転するディスクの1回転以内の角度位置を表す角度位置情報を検出する角度位置情報検出部と、前記ディスクの回転数を表す多回転情報を検出する多回転情報検出部と、エンコーダに外部電力が供給されない場合に、前記多回転情報検出部に電力を供給する、固体電解質を有する全固体電池と、前記角度位置情報検出部及び前記多回転情報検出部が実装された基板に対して、前記全固体電池に一体的に設けられた接続端子を、該接続端子に接触したはんだにより直接接続する接続部と、を有し、前記全固体電池と、前記全固体電池が電力を供給する前記多回転情報検出部とは、同一の前記基板上に実装されており、前記全固体電池は、前記接続部及び前記基板の配線を介して、前記多回転情報検出部に電力を供給する、エンコーダが適用される。
【0007】
また、本発明の別の観点によれば、回転子が固定子に対して回転するモータと、前記回転子の位置、速度、加速度の少なくとも1つを検出する、上記エンコーダと、を有する、サーボモータが適用される。
【0008】
また、本発明の別の観点によれば、回転子が固定子に対して回転するモータと、前記回転子の位置、速度、加速度の少なくとも1つを検出する、上記エンコーダと、前記エンコーダの検出結果に基づいて前記モータを制御する制御装置と、を有する、サーボシステムが適用される。
【発明の効果】
【0009】
本発明のエンコーダ等によれば、耐久性を向上できる。
【図面の簡単な説明】
【0010】
サーボシステムの全体構成の一例を表す説明図である。
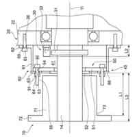
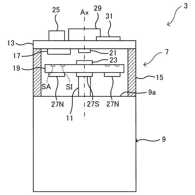
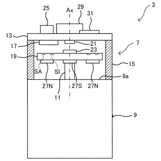
エンコーダの装置構成の一例を一部を断面にして表す側面図である。
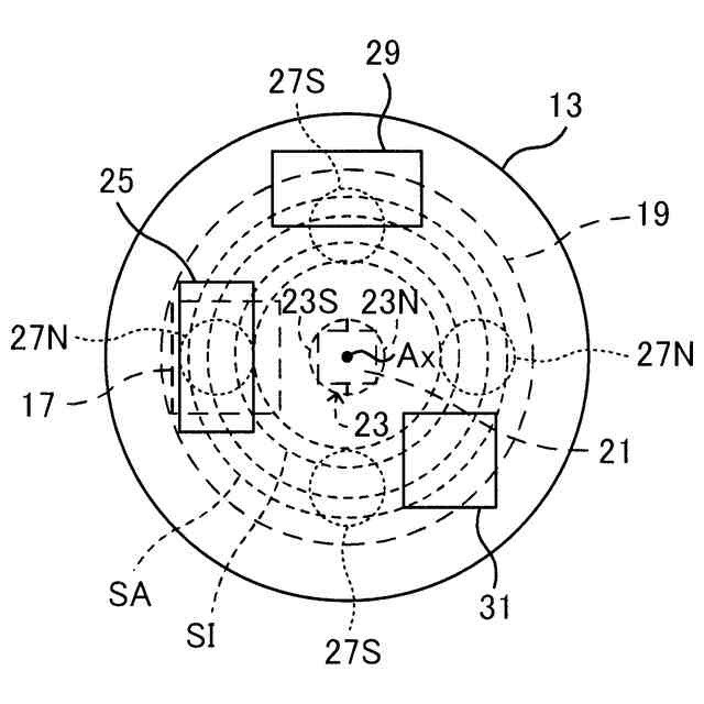
エンコーダの装置構成の一例を基板側から見た上面図である。
全固体電池と基板とを接続する接続部の構成の一例を表す断面図である。
処理モジュールの機能構成の一例を表すブロック図である。
基板の回路構成の一例を表すブロック図である。
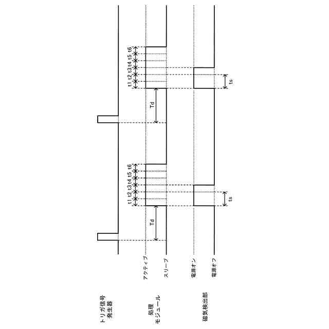
トリガ信号と、処理モジュールが実行する各処理と、磁気検出部の電源オンのタイミングの一例を表すタイミングチャートである。
エンコーダに外部電力が供給される場合に処理モジュールにより実行される処理手順の一例を表すフローチャートである。
角度位置信号、A相多回転信号、及びB相多回転信号の波形の一例を表す説明図である。
エンコーダに外部電力が供給されない場合に処理モジュールにより実行される処理手順の一例を表すフローチャートである。
外部電力の復帰時に全固体電池の異常検出を行う変形例における、処理モジュールにより実行される処理手順の一例を表すフローチャートである。
磁気検出部への電力供給をスイッチで切り替える変形例における、基板の回路構成の一例を表すブロック図である。
外部電力の供給停止時に処理モジュールをオフにする変形例における、基板の回路構成の一例を表すブロック図である。
記録部を処理モジュールの外部に設けた変形例における、処理モジュールの機能構成の一例を表すブロック図である。
処理モジュールのハードウェア構成例を表すブロック図である。
【発明を実施するための形態】
(【0011】以降は省略されています)
この特許をJ-PlatPat(特許庁公式サイト)で参照する
関連特許
株式会社安川電機
ロボット
19日前
株式会社安川電機
モータ及び駆動システム
1か月前
株式会社安川電機
エンコーダ及びエンコーダシステム
1か月前
株式会社安川電機
システム、ユニット、及び製造方法
1か月前
株式会社安川電機
ロボット及び基板搬送装置
2か月前
株式会社安川電機
エンコーダ、サーボモータ、サーボシステム
今日
個人
メジャー文具
1か月前
個人
採尿及び採便具
19日前
日本精機株式会社
検出装置
13日前
個人
アクセサリー型テスター
1か月前
個人
計量機能付き容器
8日前
個人
高精度同時多点測定装置
1か月前
ユニパルス株式会社
ロードセル
1か月前
甲神電機株式会社
電流検出装置
13日前
株式会社ミツトヨ
測定器
25日前
アズビル株式会社
電磁流量計
28日前
大成建設株式会社
風洞実験装置
8日前
株式会社チノー
放射光測温装置
1か月前
ダイキン工業株式会社
監視装置
1か月前
株式会社ヨコオ
ソケット
1か月前
トヨタ自動車株式会社
監視装置
1か月前
株式会社ヨコオ
ソケット
1か月前
日本特殊陶業株式会社
ガスセンサ
6日前
双庸電子株式会社
誤配線検査装置
14日前
個人
計量具及び計量機能付き容器
8日前
TDK株式会社
ガスセンサ
1か月前
愛知時計電機株式会社
ガスメータ
25日前
大和製衡株式会社
組合せ計量装置
22日前
日本信号株式会社
距離画像センサ
11日前
ローム株式会社
半導体装置
1か月前
ローム株式会社
半導体装置
1か月前
愛知電機株式会社
軸部材の外観検査装置
22日前
大和製衡株式会社
組合せ計量装置
22日前
長崎県
形状計測方法
1か月前
TDK株式会社
磁気センサ
1か月前
個人
非接触による電磁パルスの測定方法
11日前
続きを見る
他の特許を見る