TOP
|
特許
|
意匠
|
商標
特許ウォッチ
Twitter
他の特許を見る
10個以上の画像は省略されています。
公開番号
2025129313
公報種別
公開特許公報(A)
公開日
2025-09-04
出願番号
2025112595,2023111681
出願日
2025-07-02,2023-07-06
発明の名称
ロボット及び基板搬送装置
出願人
株式会社安川電機
代理人
個人
,
個人
,
個人
主分類
H01L
21/677 20060101AFI20250828BHJP(基本的電気素子)
要約
【課題】チャンバ内へのロボット組み込み用の開口の縮小と、チャンバ内へのロボットの組み込み作業性との両立に有効なロボット及び基板搬送装置を提供する
【解決手段】ロボット2は、基板Wを支持するハンド20と、ベース10と、ハンド20をベース10に連結するアーム4と、アーム4に沿って並び、それぞれが鉛直な軸線まわりに動作して、ベース10に対するハンド20の位置・姿勢を変更する複数の関節J10と、を有する多関節アーム3と、ベース10とアーム4及びハンド20との間を仕切るように広がって、多関節アーム3の少なくとも一部が収容されるチャンバ90の開口OP1を塞ぐフランジ30と、を備え、フランジ30は長手方向を有し、複数の関節J10のうち、ベース10から最も近位にある関節J10の軸線は、フランジ30の長手方向において、フランジ30の一端31とフランジ30の中心32との間において一端31寄りに位置している。
【選択図】図6
特許請求の範囲
【請求項1】
基板を支持するハンドと、
ベースと、
前記ハンドを前記ベースに連結するアームと、
前記アームに沿って並び、それぞれが鉛直な軸線まわりに動作して、前記ベースに対する前記ハンドの位置・姿勢を変更する複数の関節と、
を有する多関節アームと、
前記ベースと前記アーム及び前記ハンドとの間を仕切るように広がって、前記多関節アームの少なくとも一部が収容されるチャンバの開口を塞ぐフランジと、
を備え、
前記フランジは長手方向を有し、
前記複数の関節のうち、前記ベースから最も近位にある関節の前記軸線は、前記フランジの長手方向において、前記フランジの一端と前記フランジの中心との間において一端寄りに位置している、
ロボット。
続きを表示(約 1,400 文字)
【請求項2】
前記複数の関節は、
鉛直な第1軸線まわりに回転するように前記ベースに第1リンクを接続する第1関節と、
鉛直な第2軸線まわりに回転するように前記第1リンクの端部に第2リンクを接続する第2関節と、
鉛直な第3軸線まわりに回転するように前記第2リンクの端部に前記ハンドを接続する第3関節と、
を含み、
前記第1軸線は、前記フランジの長手方向において、前記フランジの一端と前記フランジの中心との間において一端寄りに位置している、
請求項1記載のロボット。
【請求項3】
前記フランジの前記長手方向における長さは、前記第1リンクの長さよりも大きい、
請求項2記載のロボット。
【請求項4】
前記フランジの前記長手方向に垂直な方向における幅は、前記第1リンクの長さよりも小さい、
請求項3記載のロボット。
【請求項5】
前記ベースに固定される本体と、
前記本体から突出し、前記フランジを貫通して前記第1リンクに固定され、前記軸線まわりに回転する出力軸と、
を有するベースアクチュエータと、
前記フランジと前記出力軸との間を密封するシール部材と、
を更に備える、
請求項2~4のいずれか一項記載のロボット。
【請求項6】
前記ベースは、
前記本体が固定されるモータホルダと、
前記モータホルダを昇降させる昇降アクチュエータと、
を有し、
前記シール部材は、
前記フランジに対する前記出力軸の回転を許容しつつ、前記出力軸に密着するメカニカルシールと、
前記メカニカルシールと前記フランジとの間を密封し、前記モータホルダの昇降に応じて伸縮する伸縮シールと、
を含む、
請求項5記載のロボット。
【請求項7】
前記フランジは、
チャンバ内に面する第1フランジと、
前記第1フランジに重なってチャンバ外に面する第2フランジと、
前記第1フランジと前記第2フランジとの間に挿入され、前記第1フランジに対する前記第2フランジの傾きを調節する調節プレートと、
前記第2フランジを前記第1フランジに締結する締結部材と、
を含み、
前記昇降アクチュエータは前記第2フランジに固定され、
前記出力軸は、前記第2フランジと前記第1フランジとを貫通して前記第1リンクに固定される、
請求項6記載のロボット。
【請求項8】
前記伸縮シールは、前記メカニカルシールと前記第1フランジとの間を密封する、
請求項7記載のロボット。
【請求項9】
前記第1フランジ及び前記第2フランジのそれぞれが、前記ベースと前記アーム及び前記ハンドとの間を仕切り、
前記第1フランジは、全周に亘って前記第2フランジの周縁から張り出している、
請求項7記載のロボット。
【請求項10】
前記フランジから前記ベースよりも突出し、前記ベースを包囲する複数の脚部を更に備える、
請求項1~4のいずれか一項記載のロボット。
(【請求項11】以降は省略されています)
発明の詳細な説明
【技術分野】
【0001】
本開示は、ロボット及び基板搬送装置に関する。
続きを表示(約 1,700 文字)
【背景技術】
【0002】
特許文献1には、搬送チャンバの内部空間である搬送室の底部に設けられた開口部に搬送ロボットを取り付けるチャンバ構造が開示されている。チャンバ構造は、開口部の下側に設けられるロボットベース部材と、搬送ロボットとを備える。搬送ロボットは、ベースユニットと、ベースユニットの上部に設けられるアームユニットとを有する。ベースユニットの上側には、ロボットベース部材の開口孔と同形状のロボットフランジ部材が設けられる。アームユニットは、開口孔に挿通可能であり、ロボットフランジ部材は、開口孔の周縁部に対して着脱自在に接続される。
【先行技術文献】
【特許文献】
【0003】
国際公開第2019/189883号
【発明の概要】
【発明が解決しようとする課題】
【0004】
本開示は、チャンバ内へのロボット組み込み用の開口の縮小と、チャンバ内へのロボットの組み込み作業性との両立に有効なロボット及び基板搬送装置を提供する。
【課題を解決するための手段】
【0005】
本開示の一側面に係るロボットは、基板を支持するハンドと、ベースと、ハンドをベースに連結するアームと、アームに沿って並び、それぞれが鉛直な軸線まわりに動作して、ベースに対するハンドの位置・姿勢を変更する複数の関節と、を有する多関節アームと、ベースとアーム及びハンドとの間を仕切るように広がって、多関節アームの少なくとも一部が収容されるチャンバの開口を塞ぐフランジと、を備え、フランジは長手方向を有し、複数の関節のうち、ベースから最も近位にある関節の軸線は、フランジの長手方向において、フランジの一端とフランジの中心との間において一端寄りに位置している。
【発明の効果】
【0006】
本開示によれば、チャンバ内へのロボット組み込み用の開口の縮小と、チャンバ内へのロボットの組み込み作業性との両立に有効なロボット及び基板搬送装置を提供することができる。
【図面の簡単な説明】
【0007】
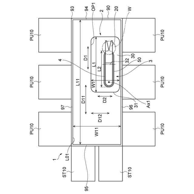
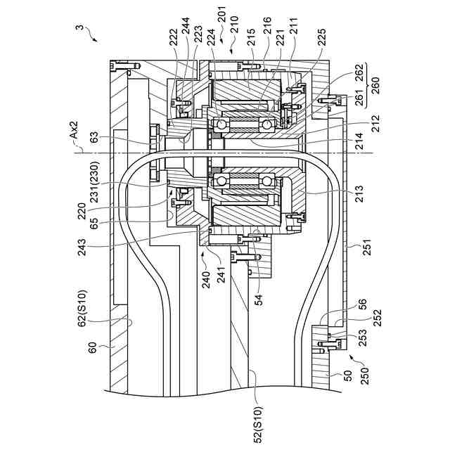
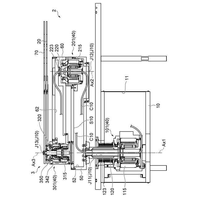
基板搬送装置の内部を例示する平面図である。
図1中のII-II線に沿った断面図である。
図2中のロボットの底面図である。
図1中のIV-IV線に沿った断面図である。
図4中の第1アームモータの拡大図である。
図4中の第2アームモータの拡大図である。
図4中のハンドモータの拡大図である。
ハンドモータの変形例を示す図である。
第2アームモータの変形例を示す図である。
ハンドモータの他の変形例を示す図である。
ハンドモータの更に他の変形例を示す図である。
チューブ及び空冷流路を例示する図である。
ケーブルの配線を例示する図である。
【発明を実施するための形態】
【0008】
以下、実施形態について、図面を参照しつつ詳細に説明する。説明において、同一要素又は同一機能を有する要素には同一の符号を付し、重複する説明を省略する。
【0009】
〔基板搬送装置〕
図1及び図2に示す基板搬送装置1は、基板Wが保管される1以上のステーションST10と、複数の処理モジュールPU10との間で基板Wを搬送する装置である。基板Wの例としては、半導体基板、ガラス基板、マスク基板、又はFPD(FlatPanelDisplay)基板等が挙げられる。基板搬送装置1は、チャンバ90と、ロボット2とを備える。チャンバ90は、長手方向D11と、長手方向D11に垂直な短手方向D12とを有する。長手方向D11と短手方向D12とが水平面に沿うように配置される。
【0010】
チャンバ90は、上下に並ぶ天板91と底板92とを有し、底板92と底板92との間の空間を包囲する周壁93を更に有する。以下、周壁93に包囲される空間を搬送空間S01という。
(【0011】以降は省略されています)
この特許をJ-PlatPat(特許庁公式サイト)で参照する
関連特許
株式会社安川電機
ロボット
20日前
株式会社安川電機
モータ及び駆動システム
1か月前
株式会社安川電機
エンコーダ及びエンコーダシステム
1か月前
株式会社安川電機
システム、ユニット、及び製造方法
1か月前
株式会社安川電機
エンコーダ、サーボモータ、サーボシステム
1日前
東ソー株式会社
絶縁電線
28日前
APB株式会社
蓄電セル
26日前
個人
フレキシブル電気化学素子
1か月前
マクセル株式会社
電源装置
20日前
株式会社ユーシン
操作装置
1か月前
株式会社東芝
端子台
20日前
日新イオン機器株式会社
イオン源
1か月前
ローム株式会社
半導体装置
27日前
株式会社GSユアサ
蓄電設備
1か月前
株式会社GSユアサ
蓄電装置
21日前
株式会社ホロン
冷陰極電子源
1か月前
三菱電機株式会社
回路遮断器
7日前
株式会社GSユアサ
蓄電設備
1か月前
太陽誘電株式会社
コイル部品
1か月前
株式会社GSユアサ
蓄電装置
13日前
株式会社GSユアサ
蓄電装置
21日前
オムロン株式会社
電磁継電器
1か月前
日本特殊陶業株式会社
保持装置
12日前
日本特殊陶業株式会社
保持装置
29日前
日新イオン機器株式会社
基板処理装置
23日前
トヨタ自動車株式会社
蓄電装置
21日前
北道電設株式会社
配電具カバー
26日前
日東電工株式会社
積層体
1か月前
ノリタケ株式会社
熱伝導シート
1か月前
トヨタ自動車株式会社
バッテリ
26日前
サクサ株式会社
電池の固定構造
1か月前
トヨタ自動車株式会社
冷却構造
28日前
トヨタ自動車株式会社
蓄電装置
1か月前
甲神電機株式会社
変流器及び零相変流器
14日前
トヨタ自動車株式会社
密閉型電池
22日前
日亜化学工業株式会社
半導体レーザ素子
23日前
続きを見る
他の特許を見る