TOP
|
特許
|
意匠
|
商標
特許ウォッチ
Twitter
他の特許を見る
公開番号
2025170427
公報種別
公開特許公報(A)
公開日
2025-11-18
出願番号
2025146812,2023068673
出願日
2025-09-04,2023-04-19
発明の名称
負極活物質層形成用スラリー、負極活物質層、及び固体電池
出願人
トヨタ自動車株式会社
代理人
個人
,
個人
,
個人
,
個人
,
個人
,
個人
主分類
H01M
4/134 20100101AFI20251111BHJP(基本的電気素子)
要約
【課題】カーボンナノチューブによる良好な導電性を提供しつつマイクロクラック生成を抑制する、硫化物固体電解質粒子を用いる負極活物質層及び固体電池を提供する。
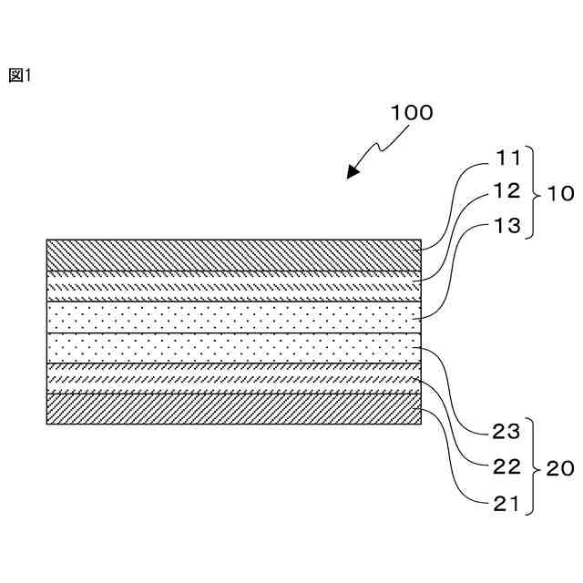
【解決手段】負極活物質層22は、シリコン活物質粒子、硫化物固体電解質粒子、及び単層カーボンナノチューブを含み、かつ前記単層カーボンナノチューブが0.3質量%未満である。固体電池100は、負極活物質層22、固体電解質層13、23及び正極活物質層12をこの順で有する。
【選択図】図1
特許請求の範囲
【請求項1】
分散媒としてのケトン、並びに
前記ケトン中に分散しているシリコン活物質粒子、硫化物固体電解質粒子、及び単層カーボンナノチューブ
を含み、かつ
前記ケトンに対する前記単層カーボンナノチューブの割合が0.15質量%以下である、
負極活物質層形成用スラリー。
続きを表示(約 680 文字)
【請求項2】
固形分の合計に対する前記単層カーボンナノチューブの割合が0.3質量%未満である、請求項1に記載の負極活物質層形成用スラリー。
【請求項3】
前記ケトンが、下記の式で表される、請求項1又は2に記載の負極活物質層形成用スラリー:
TIFF
2025170427000006.tif
31
157
式中、R
1
及びR
2
は、それぞれ独立に、炭素数1~5のアルキル基、ベンジル基、及びフェニル基からなる群より選択することができる。
【請求項4】
シリコン活物質粒子、硫化物固体電解質粒子、及び単層カーボンナノチューブを含み、かつ
前記単層カーボンナノチューブが0.3質量%未満である、
負極活物質層。
【請求項5】
前記シリコン活物質粒子が、ポーラスシリコン活物質粒子、クラスレートシリコン活物質粒子、又はポーラスクラスレートシリコン活物質粒子である、請求項4に記載の負極活物質層。
【請求項6】
請求項4又は5に記載の負極活物質層、固体電解質層、及び正極活物質層をこの順で有する、固体電池。
【請求項7】
初期充放電後に、前記負極活物質層の断面において、厚さ方向50μm×幅方向50μmの領域における長さ10μm以上の面方向クラックが、平均で1本未満である、請求項6に記載の固体電池。
【請求項8】
固体リチウムイオン電池である、請求項6又は7に記載の固体電池。
発明の詳細な説明
【技術分野】
【0001】
本開示は、負極活物質層形成用スラリー、負極活物質層、及び固体電池に関する。
続きを表示(約 2,600 文字)
【背景技術】
【0002】
固体電池は、正極活物質層及び負極活物質層の間に固体電解質層を有する電池であり、安全装置の簡素化が図りやすいという利点を有する。また、固体電池の中でも固体リチウムイオン電池は、リチウムイオンの移動を伴う電池反応を利用することによって高いエネルギー密度を提供することができるので、注目されている。
【0003】
このような全固体電池に関して、特許文献1は、正極活物質層と、負極活物質層と、これらの正極活物質層と負極活物質層との間に配置された固体電解質層とを有し、負極活物質層はSi系活物質を含み、正極活物質層容量に対する負極活物質層容量の比xが2≦x≦2.7を満たし、負極活物質層の充填率yが21.43x+14.14≦y≦4.29x+60.43を満たす、全固体電池を開示している。この特許文献1では、正極活物質層及び負極活物質層における導電助剤として、アセチレンブラック、ケッチェンブラック、気相法炭素繊維(VGCF)等の炭素材料や、ニッケル、アルミニウム、ステンレス鋼等の金属材料を挙げている。また、この特許文献1では、このような導電助剤の含有量が、正極においては例えば0.1重量%~10重量%の範囲であり、負極においては例えば0.1重量%~20重量%の範囲であるとしている。
【先行技術文献】
【特許文献】
【0004】
特開2022-162396号公報
【発明の概要】
【発明が解決しようとする課題】
【0005】
固体電池の正極活物質層及び負極活物質層における導電助剤としては、上記のように、アセチレンブラック、ケッチェンブラック、気相法炭素繊維(VGCF)等の炭素材料や、ニッケル、アルミニウム、ステンレス鋼等の金属材料が知られている。これらの中でも、気相法炭素繊維(VGCF)に代表されるカーボンナノチューブは、好ましい導電性を有することから、固体電池の正極活物質層及び負極活物質層における導電助剤の有力な候補として検討されている。
【0006】
カーボンナノチューブとしては、単層カーボンナノチューブ(SWCNT:Single Wall Carbon Nano Tube)と、多層カーボンナノチューブ(MWCNT:Multi Wall Carbon Nano Tube)とが知られている。しかしながら、固体電池の正極活物質層及び負極活物質層における導電助剤、特に硫化物固体電解質粒子を用いる固体電池の正極活物質層及び負極活物質層における導電助剤としては、多層カーボンナノチューブのみが検討されており、単層カーボンナノチューブは検討されてこなかった。これは、硫化物固体電解質粒子を分散させて活物質層用スラリーを形成するための分散媒としては、硫化物固体電解質粒子と反応せずに硫化物固体電解質粒子を分散させることができる酪酸ブチルが一般に用いられており、単層カーボンナノチューブはこの酪酸ブチルに安定して分散させることが困難であることによる。
【0007】
固体電池の負極活物質層の製造においては、粒子間の接触を改良するために、負極活物質層を圧縮する必要がある。また、固体電池の負極活物質層において、シリコン系活物質を用いる場合、電池の充電及び放電に伴って、シリコン系活物質が膨張及び収縮する。カーボンナノチューブを負極活物質層において用いる場合、カーボンナノチューブは、このような製造時の負極活物質層の圧縮及びその後の戻り、並びにシリコン系活物質の膨張及び収縮に伴って、変形し、そして弾性的に元の形状に戻ること(スプリングバックすること)によって、負極活物質層におけるマイクロクラック生成を促進することがあった。
【0008】
本開示は、硫化物固体電解質を有する活物質層において、カーボンナノチューブによる良好な導電性を提供しつつ、マイクロクラック生成を抑制することを目的とする。
【課題を解決するための手段】
【0009】
本発明者らは、鋭意検討したところ、以下により上記課題を解決できることを見出して、本発明を完成させた。
【0010】
〈態様1〉
分散媒としてのケトン、並びに
前記ケトン中に分散しているシリコン活物質粒子、硫化物固体電解質粒子、及び単層カーボンナノチューブ
を含み、かつ
前記ケトンに対する前記単層カーボンナノチューブの割合が0.15質量%以下である、
負極活物質層形成用スラリー。
〈態様2〉
固形分の合計に対する前記単層カーボンナノチューブの割合が0.3質量%未満である、態様1に記載の負極活物質層形成用スラリー。
〈態様3〉
前記ケトンが、下記の式で表される、態様1又は2に記載の負極活物質層形成用スラリー:
TIFF
2025170427000002.tif
31
157
式中、R
1
及びR
2
は、それぞれ独立に、炭素数1~5のアルキル基、ベンジル基、及びフェニル基からなる群より選択することができる。
〈態様4〉
シリコン活物質粒子、硫化物固体電解質粒子、及び単層カーボンナノチューブを含み、かつ
前記単層カーボンナノチューブが0.3質量%未満である、
負極活物質層。
〈態様5〉
前記シリコン活物質粒子が、ポーラスシリコン活物質粒子、クラスレートシリコン活物質粒子、又はポーラスクラスレートシリコン活物質粒子である、態様4に記載の負極活物質層。
〈態様6〉
態様4又は5に記載の負極活物質層、固体電解質層、及び正極活物質層をこの順で有する、固体電池。
〈態様7〉
初期充放電後に、前記負極活物質層の断面において、厚さ方向50μm×幅方向50μmの領域における長さ10μm以上の面方向クラックが、平均で1本未満である、態様6又は7に記載の固体電池。
〈態様8〉
固体リチウムイオン電池である、態様6に記載の固体電池。
【発明の効果】
(【0011】以降は省略されています)
この特許をJ-PlatPat(特許庁公式サイト)で参照する
関連特許
トヨタ自動車株式会社
車両
14日前
トヨタ自動車株式会社
方法
29日前
トヨタ自動車株式会社
電池
15日前
トヨタ自動車株式会社
車両
27日前
トヨタ自動車株式会社
車体
14日前
トヨタ自動車株式会社
方法
14日前
トヨタ自動車株式会社
車両
15日前
トヨタ自動車株式会社
車両
1か月前
トヨタ自動車株式会社
車両
1か月前
トヨタ自動車株式会社
電池
27日前
トヨタ自動車株式会社
方法
28日前
トヨタ自動車株式会社
方法
27日前
トヨタ自動車株式会社
方法
28日前
トヨタ自動車株式会社
電池
今日
トヨタ自動車株式会社
車両
28日前
トヨタ自動車株式会社
車両
14日前
トヨタ自動車株式会社
車両
29日前
トヨタ自動車株式会社
車両
23日前
トヨタ自動車株式会社
電池
1か月前
トヨタ自動車株式会社
車両
21日前
トヨタ自動車株式会社
車両
21日前
トヨタ自動車株式会社
配管
1日前
トヨタ自動車株式会社
車両
1日前
トヨタ自動車株式会社
車両
今日
トヨタ自動車株式会社
車体
1か月前
トヨタ自動車株式会社
方法
1か月前
トヨタ自動車株式会社
方法
1か月前
トヨタ自動車株式会社
電池
6日前
トヨタ自動車株式会社
治具
22日前
トヨタ自動車株式会社
モータ
29日前
トヨタ自動車株式会社
モータ
13日前
トヨタ自動車株式会社
正極層
27日前
トヨタ自動車株式会社
電動車
1日前
トヨタ自動車株式会社
モータ
1か月前
トヨタ自動車株式会社
蓄電池
14日前
トヨタ自動車株式会社
飛行体
1か月前
続きを見る
他の特許を見る