TOP
|
特許
|
意匠
|
商標
特許ウォッチ
Twitter
他の特許を見る
10個以上の画像は省略されています。
公開番号
2025170408
公報種別
公開特許公報(A)
公開日
2025-11-18
出願番号
2025145672,2021086522
出願日
2025-09-02,2021-05-21
発明の名称
液検知センサ
出願人
藤倉コンポジット株式会社
代理人
アインゼル・フェリックス=ラインハルト
,
個人
,
個人
主分類
H01M
12/06 20060101AFI20251111BHJP(基本的電気素子)
要約
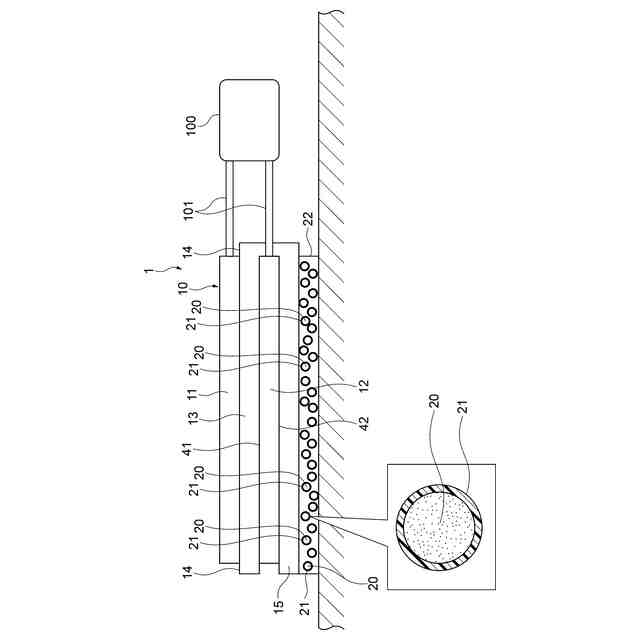
【課題】汎用性を有し、長期間設置しても電力源である金属空気電池の劣化を防止でき、また、電力源である金属空気電池が優れた発電性能を発揮できる液検知センサを提供する。
【解決手段】正極11と、前記正極に対向した第1の部位41を有する負極12と、前記第1の部位とは異なる前記負極の第2の部位42に対向して配置された電解液構成成分20と、を有する金属空気電池10を備え、前記電解液構成成分が、樹脂製袋体21の内部に封入され、前記樹脂製袋体の樹脂が、検知対象の液体に対する溶解性または分散性を有する液検知センサ1。
【選択図】図1
特許請求の範囲
【請求項1】
正極と、前記正極に対向した第1の部位を有する負極と、前記第1の部位とは異なる前記負極の第2の部位に対向して配置された電解液構成成分と、を有する金属空気電池を備え、
前記電解液構成成分が、樹脂製袋体の内部に封入され、前記樹脂製袋体の樹脂が、検知対象の液体に対する溶解性または分散性を有する液検知センサ。
続きを表示(約 860 文字)
【請求項2】
前記電解液構成成分が封入されている前記樹脂製袋体が対向して配置された前記第2の部位が、前記第1の部位と対向した領域を有する請求項1に記載の液検知センサ。
【請求項3】
前記正極と前記第1の部位との間に、前記正極と前記第1の部位を所定間隔あけて支持する支持部材が、さらに設けられ、前記支持部材が、前記第1の部位から前記第2の部位に対向した前記電解液構成成分が封入されている前記樹脂製袋体の位置まで延在している延在部を有する請求項1または2に記載の液検知センサ。
【請求項4】
前記電解液構成成分が封入されている前記樹脂製袋体と前記第2の部位の間に、前記支持部材の延在部が配置されている請求項3に記載の液検知センサ。
【請求項5】
前記支持部材の延在部と前記第2の部位の間に、前記電解液構成成分が封入されている前記樹脂製袋体が配置されている請求項3に記載の液検知センサ。
【請求項6】
前記樹脂製袋体の樹脂が、水溶性樹脂または油溶性樹脂である請求項1乃至5のいずれか1項に記載の液検知センサ。
【請求項7】
前記電解液構成成分が封入されている前記樹脂製袋体が、1つまたは複数である請求項1乃至6のいずれか1項に記載の液検知センサ。
【請求項8】
前記電解液構成成分が、水、アルカリ金属塩またはアルカリ金属塩の水溶液を含む請求項1乃至7のいずれか1項に記載の液検知センサ。
【請求項9】
前記負極の活物質が、マグネシウム(Mg)、アルミニウム(Al)、リチウム(Li)、カルシウム(Ca)及び亜鉛(Zn)からなる群から選択された少なくとも1種の金属を含む請求項1乃至8のいずれか1項に記載の液検知センサ。
【請求項10】
前記金属空気電池の電力を受電して液検知を知らせる報知部を有する請求項1乃至9のいずれか1項に記載の液検知センサ。
(【請求項11】以降は省略されています)
発明の詳細な説明
【技術分野】
【0001】
本発明は、金属空気電池を備えた液検知センサに関し、特に、優れた発電性能を備え、かつ、長期保管性に優れた液検知センサに関する。
続きを表示(約 1,700 文字)
【背景技術】
【0002】
建造物、地下施設、工場、医療現場等で、液漏れや冠水を検知する液検知センサが使用されることがある。液検知センサは、液漏れや冠水を防止するべき箇所に配置される。液検知センサは、液検知センサが備える電池に外部から液体が接触した際に生じる電気的変化を捉えて液漏れを検知する。
【0003】
液検知センサとしては、例えば、漏出した液体によって発電する水電池を備えた医療現場用の液検知センサがある(特許文献1)。特許文献1の液検知センサでは、水電池が粘着性を有する固定テープによって吸収性部材上に固定されており、吸収性部材に吸収して拡散された血液、点滴液等の液体が水電池全体に接触して供給されることで、水電池が発電し、液漏れを検知する。
【0004】
また、液検知センサとしては、例えば、マグネシウム電池からなる漏液センサ部を備えた医療現場用の液検知センサがある(特許文献2)。特許文献2の液検知センサでは、マグネシウム電池は、正極シートと、触媒シートと、シート状セパレータと、負極シートとが順次積層されたものであり、漏液センサ部に電気的に接続され、かつマグネシウム電池の電力により検知信号を送信する発信部と、発信部から送信された検知信号を受信する受信部と、受信部からの検知信号に基づき漏液状態を警報する警報手段を有した受信端末と、を備えている。 漏液センサ部は、注射針から漏れた血液または注射液を電解液としてマグネシウム電池が発電した状態を、漏液状態として検知するものである。
【0005】
液検知センサでは、液漏れは精度よく検知する必要があるが、検知対象である血液等が電解液として機能する特許文献1、2の液検知センサでは、液検知の対象として、医療現場における血液等の検知以外には特に提案されておらず、汎用性に乏しい。
【0006】
一方で、液漏れや冠水を検知することは、医療現場だけではなく、建造物、地下施設、工場、治水現場等、広汎な分野で要求されており、液検知センサには、水の検知や油の検知等、汎用性が要求されることがある。しかしながら、上記の通り、特許文献1、2の液検知センサは、汎用性に乏しい点で、問題があった。
【0007】
また、液検知センサに汎用性を付与するにあたり、建造物、地下施設、工場等の液漏れや河川の周囲等の冠水を液検知センサにて監視する際に、監視員が液漏れや冠水の現場から離れた場所にて監視することが利便性に優れることもある。液検知センサが、液漏れや冠水の現場から離れた場所まで確実に警報を伝達するには、液検知センサに搭載する電池の発電性能を向上させる必要がある。
【0008】
液検知センサに搭載する電力源として金属空気電池が使用される場合、電解質として、塩化ナトリウム、塩化カリウム等のアルカリ金属塩を使用することで、金属空気電池の発電性能を向上させることができる。例えば、金属空気電池の正極と負極の間に設けられたセパレータにあらかじめアルカリ金属塩を含ませておき、アルカリ金属塩を含んだセパレータが検知対象の液体である水と接触した際に、アルカリ金属塩を含んだ水の作用にて正極と負極との間のイオン伝導度が向上することで、金属空気電池が優れた発電性能を発揮できる。
【0009】
しかし、セパレータにアルカリ金属塩を含ませた状態で液検知センサを長期間設置しておくと、セパレータ内のアルカリ金属塩が吸湿して液化することで、金属空気電池の負極を劣化させてしまうことがある。液検知センサを長期間設置している間に金属空気電池の負極が劣化してしまうと、液漏れや冠水を精度よく検知できず、また、金属空気電池が優れた発電性能を発揮できないという問題がある。
【先行技術文献】
【特許文献】
【0010】
国際公開第2012/020507号
特開2017-148332号公報
【発明の概要】
【発明が解決しようとする課題】
(【0011】以降は省略されています)
この特許をJ-PlatPat(特許庁公式サイト)で参照する
関連特許
東ソー株式会社
絶縁電線
27日前
APB株式会社
蓄電セル
25日前
個人
フレキシブル電気化学素子
1か月前
マクセル株式会社
電源装置
19日前
株式会社東芝
端子台
19日前
株式会社ユーシン
操作装置
1か月前
ローム株式会社
半導体装置
1か月前
日新イオン機器株式会社
イオン源
1か月前
ローム株式会社
半導体装置
26日前
株式会社GSユアサ
蓄電設備
1か月前
株式会社GSユアサ
蓄電装置
20日前
オムロン株式会社
電磁継電器
1か月前
三菱電機株式会社
回路遮断器
6日前
株式会社GSユアサ
蓄電装置
12日前
株式会社ホロン
冷陰極電子源
1か月前
太陽誘電株式会社
コイル部品
1か月前
株式会社GSユアサ
蓄電設備
1か月前
株式会社GSユアサ
蓄電装置
20日前
北道電設株式会社
配電具カバー
25日前
トヨタ自動車株式会社
バッテリ
25日前
トヨタ自動車株式会社
蓄電装置
20日前
トヨタ自動車株式会社
蓄電装置
1か月前
ノリタケ株式会社
熱伝導シート
1か月前
日本特殊陶業株式会社
保持装置
28日前
サクサ株式会社
電池の固定構造
1か月前
トヨタ自動車株式会社
冷却構造
27日前
日新イオン機器株式会社
基板処理装置
22日前
日本特殊陶業株式会社
保持装置
11日前
トヨタ自動車株式会社
バッテリ
1か月前
日東電工株式会社
積層体
1か月前
日本無線株式会社
レーダアンテナ
13日前
ベストテック株式会社
装置支持具
1か月前
SMK株式会社
キートップ及びスイッチ
1か月前
トヨタ自動車株式会社
電池パック
1か月前
ローム株式会社
半導体装置
1か月前
甲神電機株式会社
変流器及び零相変流器
13日前
続きを見る
他の特許を見る