TOP
|
特許
|
意匠
|
商標
特許ウォッチ
Twitter
他の特許を見る
公開番号
2025169917
公報種別
公開特許公報(A)
公開日
2025-11-14
出願番号
2025075375
出願日
2025-04-30
発明の名称
電気プラグコネクタ及びプラグコネクタアセンブリ
出願人
ローゼンバーガー ホーフフレクベンツテクニーク ゲーエムベーハー ウント ツェーオー カーゲー
代理人
弁理士法人南青山国際特許事務所
主分類
H01R
13/52 20060101AFI20251107BHJP(基本的電気素子)
要約
【課題】好ましくは特に簡単かつ経済的に製造及び装着が可能な、高いシール性を有するプラグコネクタを提供する。
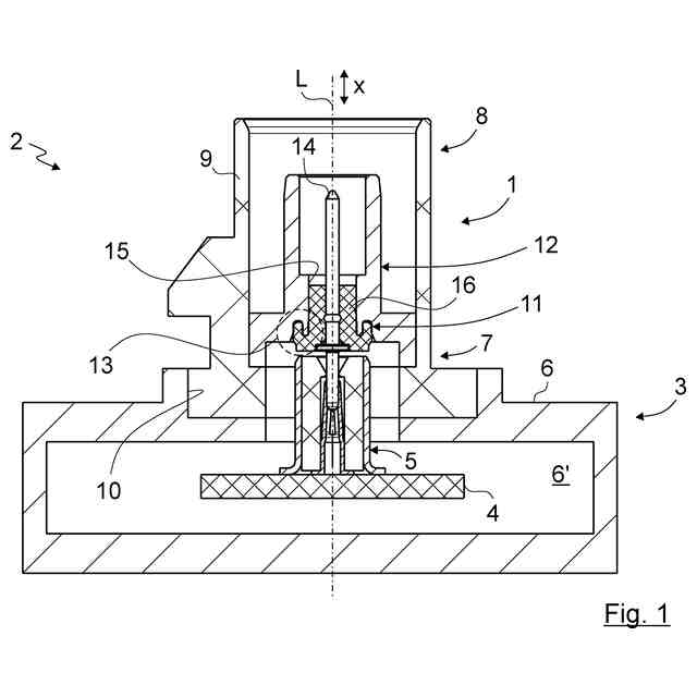
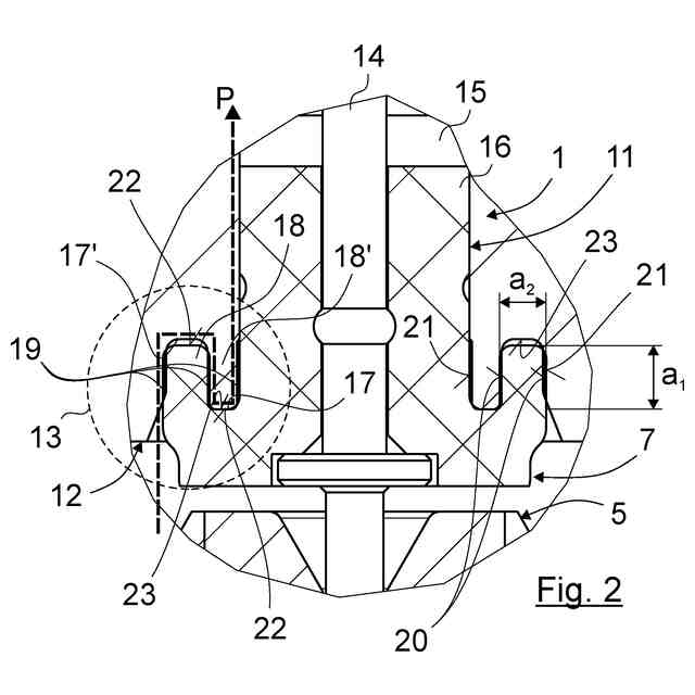
【解決手段】プラスチック部品11と、金属部品12とを具備する電気プラグコネクタ1は、部品11,12の一方が、それぞれの場合に他方の部品内に少なくとも部分的に収容され、プラスチック部品と金属部品との間にシール領域13が形成されており、プラスチック部品と金属部品とが、シール領域において力嵌め方式で互いに直接的に接続されており、部品の少なくとも一方が、シール領域において、周縁部の全周を周回し、軸方向xにアクセス可能な接続溝を有し、部品の各場合における他方が、シール領域において、周縁部の全周を周回し、接続溝に収容され、接続溝と周縁部の全周を周回する少なくとも1つの圧接部を形成する接続リブを有し、圧接部によって、プラスチック部品と金属部品との間の通路がシールされ、好ましくは流体密にシールされる。
【選択図】図1
特許請求の範囲
【請求項1】
プラスチック部品(11)と、金属部品(12)とを具備する電気プラグコネクタ(1)であって、
部品(11,12)の一方が、それぞれの場合に他方の部品(12,11)内に少なくとも部分的に収容され、プラスチック部品(11)と金属部品(12)との間にシール領域(13)が形成されており、
プラスチック部品(11)と金属部品(12)とが、シール領域(13)において力嵌め方式で互いに直接的に接続されており、
部品(11,12)の少なくとも一方が、シール領域(13)において、周縁部の全周を周回し、軸方向(x)にアクセス可能な接続溝(17,17')を有し、
部品(12,11)の各場合における他方が、シール領域(13)において、周縁部の全周を周回し、接続溝(17、17')に収容され、接続溝(17、17')と周縁部の全周を周回する少なくとも1つの圧接部(19)を形成する接続リブ(18、18')を有し、
圧接部(19)によって、プラスチック部品(11)と金属部品(12)との間の通路(P)がシールされ、好ましくは流体密にシールされる
電気プラグコネクタ(1)。
続きを表示(約 1,400 文字)
【請求項2】
請求項1に記載の電気プラグコネクタ(1)であって、
2つの部品(11、12)のうちの一方は、接続溝(17、17')のうちの1つと接続リブ(18、18')のうちの1つとからなる接続シーケンスを有し、接続シーケンスは、それぞれの場合において、他方の部品(12、11)の接続リブ(18、18')のうちの1つと接続溝(17、17')のうちの1つとからなる相補的な接続シーケンスに接続される
電気プラグコネクタ(1)。
【請求項3】
請求項2に記載の電気プラグコネクタ(1)であって、
接続溝(17、17')は、接続シーケンス内で接続リブ(18、18')に直接移行する
電気プラグコネクタ(1)。
【請求項4】
請求項1から3のいずれか一項に記載の電気プラグコネクタ(1)であって、
圧接部(19)は、少なくとも線に沿って周縁部を周回するように設計されており、好ましくは、平面上で周縁部を周回するように設計されている
電気プラグコネクタ(1)。
【請求項5】
請求項1から4のいずれか一項に記載の電気プラグコネクタ(1)であって、
複数の圧力接点(19)、好ましくは少なくとも2つの圧力接点(19)、より好ましくは少なくとも3つの圧力接点(19)が、プラスチック部品(11)と金属部品(12)との間の通路(P)に沿って分布している
電気プラグコネクタ(1)。
【請求項6】
請求項5に記載の電気プラグコネクタ(1)であって、
圧接部(19)の少なくとも1つが、プラグコネクタ(1)の長手方向軸(L)に対して横方向に、好ましくは同心状に、さらなる圧接部(19)の内側に配置されている
電気プラグコネクタ(1)。
【請求項7】
請求項5又は6に記載の電気プラグコネクタ(1)であって、
各場合において、圧接部(19)の少なくとも1つが、接続溝(17、17')の互いに正反対に位置する全ての側壁(20)と接続リブ(18、18')の側壁(21)との間に形成されている
電気プラグコネクタ(1)。
【請求項8】
請求項1から7のいずれか一項に記載の電気プラグコネクタ(1)であって、
接続リブ(18、18')の肉厚が、その上面(22)から広がっている、及び/又は、接続溝(17、17')の幅が、その溝底部(23)から広がっている
電気プラグコネクタ(1)。
【請求項9】
請求項1から8のいずれか一項に記載の電気プラグコネクタ(1)であって、
接続リブ(18、18')の頂面(22)は、プラスチック部品(11)と金属部品(12)との間に軸方向の嵌め合い端止めを形成する
電気プラグコネクタ(1)。
【請求項10】
請求項1から9のいずれか一項に記載の電気プラグコネクタ(1)であって、
接続リブ(18、18')の長手方向の長さ(a1)が少なくとも0.3mm、好ましくは少なくとも0.5mmであり、及び/又は
接続リブ(18、18')の肉厚(a2)は、少なくとも0.1mm、好ましくは少なくとも0.2mm、より好ましくは少なくとも0.3mmである
電気プラグコネクタ(1)。
(【請求項11】以降は省略されています)
発明の詳細な説明
【技術分野】
【0001】
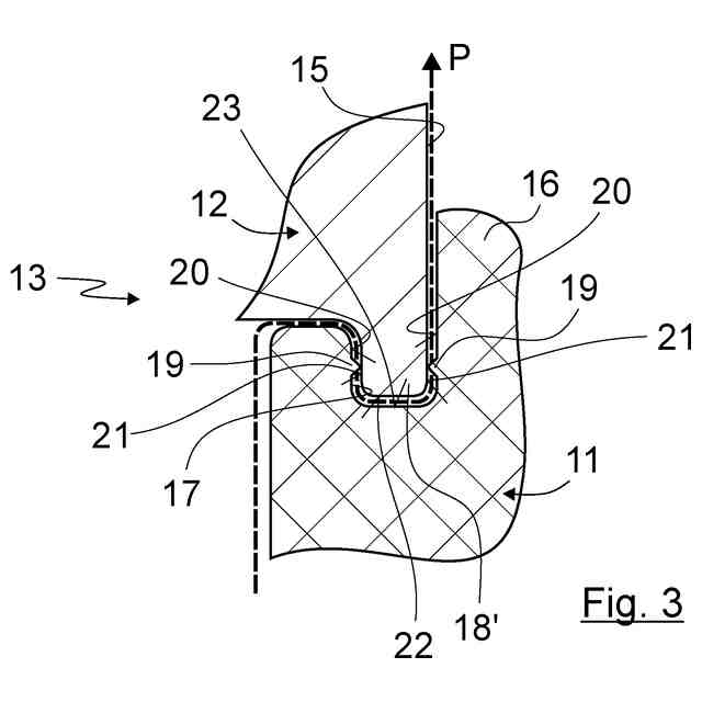
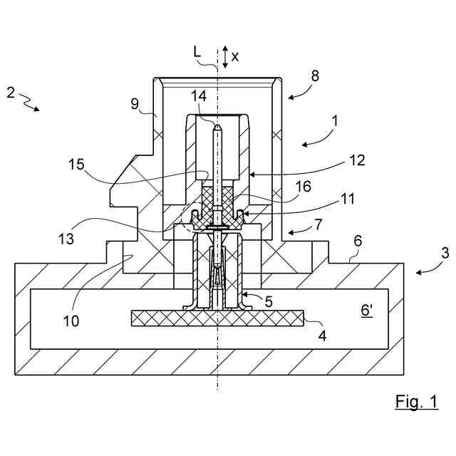
本発明は、シール領域が形成されたプラスチック部品と金属部品とを有する電気プラグコネクタに関する。
続きを表示(約 1,000 文字)
【0002】
本発明はさらに、プラグコネクタアセンブリに関する。
【背景技術】
【0003】
従来技術では、広範な用途の、広範な変形及び形態の電気プラグコネクタが知られている。電気プラグコネクタは、一般に、対応する対となるプラグコネクタに電力及び/又はデータ信号を伝送する役割を果たす。
【0004】
プラグコネクタの内部への湿気や不純物の侵入、及び/又はプラグコネクタの接続インターフェースからプラグコネクタの別の接続インターフェースへの湿気や不純物の侵入を恒久的かつ確実に防止するために、プラグコネクタの個々の構成エレメント間にシールを設けることが必要になることがある。プラグコネクタとそのシーリングには、例えば自動車分野、特にプラグコネクタが車両の外側領域で採用される場合に、特に高い要求がなされる。
【0005】
プラグコネクタの構成部品間のシールは、従来技術では、別個のシールエレメント、特にOリングで頻繁に行われている。また、例えば特許文献1で提案されているように、シーリングコーティングを使用することもできる。
【先行技術文献】
【特許文献】
【0006】
米国特許第6966800号明細書
【発明の概要】
【発明が解決しようとする課題】
【0007】
特に自動車産業における更なる要求は、一般に、プラグコネクタを経済的に大量に生産できることの必要性である。したがって、材料、製造及び取り付けのコストが高くなるため、シール性を有するプラグコネクタを供給することはしばしば問題となる。
【0008】
公知の先行技術に鑑み、本発明の目的は、好ましくは特に簡単かつ経済的に製造及び装着が可能な、高いシール性を有するプラグコネクタを供給することにある。
【0009】
公知の先行技術に鑑み、本発明の目的は、さらに、好ましくは特に簡単かつ経済的に製造及び取り付けが可能な、高いシール性を有するプラグコネクタアセンブリを供給することにある。
【課題を解決するための手段】
【0010】
この目的は、請求項1に記載された特徴を有する電気プラグコネクタ及び請求項14に記載された特徴を有するプラグコネクタアセンブリについて達成される。
(【0011】以降は省略されています)
この特許をJ-PlatPat(特許庁公式サイト)で参照する
関連特許
APB株式会社
蓄電セル
26日前
東ソー株式会社
絶縁電線
28日前
個人
フレキシブル電気化学素子
1か月前
マクセル株式会社
電源装置
20日前
ローム株式会社
半導体装置
27日前
株式会社ユーシン
操作装置
1か月前
株式会社東芝
端子台
20日前
日新イオン機器株式会社
イオン源
1か月前
太陽誘電株式会社
コイル部品
1か月前
株式会社GSユアサ
蓄電装置
13日前
株式会社GSユアサ
蓄電設備
1か月前
三菱電機株式会社
回路遮断器
7日前
株式会社GSユアサ
蓄電設備
1か月前
株式会社GSユアサ
蓄電装置
21日前
株式会社GSユアサ
蓄電装置
21日前
株式会社ホロン
冷陰極電子源
1か月前
サクサ株式会社
電池の固定構造
1か月前
トヨタ自動車株式会社
バッテリ
26日前
トヨタ自動車株式会社
冷却構造
28日前
トヨタ自動車株式会社
蓄電装置
21日前
北道電設株式会社
配電具カバー
26日前
日本特殊陶業株式会社
保持装置
12日前
日本特殊陶業株式会社
保持装置
29日前
トヨタ自動車株式会社
蓄電装置
1か月前
日新イオン機器株式会社
基板処理装置
23日前
トヨタ自動車株式会社
電池パック
1か月前
日本無線株式会社
レーダアンテナ
14日前
日亜化学工業株式会社
半導体レーザ素子
23日前
甲神電機株式会社
変流器及び零相変流器
14日前
住友電装株式会社
コネクタ
28日前
ローム株式会社
半導体モジュール
今日
ローム株式会社
半導体装置
28日前
株式会社レゾナック
冷却器
7日前
ベストテック株式会社
装置支持具
1か月前
トヨタ自動車株式会社
電池パック
1か月前
株式会社デンソー
電子装置
23日前
続きを見る
他の特許を見る