TOP
|
特許
|
意匠
|
商標
特許ウォッチ
Twitter
他の特許を見る
公開番号
2025169829
公報種別
公開特許公報(A)
公開日
2025-11-14
出願番号
2024075002
出願日
2024-05-02
発明の名称
装飾用構造物、建築部材、及び、調度品
出願人
株式会社WAKI総研
代理人
個人
主分類
E06B
3/74 20060101AFI20251107BHJP(戸,窓,シャッタまたはローラブラインド一般;はしご)
要約
【課題】設置箇所に美感を付与することができる装飾用構造物、建築部材及び調度品を提供する。
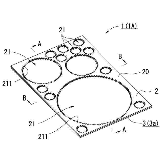
【解決手段】装飾用構造物1は、所定の厚みを有する非光透過性の板材であり、美感を生じせしめる形状の複数の開口部21が形成された第1層2と、第1層2の一面側において少なくとも開口部21に重複して配設された光反射性の板材である第2層3を備える。装飾用構造物1Aは、所定の厚みを有する非光透過性の板材であり、美感を生じせしめる形状の複数の開口部21が形成された第1層2と、第1層2の一面側において少なくとも開口部21に重複して配設された光透過性の板材である第2層3aを備える。建築部材(例えば、ドア6・内窓7(8))は、その一部に装飾用構造物1・1Aを装飾構造部として組み込んでいる。調度品(例えば、鏡4・衝立5)は、その一部に装飾用構造物1・1Aを装飾構造部として組み込んでいる。
【選択図】図1
特許請求の範囲
【請求項1】
所定の厚みを有する非光透過性の板材であり、美感を生じせしめる形状の複数の開口部が形成された第1層と、
該第1層の一面側において少なくとも前記開口部に重複して配設された光透過性の板材である第2層と、
を備える
装飾用構造物。
続きを表示(約 750 文字)
【請求項2】
所定の厚みを有する非光透過性の板材であり、美感を生じせしめる形状の複数の開口部が形成された第1層と、
該第1層の一面側において少なくとも前記開口部に重複して配設された光反射性の板材である第2層と、
を備える
装飾用構造物。
【請求項3】
前記第1層が、前記装飾用構造物の製造以外の他用途で使用される所定形状の板片を切出後の木材である
請求項1又は2に記載の装飾用構造物。
【請求項4】
前記第1層の開口部が歯車形状である
請求項1又は2に記載の装飾用構造物。
【請求項5】
前記第1層が、前記装飾用構造物の製造以外の他用途で使用される木製歯車を切出後の木材である
請求項4に記載の装飾用構造物。
【請求項6】
第1層及び第2層を有する装飾用構造部と、該装飾用構造部が組み込まれた建築部材基部と、を備え、
前記第1層が、所定の厚みを有する非光透過性の板材であり、美感を生じせしめる形状の複数の開口部が形成され、
前記第2層が、前記第1層の一面側において少なくとも前記開口部に重複して配設された、光透過性の板材であるか、又は、光反射性の板材である
建築部材。
【請求項7】
第1層及び第2層を有する装飾用構造部と、該装飾用構造部が組み込まれた調度品基部と、を備え、
前記第1層が、所定の厚みを有する非光透過性の板材であり、美感を生じせしめる形状の複数の開口部が形成され、
前記第2層が、前記第1層の一面側において少なくとも前記開口部に重複して配設された、光透過性の板材であるか、又は、光反射性の板材である
調度品。
発明の詳細な説明
【技術分野】
【0001】
本発明は、装飾用構造物、建築部材、及び、調度品に関する。更に詳しくは、設置箇所に美感を付与することができる装飾用構造物、及び、当該装飾用構造を含む建築部材並びに調度品に関する。
続きを表示(約 1,500 文字)
【背景技術】
【0002】
従来から、室内又は室外を装飾するために、ガラス製品とその他の部材を組み合わせた装飾用構造物が存在しており、例えば、下記の非特許文献1及び非特許文献2に示すような鏡が提案されている。これらの鏡は、装飾用構造物として設置箇所に一定の美感を付与するものである。
【先行技術文献】
【非特許文献】
【0003】
フレンチアンティーク調のおしゃれな鏡、デコラティブなデザインミラー(ゴールド)(商品番号 n8-141) アンティーク家具専門店Handle インターネット<URL:https://handle-marche.com/SHOP/n8-141.html>
【0004】
リナ ウォールミラー ピンクゴールド Francfranc ONLINE インターネット<URL:https://francfranc.com/products/1111040039901?srsltid=AfmBOoq-xS8A_xUZsy9Xy_nq5wGv5ouirWR-ts539fOlJb0cGIOoW-3ddl8>
【発明の概要】
【発明が解決しようとする課題】
【0005】
しかしながら、非特許文献1及び非特許文献2に示す鏡は、枠部分には美的特徴を有するものの、ガラス(鏡)部分は通常の構造であって特に美的特徴を発揮するものではなく、本発明者は、全体として新たな美的特徴を発揮し、設置箇所に美感を付与することができる装飾用構造物を求めていた。
【0006】
本発明は、以上の点を鑑みて創案されたものであり、設置箇所に美感を付与することができる装飾用構造物、建築部材、及び、調度品を提供することを目的とするものである。
【課題を解決するための手段】
【0007】
上記の目的を達成するために、本発明の装飾用構造物は、所定の厚みを有する非光透過性の板材であり、美感を生じせしめる形状の複数の開口部が形成された第1層と、該第1層の一面側において少なくとも前記開口部に重複して配設された光透過性の板材である第2層と、を備える。
【0008】
本発明の装飾用構造物は、前述した構造であることにより、第1層の側から見て、第2層側から照らされた光が開口部を除く第1層により遮断されると共に、各開口部からはその形状で透光する。更に、第1層が所定の厚みを有する板材であることにより、第2層表面と第1層の開口部近傍の表面の間に形成された立ち上がり部分を含む段となる箇所に陰影が生じる。
【0009】
つまり、本発明の装飾用構造物によれば、各開口部の形状に象られて透る複数の光と、各開口部口縁の段差に生じる陰影とが相俟って、複合的な視覚的効果が生じることにより、設置箇所に美感を付与し、特に、第1層の側に立つ看者に美感を生ぜしめることができる。
【0010】
本発明の装飾用構造物は、少なくとも前述した第1層及び第2層を備える構成であればよく、第2層を挟んで第1層と反対となる面に、第2層と同様の第3層を設けてもよい。この第3層は、形成される開口部の位置及び形状が、第1層の開口部と重複する態様(第1層と相似形)であってもよいし、第1層の開口部と一部重複する態様(第1層と異形)であってもよい。また、第1層を保護すべく、第1層に重複する態様の半透明又は透明な第4の層を設けてもよい。
(【0011】以降は省略されています)
この特許をJ-PlatPat(特許庁公式サイト)で参照する
関連特許
株式会社WAKI総研
装飾用構造物、建築部材、及び、調度品
7日前
株式会社ナカオ
作業台
2か月前
株式会社ニチベイ
遮蔽装置
22日前
三協立山株式会社
開口部装置
2か月前
三協立山株式会社
開口部装置
1か月前
三協立山株式会社
開口部建材
15日前
三協立山株式会社
開口部建材
15日前
豊田合成株式会社
調光装置
1か月前
不二サッシ株式会社
引違いサッシ
1か月前
文化シヤッター株式会社
止水装置
1か月前
豊田合成株式会社
調光装置
14日前
文化シヤッター株式会社
引戸装置
1か月前
三協立山株式会社
サッシの製造方法
2か月前
株式会社LIXIL
太陽電池ガラス
1か月前
株式会社LIXIL
建具
1か月前
倉敷紡績株式会社
外構ユニット
1か月前
有限会社高橋土木
梯子固定装置
1日前
株式会社LIXIL
建具
1か月前
株式会社LIXIL
建具
1か月前
株式会社LIXIL
建具
1か月前
株式会社LIXIL
建具
1か月前
株式会社LIXIL
建具
1か月前
株式会社LIXIL
建具
2か月前
株式会社LIXIL
建具
2か月前
株式会社LIXIL
建具
1か月前
株式会社LIXIL
建具
2か月前
株式会社LIXIL
建具
2か月前
株式会社LIXIL
建具
1か月前
株式会社LIXIL
建具
1か月前
株式会社ニチベイ
縦型ブラインド
15日前
ソムフィ株式会社
電動開閉部制御ユニット
2か月前
株式会社ニチベイ
ロールスクリーン
1か月前
清水建設株式会社
化粧カバー
1か月前
株式会社ニチベイ
ブラインド用カバー装置
1か月前
三和シヤッター工業株式会社
枠構造
2か月前
三和シヤッター工業株式会社
制御システム
1か月前
続きを見る
他の特許を見る