TOP
|
特許
|
意匠
|
商標
特許ウォッチ
Twitter
他の特許を見る
公開番号
2025134260
公報種別
公開特許公報(A)
公開日
2025-09-17
出願番号
2024032050
出願日
2024-03-04
発明の名称
電動開閉部制御ユニット
出願人
ソムフィ株式会社
代理人
個人
主分類
E06B
9/68 20060101AFI20250909BHJP(戸,窓,シャッタまたはローラブラインド一般;はしご)
要約
【課題】既存の手動開閉部や交流電源の電動開閉部を容易に直流の電動開閉部とすることが可能な電動開閉部制御ユニットを提供する。
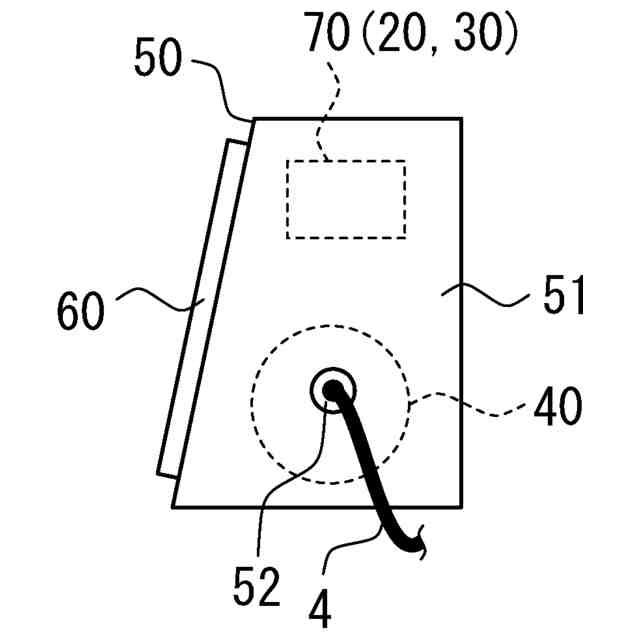
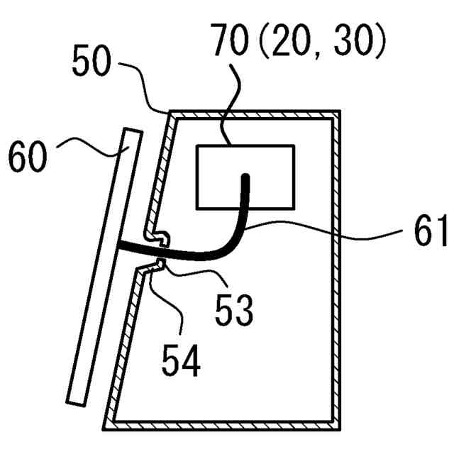
【解決手段】リモートコントローラを用いてモータにより開閉部を開閉動作させるための電動開閉部制御ユニット10は、制御部20と、無線受信部30と、二次電池40と、ユニット筐体50と、ソーラパネル60とからなる。制御部20は、モータからのモータケーブル4が接続され、モータを制御する。無線受信部30は、制御部20に接続され、リモートコントローラからの無線信号を受信する。二次電池40は、制御部20と無線受信部30とモータとに電源を供給する。ユニット筐体50は、開閉部周辺に固定され、制御部20と無線受信部30と二次電池40とを内部に収容する。ソーラパネル60は、ユニット筐体50の外側面に固定され、二次電池40を充電する。
【選択図】図2
特許請求の範囲
【請求項1】
リモートコントローラを用いてモータにより開閉部を開閉動作させるための電動開閉部制御ユニットであって、該電動開閉部制御ユニットは、
モータからのモータケーブルが接続され、モータを制御する制御部と、
前記制御部に接続され、リモートコントローラからの無線信号を受信する無線受信部と、
前記制御部と無線受信部とモータとに電源を供給するための二次電池と、
開閉部周辺に固定され、制御部と無線受信部と二次電池とを内部に収容するユニット筐体と、
前記ユニット筐体の外側面に固定され、二次電池を充電するためのソーラパネルと、
を具備することを特徴とする電動開閉部制御ユニット。
続きを表示(約 1,200 文字)
【請求項2】
請求項1に記載の電動開閉部制御ユニットであって、さらに、前記制御部と無線受信部とを収容する樹脂ケースを具備することを特徴とする電動開閉部制御ユニット。
【請求項3】
請求項2に記載の電動開閉部制御ユニットにおいて、前記樹脂ケースは、ユニット筐体の内部の上側に配置されることを特徴とする電動開閉部制御ユニット。
【請求項4】
請求項3に記載の電動開閉部制御ユニットにおいて、
前記ユニット筐体は、制御部に接続されるモータケーブルをユニット筐体の内部に引き込むためのモータケーブル引込用孔を有し、
前記モータケーブル引込用孔は、樹脂ケースの配置位置よりも下側に配置される、
ことを特徴とする電動開閉部制御ユニット。
【請求項5】
請求項1に記載の電動開閉部制御ユニットにおいて、前記ユニット筐体は、ソーラパネルが固定されるユニット筐体の外側面が、ソーラパネルの発電効率を上げるために所定の傾斜角度を有するように構成されることを特徴とする電動開閉部制御ユニット。
【請求項6】
請求項5に記載の電動開閉部制御ユニットにおいて、
前記ソーラパネルは、ユニット筐体に固定される面側から延在するソーラケーブルを有し、
前記ユニット筐体は、ソーラパネルが固定されるユニット筐体の外側面に、ソーラケーブルを内部に引き込むためのソーラケーブル引込用孔を有する、
ことを特徴とする電動開閉部制御ユニット。
【請求項7】
請求項6に記載の電動開閉部制御ユニットにおいて、前記ソーラケーブル引込用孔は、制御部及び無線受信部の配置位置よりも下側に配置されることを特徴とする電動開閉部制御ユニット。
【請求項8】
請求項6に記載の電動開閉部制御ユニットにおいて、前記ソーラケーブル引込用孔は、水平より上向き内側に凹ませる凹部に設けられることを特徴とする電動開閉部制御ユニット。
【請求項9】
請求項6に記載の電動開閉部制御ユニットにおいて、
前記無線受信部は、リモートコントローラからの無線信号をアンテナにより受信し、
前記アンテナは、ユニット筐体の外側に配置され、アンテナのケーブルがソーラケーブル引込用孔から内部に引き込まれて無線受信部に接続される、
ことを特徴とする電動開閉部制御ユニット。
【請求項10】
請求項6に記載の電動開閉部制御ユニットにおいて、
前記無線受信部は、リモートコントローラからの無線信号をアンテナにより受信し、
前記アンテナは、ユニット筐体の内部で、制御部に接続されるモータケーブルに電気的に結合される、
ことを特徴とする電動開閉部制御ユニット。
発明の詳細な説明
【技術分野】
【0001】
本発明は電動開閉部制御ユニットに関し、特に、リモートコントローラを用いてモータにより開閉部を開閉動作させるための電動開閉部制御ユニットに関する。
続きを表示(約 1,500 文字)
【背景技術】
【0002】
シャッタを開閉動作させるのを電動で行う電動シャッタが知られている。電動シャッタは、店舗や住宅、駐車場等の出入口を開閉するシャッタを電動モータで開閉動作させるものである。電動モータは、一般的に建物側の交流電源に接続され駆動される。
【0003】
また、例えば特許文献1に開示のように、交流電源を用いずに太陽電池により直流モータを駆動することでシャッタを開閉動作させるものも知られている。この例は、太陽電池によりバッテリを充電し、充電されたバッテリにより直流モータを駆動するものである。太陽電池と直流モータを用いることで、建物側への配線が不要となる。シャッタの上部に配置されるシャッタケースの内部に制御盤と受信機とモータが収容されると共に、シャッタケースの外側にソーラパネルが設置されるものである。制御盤は、モータの駆動制御を行い、シャッタの開閉動作制御を行うものである。受信機は、外部の送信機による遠隔操作信号を受信するものである。そして、バッテリは、シャッタケースに内装することなく、ガイドレールの中間部に内装することによってバッテリの出し入れを容易としている。
【先行技術文献】
【特許文献】
【0004】
特開平7-102866号公報
【発明の概要】
【発明が解決しようとする課題】
【0005】
しかしながら、上述の特許文献1に開示のような、シャッタと一体型のシャッタケースで構成される電動シャッタの場合には、電動シャッタ設置時にすべての構成要素を設置する必要がある。即ち、既存の手動シャッタを電動化したり、交流電源用のモータが設置されている既存の電動シャッタに対してソーラパネルにより直流化したりすることは難しかった。さらに、特許文献1に開示の電動シャッタでは、バッテリはガイドレールに配置されるものであるため、交流用のシャッタケース全体を直流用の装置に置き換えようとしても、別途バッテリをガイドレールに配置するための固定具の設置やバッテリへの配線を行わなくてはならなかった。このため、すべての構成要素を置き換える必要があり、施工も困難でありコスト的にも高くなっていた。
【0006】
したがって、容易な施工で既存のシャッタ等の手動開閉部を電動開閉部としたり、交流電源の電動開閉部を直流の電動開閉部としたりすることが可能な装置の開発が望まれていた。
【0007】
本発明は、斯かる実情に鑑み、既存の手動開閉部や交流電源の電動開閉部を容易に直流の電動開閉部とすることが可能な電動開閉部制御ユニットを提供しようとするものである。
【課題を解決するための手段】
【0008】
上述した本発明の目的を達成するために、本発明による電動開閉部制御ユニットは、モータからのモータケーブルが接続され、モータを制御する制御部と、制御部に接続され、リモートコントローラからの無線信号を受信する無線受信部と、制御部と無線受信部とモータとに電源を供給するための二次電池と、開閉部周辺に固定され、制御部と無線受信部と二次電池とを内部に収容するユニット筐体と、ユニット筐体の外側面に固定され、二次電池を充電するためのソーラパネルと、を具備するものである。
【0009】
さらに、制御部と無線受信部とを収容する樹脂ケースを具備するものであっても良い。
【0010】
また、樹脂ケースは、ユニット筐体の内部の上側に配置されるものであれば良い。
(【0011】以降は省略されています)
この特許をJ-PlatPat(特許庁公式サイト)で参照する
関連特許
中国電力株式会社
脚立
3か月前
株式会社ナカオ
作業台
2か月前
株式会社ESP
止水板
3か月前
株式会社ニチベイ
遮蔽装置
23日前
三協立山株式会社
開口部装置
2か月前
三協立山株式会社
開口部装置
2か月前
三協立山株式会社
開口部装置
1か月前
三協立山株式会社
開口部建材
16日前
三協立山株式会社
開口部建材
16日前
三協立山株式会社
開口部装置
2か月前
三協立山株式会社
開口部装置
2か月前
三協立山株式会社
開口部装置
2か月前
ミサワホーム株式会社
水切り材
2か月前
不二サッシ株式会社
引違いサッシ
1か月前
豊田合成株式会社
調光装置
1か月前
文化シヤッター株式会社
止水装置
1か月前
豊田合成株式会社
調光装置
15日前
文化シヤッター株式会社
引戸装置
1か月前
不二サッシ株式会社
引違いサッシ
2か月前
株式会社ニチベイ
縦型ブラインド
3か月前
三協立山株式会社
サッシの製造方法
2か月前
株式会社LIXIL
太陽電池ガラス
1か月前
株式会社LIXIL
建具
1か月前
株式会社LIXIL
建具
2か月前
株式会社LIXIL
建具
1か月前
株式会社LIXIL
建具
2か月前
株式会社LIXIL
建具
1か月前
株式会社LIXIL
建具
1か月前
倉敷紡績株式会社
外構ユニット
1か月前
株式会社LIXIL
建具
2か月前
株式会社LIXIL
建具
1か月前
株式会社LIXIL
建具
2か月前
株式会社LIXIL
建具
1か月前
株式会社LIXIL
建具
3か月前
三協立山株式会社
エクステリア構成材
3か月前
株式会社LIXIL
建具
3か月前
続きを見る
他の特許を見る