TOP
|
特許
|
意匠
|
商標
特許ウォッチ
Twitter
他の特許を見る
10個以上の画像は省略されています。
公開番号
2025169698
公報種別
公開特許公報(A)
公開日
2025-11-14
出願番号
2024074678
出願日
2024-05-02
発明の名称
ペット用キャリーバッグ
出願人
ドギーマンハヤシ株式会社
代理人
弁理士法人IPRコンサルタント
主分類
A01K
1/02 20060101AFI20251107BHJP(農業;林業;畜産;狩猟;捕獲;漁業)
要約
【課題】 ペットの非収容時にコンパクトにまとめることができるペット用キャリーバッグを提供する。
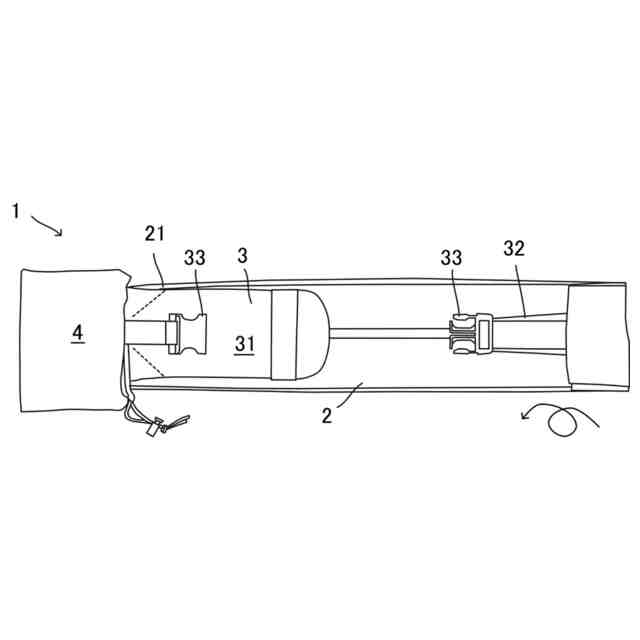
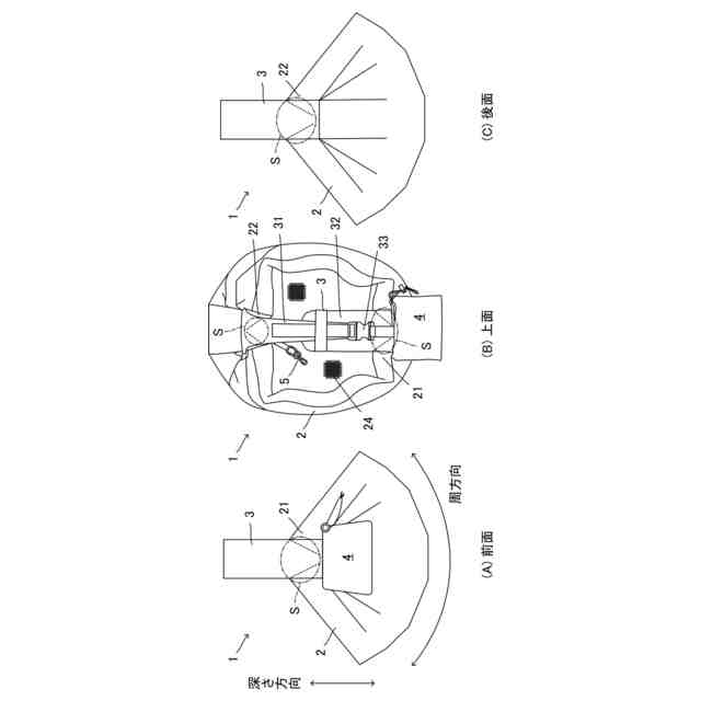
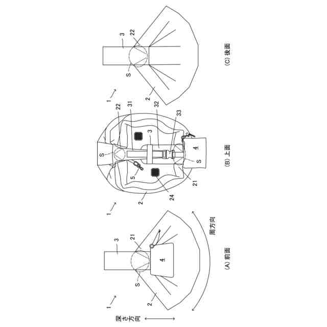
【解決手段】 袋状となってペットを包み込むとともに、帯状に折り畳まれることが可能な本体と、前記本体の第1端部及び第2端部に亘って設けられた肩掛け部と、前記第1端部に設けられたポケットと、を具備し、前記本体及び前記肩掛け部が前記第2端部側から前記第1端部に向かって捲回され、前記ポケットに収納されること、を特徴とするペット用キャリーバッグ。
【選択図】図2
特許請求の範囲
【請求項1】
袋状となってペットを包み込むとともに、帯状に折り畳まれることが可能な本体と、
前記本体の第1端部及び第2端部に亘って設けられた肩掛け部と、
前記第1端部に設けられたポケットと、を具備し、
前記本体及び前記肩掛け部が前記第2端部側から前記第1端部に向かって捲回され、前記ポケットに収納されること、
を特徴とするペット用キャリーバッグ。
続きを表示(約 410 文字)
【請求項2】
前記本体が、山折りと谷折りとの繰返しをそれぞれ含んで互いに向かい合う一対の蛇腹状構造を有する生地から構成され、
前記本体が、前記第1端部及び前記第2端部を互いに反対側の方向に引っ張ると、帯状に畳まれること、
を特徴とする請求項1に記載のペット用キャリーバッグ。
【請求項3】
前記肩掛け部が、前記第1端部及び前記第2端部において略V字状の縫合線を形成するように前記本体と縫合されること、
を特徴とする請求項1に記載のペット用キャリーバッグ。
【請求項4】
前記縫合線が、30°~120°の角度をなすこと、
を特徴とする請求項3に記載のペット用キャリーバッグ。
【請求項5】
前記縫合線が、前記肩掛け部の長手方向に50mm~70mmの長さを有すること、
を特徴とする請求項3に記載のペット用キャリーバッグ。
発明の詳細な説明
【技術分野】
【0001】
本発明は、ペット用キャリーバッグに関する。
続きを表示(約 1,200 文字)
【背景技術】
【0002】
例えば特許文献1(実用新案登録第3129906号公報)は、外側シートと内側シートとが底部で連続したシート環状体を構成し、該シート環状体の一側を肩掛けとすると共に、他側の外側シートと内側シートとの間を小動物を収容する収容ポケットとし、該収容ポケットの開口部を覆うよう上部に巾着口付メッシュカバーを取り付けてあることを特徴とする小動物用スリングを開示する。
【先行技術文献】
【特許文献】
【0003】
実用新案登録第3129906号公報
【発明の概要】
【発明が解決しようとする課題】
【0004】
しかし、特許文献1に開示された小動物用スリングは、ペットの非収容時にもそのままの形態で保管されるものであり、保管や携帯に不便である。
そこで、本発明の目的は、ペットの非収容時に簡単にコンパクトにまとめることができるペット用キャリーバッグを提供することにある。
【課題を解決するための手段】
【0005】
上記の課題を解決すべく、本発明は、
袋状となってペットを包み込むとともに、帯状に折り畳まれることが可能な本体と、
前記本体の第1端部及び第2端部に亘って設けられた肩掛け部と、
前記第1端部に設けられたポケットと、を具備し、
前記本体及び前記肩掛け部が前記第2端部側から前記第1端部に向かって捲回され、前記ポケットに収納されること、
を特徴とするペット用キャリーバッグ、を提供する。
【0006】
本発明のペット用キャリーバッグでは、
前記本体が、山折りと谷折りとの繰返しをそれぞれ含んで互いに向かい合う一対の蛇腹状構造を有する生地から構成され、
前記本体が、前記第1端部及び前記第2端部を互いに反対側の方向(前記第1端部及び前記第2端部を互いに遠ざかる方向)に引っ張ると、帯状に畳まれること、が好ましい。
【0007】
また、本発明のペット用キャリーバッグでは、
前記肩掛け部が、前記第1端部及び前記第2端部において略V字状の縫合線を形成するように前記本体と縫合されること、が好ましい。
【0008】
また、本発明のペット用キャリーバッグでは、
前記縫合線が、30°~120°の角度をなすこと、が好ましい。
【0009】
また、本発明のペット用キャリーバッグでは、
前記縫合線が、前記肩掛け部の長手方向に50mm~70mmの長さを有すること、が好ましい。
【発明の効果】
【0010】
本発明によれば、ペットの非収容時にペット用キャリーバッグをコンパクトにまとめることができる。したがって、保管や携帯に便利である。
【図面の簡単な説明】
(【0011】以降は省略されています)
この特許をJ-PlatPat(特許庁公式サイト)で参照する
関連特許
個人
蠅捕獲器
1か月前
個人
釣り用錘
16日前
個人
草刈り鋏
1か月前
個人
蜜蜂保護装置
27日前
個人
噴霧器ノズル
14日前
個人
草刈機用回転刃
1か月前
個人
種子の製造方法
1か月前
個人
昆虫捕集器
1か月前
個人
可動リップ付きルアー
19日前
株式会社剛樹
釣り竿
12日前
井関農機株式会社
作業車両
1か月前
個人
餌付き針の餌取り防止具
22日前
個人
ブルーカーボンシステム
19日前
株式会社ナベル
表示システム
22日前
個人
四足動物用装着具
1か月前
井関農機株式会社
圃場作業機
19日前
有限会社信英精密
括り罠
6日前
大栄工業株式会社
捕獲器
1か月前
井関農機株式会社
作業車両
1か月前
松山株式会社
収穫機
19日前
松山株式会社
収穫機
19日前
井関農機株式会社
苗移植機
6日前
みのる産業株式会社
除草機
22日前
株式会社オーツボ
海苔箱船
1か月前
井関農機株式会社
作業車両
1か月前
みのる産業株式会社
除草機
22日前
株式会社アテックス
芝草の刈取装置
5日前
松山株式会社
草刈作業機
27日前
個人
自閉式「洗濯バサミ型」虫捕獲器
6日前
株式会社シマノ
釣糸ガイド
19日前
みのる産業株式会社
茎葉処理装置
1か月前
株式会社シマノ
釣糸ガイド
19日前
株式会社クボタ
作業車
14日前
株式会社三生
足括り罠
29日前
株式会社スズテック
播種装置
1か月前
株式会社エヌエスシー
鳥害防止装置
6日前
続きを見る
他の特許を見る