TOP
|
特許
|
意匠
|
商標
特許ウォッチ
Twitter
他の特許を見る
10個以上の画像は省略されています。
公開番号
2025168500
公報種別
公開特許公報(A)
公開日
2025-11-07
出願番号
2025146267,2024507923
出願日
2025-09-03,2022-09-29
発明の名称
バッテリーパック及びそれを含む自動車
出願人
エルジー エナジー ソリューション リミテッド
代理人
個人
,
個人
主分類
H01M
50/293 20210101AFI20251030BHJP(基本的電気素子)
要約
【課題】本発明の目的は、エネルギー密度を向上させると共に剛性を確保することができるバッテリーパック及びそれを含む自動車を提供することにある。
【解決手段】本発明の一態様に係るバッテリーパックは、複数のバッテリーセルと、第1側及び第2側を有するバスバーアセンブリであって、バスバーアセンブリの第2側がバッテリーセルの第1側に備えられ、バッテリーセルと電気的に接続されるバスバーアセンブリと、バスバーアセンブリの第2側に配置され、バッテリーパックの長手方向に沿ってバッテリーセル同士の間に配置されるクーリングユニットと、クーリングユニット及びバッテリーセルを収容可能に構成され、バッテリーパックの外側面の第1セクションを形成する側面構造ユニットと、側面構造ユニットによって形成されたバッテリーパックの外側面の第1セクションと共にバッテリーパックの外側面の第2セクションを形成するように構成され、クーリングユニットとバッテリーセルとの間の空間にさらに満たされる充填部材と、を含む。
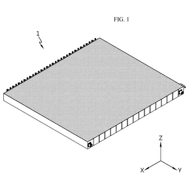
【選択図】図1
特許請求の範囲
【請求項1】
バッテリーパックであって、
複数のバッテリーセルと、
第1側及び第2側を有するバスバーアセンブリであって、前記バスバーアセンブリの前記第2側が複数の前記バッテリーセルの第1側に備えられ、複数の前記バッテリーセルと電気的に接続されている前記バスバーアセンブリと、
前記バスバーアセンブリの第2側に配置されており、前記バッテリーパックの長手方向に沿って複数の前記バッテリーセル同士の間に配置されているクーリングユニットと、
前記クーリングユニット及び複数の前記バッテリーセルを収容可能に構成されており、前記バッテリーパックの外側面の第1セクションを形成する側面構造ユニットと、
前記側面構造ユニットによって形成された前記バッテリーパックの外側面の第1セクションと共に前記バッテリーパックの外側面の第2セクションを形成するように構成されており、前記クーリングユニットと複数の前記バッテリーセルとの間の空間にさらに満たされている充填部材と、
を含む、バッテリーパック。
続きを表示(約 870 文字)
【請求項2】
前記充填部材は、ポッティング樹脂を含む、請求項1に記載のバッテリーパック。
【請求項3】
前記充填部材は、シリコーン樹脂を含む、請求項2に記載のバッテリーパック。
【請求項4】
前記充填部材は、前記バスバーアセンブリの第1側を覆うように前記バスバーアセンブリに満たされている、請求項3に記載のバッテリーパック。
【請求項5】
前記充填部材は、複数の前記バッテリーセルの長手方向において、前記バスバーアセンブリと複数の前記バッテリーセルとの間に断絶空間又は離隔空間なしに、前記バスバーアセンブリと複数の前記バッテリーセルとの間に連続的に満たされている、請求項1に記載のバッテリーパック。
【請求項6】
前記充填部材は、前記側面構造ユニットの外側面を除いた部分に満たされている、請求項1に記載のバッテリーパック。
【請求項7】
前記側面構造ユニットは、前記充填部材の注入及び塗布の際、複数の前記バッテリーセル及び前記クーリングユニットを支持する、請求項1に記載のバッテリーパック。
【請求項8】
前記側面構造ユニットは、前記充填部材が溢れることを防止するため、上面縁部に設けられたガイド段を含む、請求項7に記載のバッテリーパック。
【請求項9】
前記側面構造ユニットは、
前記バッテリーパックの長手方向に沿って所定の長さで形成されたメインプレートと、
前記メインプレートと共に前記バッテリーセルを収容して支持しており、前記側面構造ユニットの幅方向において最外郭の両側に設けられた一対のエンドプレートと、
を含む、請求項7に記載のバッテリーパック。
【請求項10】
前記メインプレートは、複数個備えられ、前記バッテリーセルを前記バッテリーパックの幅方向に沿って二列に配置されるように収容する、請求項9に記載のバッテリーパック。
(【請求項11】以降は省略されています)
発明の詳細な説明
【技術分野】
【0001】
本発明は、バッテリーパック及びそれを含む自動車に関する。
続きを表示(約 1,500 文字)
【0002】
本出願は、2021年10月12日付け出願の韓国特許出願第10-2021-0135355号及び2022年8月12日付け出願の韓国特許出願第10-2022-0101129号に基づく優先権を主張し、当該出願の明細書及び図面に開示された内容は、すべて本出願に組み込まれる。
【背景技術】
【0003】
製品群毎の適用性が高く、高いエネルギー密度などの電気的特性を有する二次電池は、携帯用機器だけでなく、電気的駆動源によって駆動する電気自動車(EV:Electric Vehicle)又はハイブリッド自動車(HEV:Hybrid Electric Vehicle)などに一般的に適用されている。このような二次電池は、化石燃料の使用を画期的に減少させるという一次的な長所だけでなく、エネルギーの使用による副産物が全く発生しないという長所も有することから環境にやさしく、エネルギー効率向上のための新たなエネルギー源として注目されている。
【0004】
現在、リチウムイオン電池、リチウムポリマー電池、ニッケルカドミウム電池、ニッケル水素電池、ニッケル亜鉛電池などの二次電池が広く使用されている。このような単位二次電池セル、すなわち単位バッテリーセルの作動電圧は、約2.5V~4.5Vである。したがって、これよりも高い出力電圧が求められる場合、複数のバッテリーセルを直列に接続してバッテリーパックを構成する。また、バッテリーパックに求められる充放電容量に合わせて、複数のバッテリーセルを並列に接続してバッテリーパックを構成することもある。したがって、バッテリーパックに含まれるバッテリーセルの個数は、求められる出力電圧又は充放電容量によって多様に設定され得る。
【0005】
一方、複数のバッテリーセルを直列または並列に接続してバッテリーパックを構成する場合、少なくとも一つのバッテリーセルを含むバッテリーモジュールを先に構成し、このような少なくとも一つのバッテリーモジュールに、その他の構成要素を付け加えてバッテリーパック又はバッテリーラックを構成する方法が一般的である。
【0006】
従来のバッテリーパックの場合、一般に、複数のバッテリーセル及びこのような複数のバッテリーセルを収容するセルフレームを含んで構成される。従来のセルフレームは、一般に、複数のバッテリーセルを収容し、剛性などを確保するため、前面プレート、後面プレート、側面プレート、下面プレート及び上面プレートなどの複数のプレートの組立体から構成される。
【0007】
しかしながら、従来のバッテリーパックの場合、このような複数のプレートの組立体から構成されるセルフレーム構造の特性上、製造コストが嵩み、組立工程が複雑であり、さらには価格競争力及び製造効率の面で不利である。
【0008】
また、従来のバッテリーパックの場合、複数のプレートの組立体から構成されるセルフレーム構造のため、バッテリーパックの全体サイズが増加してエネルギー密度の面で不利であるという問題がある。
【発明の概要】
【発明が解決しようとする課題】
【0009】
したがって、本発明は、エネルギー密度を向上させると共に剛性を確保することができるバッテリーパック及びそれを含む自動車を提供することを目的とする。
【0010】
また、本発明は、価格競争力及び製造効率を向上させることができるバッテリーパック及びそれを含む自動車を提供することを他の目的とする。
(【0011】以降は省略されています)
特許ウォッチbot のツイートを見る
この特許をJ-PlatPat(特許庁公式サイト)で参照する
関連特許
APB株式会社
蓄電セル
17日前
東ソー株式会社
絶縁電線
19日前
個人
フレキシブル電気化学素子
1か月前
ローム株式会社
半導体装置
1か月前
マクセル株式会社
電源装置
11日前
株式会社ユーシン
操作装置
1か月前
ローム株式会社
半導体装置
18日前
株式会社東芝
端子台
11日前
日新イオン機器株式会社
イオン源
27日前
ローム株式会社
半導体装置
1か月前
株式会社GSユアサ
蓄電装置
4日前
オムロン株式会社
電磁継電器
1か月前
太陽誘電株式会社
コイル部品
1か月前
株式会社GSユアサ
蓄電装置
12日前
株式会社GSユアサ
蓄電設備
1か月前
株式会社GSユアサ
蓄電設備
1か月前
株式会社ホロン
冷陰極電子源
25日前
株式会社GSユアサ
蓄電装置
12日前
トヨタ自動車株式会社
冷却構造
19日前
サクサ株式会社
電池の固定構造
1か月前
北道電設株式会社
配電具カバー
17日前
トヨタ自動車株式会社
蓄電装置
12日前
トヨタ自動車株式会社
蓄電装置
1か月前
日本特殊陶業株式会社
保持装置
20日前
日東電工株式会社
積層体
1か月前
日本特殊陶業株式会社
保持装置
3日前
ノリタケ株式会社
熱伝導シート
1か月前
トヨタ自動車株式会社
バッテリ
1か月前
トヨタ自動車株式会社
バッテリ
17日前
日新イオン機器株式会社
基板処理装置
14日前
ローム株式会社
半導体装置
1か月前
TDK株式会社
コイル部品
1か月前
日本無線株式会社
レーダアンテナ
5日前
日東電工株式会社
電子装置
1か月前
株式会社デンソー
電子装置
14日前
日亜化学工業株式会社
半導体レーザ素子
14日前
続きを見る
他の特許を見る