TOP
|
特許
|
意匠
|
商標
特許ウォッチ
Twitter
他の特許を見る
公開番号
2025168361
公報種別
公開特許公報(A)
公開日
2025-11-07
出願番号
2025133516,2025005559
出願日
2025-08-08,2025-01-15
発明の名称
印刷物および表示装置
出願人
TOPPANホールディングス株式会社
代理人
個人
,
個人
,
個人
,
個人
主分類
B41M
3/06 20060101AFI20251030BHJP(印刷;線画機;タイプライター;スタンプ)
要約
【課題】艶の発生を抑えるとともにディスプレイがOFFである時には高意匠な印刷物となり、ディスプレイがONである時は画像を鮮明に映し出すことができる印刷物および表示装置を提供する。
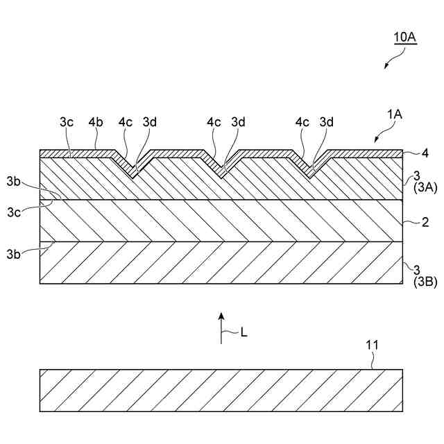
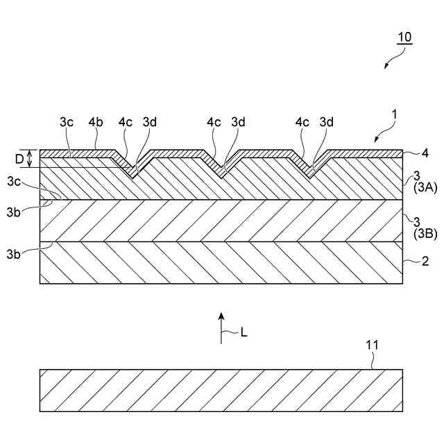
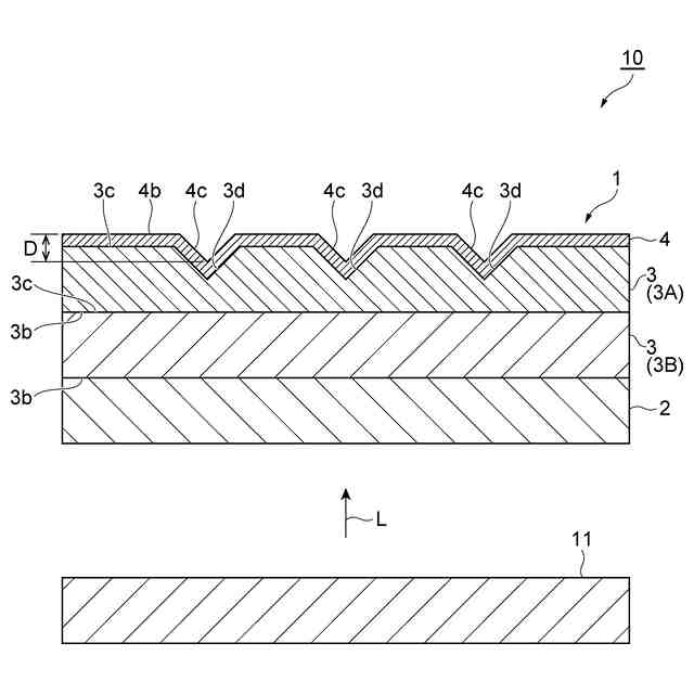
【解決手段】一実施形態に係る印刷物は、光源11からの光Lを透過する印刷物1である。印刷物1は、透光性基材3と、透光性基材3の一方の面3b上に設けられた絵柄印刷層2と、透光性基材3における絵柄印刷層2が設けられた面3bとは反対の面3cに設けられた表面保護層4と、を備える。表面保護層4は、透光性基材3とは反対を向く面3cにおいて窪む第1凹部4cを有する。
【選択図】図1
特許請求の範囲
【請求項1】
光源からの光を透過する印刷物であって、
透光性基材と、
前記透光性基材の一方の面上に設けられた絵柄印刷層と、
前記透光性基材における前記絵柄印刷層が設けられた面とは反対の面に設けられた表面保護層と、
を備え、
前記表面保護層は、前記透光性基材とは反対を向く面において窪む第1凹部を有する、
印刷物。
続きを表示(約 1,300 文字)
【請求項2】
前記透光性基材は、前記絵柄印刷層とは反対を向く面において窪むとともに前記第1凹部から見て前記光源側に位置する第2凹部を有する、
請求項1に記載の印刷物。
【請求項3】
複数の前記透光性基材を備え、
複数の前記透光性基材は、前記表面保護層と前記絵柄印刷層との間に位置する第1透光性基材と、前記第1透光性基材と前記光源との間に位置する第2透光性基材である、
請求項1に記載の印刷物。
【請求項4】
前記第1透光性基材のガラス転移点が前記第2透光性基材のガラス転移点より低い、
請求項3に記載の印刷物。
【請求項5】
前記絵柄印刷層は、
前記透光性基材の一方の面上に設けられ、複数の第1色ドットにより構成された第1色パターン層と、
前記第1色パターン層の上に設けられ、複数の第2色ドットにより構成された第2色パターン層と、を有し、
前記複数の第1色ドットのそれぞれが、第1色用バインダーと前記第1色用バインダーの内部に分散された複数の第1色顔料チップとを含み、
前記複数の第2色ドットのそれぞれが、第2色用バインダーと前記第2色用バインダーの内部に分散された複数の第2色顔料チップとを含み、
前記複数の第1色顔料チップと前記複数の第2色顔料チップとのうちのいずれか一方は、互いに異なる第1干渉光をそれぞれ生成する複数色の第1干渉顔料であり、
前記複数の第1色顔料チップと前記複数の第2色顔料チップとのうちの他方は、複数の前記第1干渉顔料が示す混色とは異なる単色の第2干渉光を生成する第2干渉顔料であり、
複数の前記第1干渉光と前記第2干渉光とを加法混色する、
請求項1に記載の印刷物。
【請求項6】
前記第2色パターン層の上に設けられ、複数のシルバードットにより構成された白色パターン層を更に備え、
前記複数のシルバードットのそれぞれが、シルバー用バインダーと前記シルバー用バインダーの内部に分散された複数のシルバー顔料チップとを含む、
請求項5に記載の印刷物。
【請求項7】
前記絵柄印刷層に対して前記透光性基材とは反対側の最表面上に設けられた透過性スモーク印刷層を更に備える、
請求項5に記載の印刷物。
【請求項8】
前記第1干渉顔料と前記第2干渉顔料とのそれぞれは、粒径が25μm以上60μm以下の二酸化チタン被覆雲母を含む、
請求項5に記載の印刷物。
【請求項9】
前記複数の第1色顔料チップの含有率は、前記第1色用バインダーを100重量部とした場合、0.5重量部以上20重量部以下の範囲内であり、
前記複数の第2色顔料チップの含有率は、前記第2色用バインダーを100重量部とした場合、0.5重量部以上20重量部以下の範囲内である、
請求項5に記載の印刷物。
【請求項10】
前記透光性基材は、バイオマス原料およびリサイクル原料のいずれかによって構成されている、
請求項1に記載の印刷物。
(【請求項11】以降は省略されています)
発明の詳細な説明
【技術分野】
【0001】
本開示は、印刷物および表示装置に関する。
続きを表示(約 1,700 文字)
【背景技術】
【0002】
特許文献1には、印刷物が記載されている。印刷物は、透光性基材と、絵柄印刷層と、透過性スモーク層とを備える。絵柄印刷層は、透光性基材の一方の面上に設けられた第1色パターン層と、第1色パターン層の上に設けられた第2色パターン層とを備える。第1色パターン層は、複数の第1色ドットにより構成されている。複数の第1色ドットのそれぞれが、第1色用バインダーと、第1色用バインダーの内部に分散された複数の第1色顔料チップとを含んでいる。複数の第1色顔料チップは、互いに異なる干渉光を生成する複数色の第1干渉顔料である。
【0003】
第2色パターン層は、複数の第2色ドットにより構成されている。複数の第2色ドットのそれぞれが、第2色用バインダーと、第2色用バインダーの内部に分散された複数の第2色顔料チップとを含んでいる。複数の第2色顔料チップは、第1干渉顔料が示す色とは異なる単色の干渉光を生成する第2干渉顔料である。透光性基材の絵柄印刷層とは反対側には、表面保護層が設けられる。
【先行技術文献】
【特許文献】
【0004】
特許第7457089号公報
【発明の概要】
【発明が解決しようとする課題】
【0005】
前述した透光性基材については、艶が高すぎることがある。この場合、印刷物が貼り付けられたときに、上記の艶が周囲と調和せず異色な存在となることがある。また、マット剤が含有された表面保護層が透光性基材に設けられる場合、上記の艶の発生を抑えることができ、印刷物を周囲と調和させることが可能となる。しかしながら、マット剤が含有された表面保護層が透光性基材に設けられる場合、透光性基材を通して見える画像に曇りが生じることがあり、画像を鮮明に映し出せないことがある。
【0006】
本開示は、艶の発生を抑えるとともに画像を鮮明に映し出すことができる印刷物および表示装置を提供することを目的とする。
【課題を解決するための手段】
【0007】
(1)本開示に係る印刷物は、光源からの光を透過する印刷物である。印刷物は、透光性基材と、透光性基材の一方の面上に設けられた絵柄印刷層と、透光性基材における絵柄印刷層が設けられた面とは反対の面に設けられた表面保護層と、を備える。表面保護層は、透光性基材とは反対を向く面において窪む第1凹部を有する。
【0008】
この印刷物は、絵柄印刷層と、透光性基材と、表面保護層とを有する。絵柄印刷層は、透光性基材の一方の面に設けられている。表面保護層は、透光性基材における絵柄印刷層が設けられた面とは反対の面に設けられている。この印刷物は、表面保護層を有することにより、艶の発生を抑えて周囲と調和させることができる。表面保護層は、透光性基材とは反対を向く面において窪む第1凹部を有する。表面保護層が第1凹部を有することにより、表面保護層に含まれるマット剤の量を低減できるので、曇りを生じにくくして光源からの光による画像を鮮明に映し出すことができる。
【0009】
(2)上記(1)において、透光性基材は、絵柄印刷層とは反対を向く面において窪むとともに第1凹部から見て光源側に位置する第2凹部を有してもよい。この場合、透光性基材の第2凹部における光源とは反対の面に第1凹部が位置する。表面保護層が第1凹部を有し、かつ透光性基材が第2凹部を有することにより、光源からの光による画像に曇りを生じにくくすることができる。
【0010】
(3)上記(1)または(2)において、印刷物は、複数の透光性基材を備えてもよい。複数の透光性基材は、表面保護層と絵柄印刷層との間に位置する第1透光性基材と、第1透光性基材と光源との間に位置する第2透光性基材であってもよい。この場合、表面保護層と絵柄印刷層との間に第1透光性基材が配置され、第1透光性基材と光源との間に第2透光性基材が配置される。このように複数の透光性基材が設けられることにより、印刷物における凹凸感を低減できる。
(【0011】以降は省略されています)
この特許をJ-PlatPat(特許庁公式サイト)で参照する
関連特許
個人
箔熱転写装置
2か月前
シヤチハタ株式会社
印判
5か月前
シヤチハタ株式会社
反転式印判
10か月前
キヤノン株式会社
電子機器
3日前
独立行政法人 国立印刷局
印刷物
8か月前
三光株式会社
感熱記録材料
7か月前
キヤノン株式会社
記録装置
1か月前
株式会社リコー
液体吐出装置
8か月前
独立行政法人 国立印刷局
貼付装置
2か月前
株式会社リコー
液体吐出装置
5か月前
株式会社リコー
液体吐出装置
8か月前
日本製紙株式会社
感熱記録体
8か月前
株式会社リコー
画像形成装置
2か月前
株式会社リコー
液体吐出装置
3か月前
株式会社リコー
液体吐出装置
5か月前
株式会社リコー
液体吐出装置
6か月前
独立行政法人 国立印刷局
貼付機構
2か月前
株式会社リコー
画像形成装置
1か月前
独立行政法人 国立印刷局
記録媒体
9か月前
株式会社リコー
画像形成装置
1か月前
株式会社リコー
印刷システム
1か月前
株式会社リコー
液体吐出装置
9か月前
株式会社リコー
液体吐出装置
7か月前
キヤノン株式会社
画像形成装置
7か月前
ブラザー工業株式会社
プリンタ
2か月前
キヤノン株式会社
情報処理装置
10か月前
独立行政法人 国立印刷局
潜像形成体
1か月前
ブラザー工業株式会社
プリンタ
2か月前
ブラザー工業株式会社
プリンタ
7か月前
キヤノン株式会社
画像処理装置
5か月前
キヤノン株式会社
画像形成装置
9か月前
キヤノン株式会社
画像形成装置
4か月前
キヤノン株式会社
画像形成装置
2か月前
キヤノン株式会社
画像形成装置
8か月前
ブラザー工業株式会社
プリンタ
9か月前
キヤノン株式会社
画像形成装置
9か月前
続きを見る
他の特許を見る