TOP
|
特許
|
意匠
|
商標
特許ウォッチ
Twitter
他の特許を見る
10個以上の画像は省略されています。
公開番号
2025168303
公報種別
公開特許公報(A)
公開日
2025-11-07
出願番号
2025071146
出願日
2025-04-23
発明の名称
回転戻り止め機構を有する薄型サンバイザ
出願人
テスラ,インコーポレイテッド
代理人
弁理士法人広江アソシエイツ特許事務所
主分類
B60J
3/02 20060101AFI20251030BHJP(車両一般)
要約
【課題】車両内部のための機能性および審美的魅力の向上を伴う自動車用サンバイザが開示される。
【解決手段】ヒンジ管212内に収納され、正確な回転移動および確実な位置決めを容易にする回転戻り止め機構402を有するフレームを含む。フレームは、2つの熱溶着プラスチックフレーム半体から構成され、発泡ポリプロピレン層の必要性を排除し、厚みを低減する。サンバイザ102は、ゴリラガラスまたはポリカーボネートなどの先進材料で作製された一体型ミラーと、照明用のLEDランプ524とを特徴とする。回転戻り止め機構402は、サンバイザ102が格納位置に到達したときに触覚フィードバックのためのクリック動作を提供する戻り止め棒、戻り止めばねおよび戻り止めサブフレームを備える。サンバイザの設計により、格納位置と作動位置との間の軸方向調整および枢動が可能となり、車両内の安全性および快適性に寄与する。
【選択図】図5
特許請求の範囲
【請求項1】
自動車用サンバイザであって、
車両のフロントガラスに隣接して設置されるように構成されたフレームと、
前記自動車用サンバイザの確実な位置決めを容易にするための回転戻り止め機構であって、前記自動車用サンバイザのヒンジ管内に収納される、回転戻り止め機構と、
を備え、
前記回転戻り止め機構が、複数の戻り止めばねによって付勢されて前記自動車用サンバイザのスイング軸線を画定するエルボ管の平坦部分と係合する戻り止め棒を含み、前記エルボ管が、前記エルボ管上で前記自動車用サンバイザを回転可能かつ摺動可能に支持するように構成され、前記自動車用サンバイザの格納位置と作動位置との間の軸方向調整および枢動を可能にする、自動車用サンバイザ。
続きを表示(約 1,200 文字)
【請求項2】
前記フレームが、耐久性のあるプラスチック材料の2つのフレーム半体を備え、前記2つのフレーム半体が、互いに熱溶着されて一体化構造を形成する、請求項1に記載の自動車用サンバイザ。
【請求項3】
前記2つのフレーム半体の前記耐久性のあるプラスチック材料が、ポリプロピレンおよびガラス繊維材料を含む、請求項2に記載の自動車用サンバイザ。
【請求項4】
前記ヒンジ管が、0.3~0.6ミリメートルの範囲の壁厚を有する押出アルミニウム要素を含む、請求項1に記載の自動車用サンバイザ。
【請求項5】
前記フレームに一体化されたミラーをさらに備え、前記ミラーがゴリラガラスおよびポリカーボネートを含む群から選択される材料を含み、0.5~1ミリメートルの範囲のミラー厚さを有する、請求項1に記載の自動車用サンバイザ。
【請求項6】
前記フレームに一体化され、前記自動車用サンバイザが前記作動位置にあるときに照明を提供するように構成されたLEDランプをさらに備える、請求項1に記載の自動車用サンバイザ。
【請求項7】
前記回転戻り止め機構が、戻り止めサブフレームと、戻り止めばね支持体と、前記複数の戻り止めばねと、前記戻り止め棒と、戻り止めカバーとを含み、前記戻り止め棒が、前記戻り止めカバー内で移動可能であり、且つ、前記戻り止めサブフレームの案内レールによって案内される、請求項1に記載の自動車用サンバイザ。
【請求項8】
前記エルボ管が中空であり、前記自動車用サンバイザの電気部品用の1つまたは複数の電力ケーブルを収容するように構成される、請求項1に記載の自動車用サンバイザ。
【請求項9】
自動車用サンバイザの回転戻り止め機構であって、
前記自動車用サンバイザのヒンジ管内に収納されるように構成された戻り止めサブフレームと、
前記戻り止めサブフレームに設置された戻り止めばね支持体と、
前記戻り止めばね支持体に支持された複数の戻り止めばねと、
前記複数の戻り止めばねによって付勢されてエルボ管の平坦部分と係合する戻り止め棒であって、前記エルボ管が、前記自動車用サンバイザのスイング軸線を画定し、前記戻り止め棒と相互作用して、前記自動車用サンバイザが所望の位置に到達したことを示すクリック動作を提供するカム縁部を含む、戻り止め棒と、
前記戻り止めばね支持体と、前記複数の戻り止めばねと、前記戻り止め棒とを収容し、前記ヒンジ管の内壁に支持される、戻り止めカバーと、
を備える、回転戻り止め機構。
【請求項10】
前記戻り止め棒が、前記エルボ管の前記平坦部分との領域的係合面を提供する平棒構成体であり、または前記平棒構成体を含み、前記複数の戻り止めばねが、前記戻り止め棒の長さに沿って分布して、前記戻り止め棒上にばね荷重を分散させる、請求項9に記載の回転戻り止め機構。
(【請求項11】以降は省略されています)
発明の詳細な説明
【背景技術】
【0001】
サンバイザは車両内部の不可欠な構成要素となっており、運転者および乗客の目を太陽のグレアから保護する主な機能を果たす。このグレアは運転者の視界を損ない、不快感および潜在的に危険な運転状態につながる可能性があるため、重大な危険となり得る。サンバイザの設計および機能は、審美的な好み、安全規制および人間工学的な考慮事項を含む様々な必要性を満たすために経時的に進化してきた。
続きを表示(約 1,700 文字)
【0002】
従来より、サンバイザは、フロントウインドウまたはサイドウインドウからの太陽光を遮断するために、上下に反転または回転させることができる平面パネルとして設計されてきた。サンバイザは、典型的には、フロントガラス上方の、この動きを可能にする回り継手に設置される。サンバイザの構造に用いられる材料は様々であり、初期モデルは、車両の内部設計をあまり考慮せずに基本的な機能を提供する、単純で剛性の材料から作製されることが多かった。
【0003】
自動車設計が進歩するにつれて、車両の全体的な審美性にサンバイザを統合させることがより重要になってきている。設計者は、意図された機能を果たすだけでなく、車両内部の残りの部分とシームレスに調和するサンバイザを作り出すことを試みてきた。このことは、より高級でまとまりのある外観に寄与できる様々な材料および形状の探求につながった。
【0004】
運転者の視界の妨害を最小限に抑えつつ十分な視認性を提供するという課題は、サンバイザ設計において継続的な関心事項である。サンバイザの大きさおよび形状は、サンバイザ自体が視覚的障害となることなく太陽光を確実に効果的に遮断できるようにするために慎重に考慮されなければならない。このバランスは、安全基準を維持しながら、車両の乗員に快適性および利便性も提供するために重要である。
【0005】
サンバイザの設計における別の考慮事項は、車両の内部空間に対する影響である。車両がより小型になるにつれて、頭上空間を最大化し、開放的で風通しのよい車室を維持する必要性が高まってきた。このことは、サンバイザの厚さおよび外形を縮小し、必要な日除け機能を依然として提供しながらサンバイザの干渉を少なくする努力につながっている。
【0006】
サンバイザの開発において、耐久性および使いやすさも重要な要素である。運転者が光の状態の変化に反応するとき、サンバイザは、しばしば迅速に、時には強制的な動きで頻繁に取り扱われ、調整される。したがって、サンバイザの移動および位置決めを可能にする機構は、堅牢で、車両の寿命にわたって繰り返し使用に耐えることができなければならない。
【0007】
主な機能に加えて、サンバイザはまた、車両乗員の利便性のために追加の特徴を含むように適合されている。サンバイザは、典型的には開閉可能なカバーを有するミラーと、視認性を助けるための照明とを含む。これらの追加の構成要素がサンバイザの機能性または耐久性を確実に損なわないようにするために、これらの特徴を組み込むことには追加の工学技術が必要とされてきた。
【0008】
全体として、サンバイザ設計の分野は、機能性と審美性、利便性と耐久性、ならびに省スペースおよびコストの考慮事項と安全要件とのバランスをとる必要性によって推進されてきた。サンバイザの進化は、あらゆる構成要素が車両の性能、快適性および魅力に寄与しようとする、自動車設計における広範な傾向を反映している。
【発明の概要】
【0009】
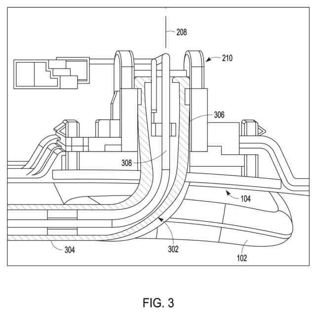
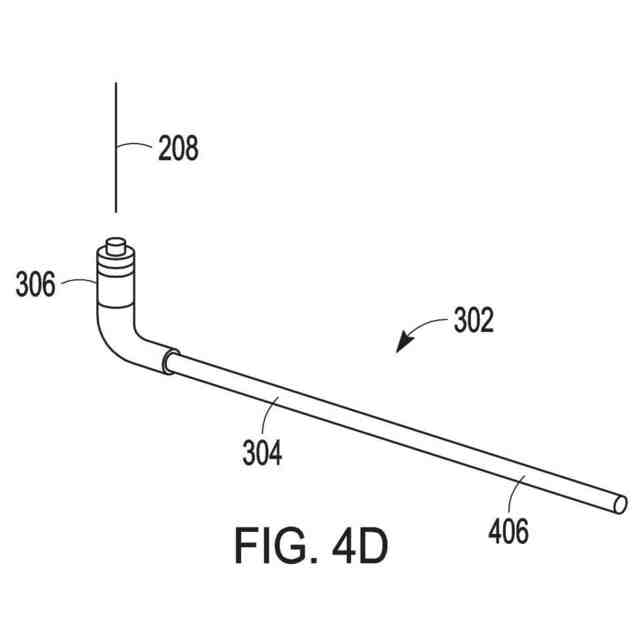
本明細書のいくつかの例は、乗員に効果的な太陽光防眩性を提供しながら、車両内部の機能性および審美的魅力を高めるように設計された自動車用サンバイザに関する。いくつかの例は、サンバイザの正確な回転移動と確実な位置決めとを容易にしようとする回転戻り止め機構を内蔵し、サンバイザが太陽光を遮断するために所望の向きに確実に固定され続けるようにする。
【0010】
いくつかの例では、戻り止め機構にポリオキシメチレン、ミラー構成要素にゴリラガラスまたはポリカーボネートの選択肢を含む、先進材料を使用することによって、サンバイザの厚さおよび重量の大幅な低減が達成される。サンバイザのヒンジ設計は、滑らかな外形および車両の天井材(ヘッドライナ)との同一平面での連結に寄与する押出アルミニウム管を含む。
(【0011】以降は省略されています)
この特許をJ-PlatPat(特許庁公式サイト)で参照する
関連特許
個人
上部一体型自動車
1か月前
個人
空間形成装置
11日前
日本精機株式会社
照明装置
6日前
個人
常設収納型サンバイザー
17日前
株式会社豊田自動織機
産業車両
6日前
個人
回転窓ワイパー装置
11日前
日本精機株式会社
車載表示装置
12日前
日本精機株式会社
車載表示装置
14日前
日本精機株式会社
画像投映装置
1か月前
日本精機株式会社
車載表示装置
19日前
株式会社SUBARU
車両
1か月前
個人
音による速度計とプログラム
17日前
日本精機株式会社
車両用投射装置
1か月前
日本精機株式会社
車両用報知装置
18日前
日本精機株式会社
車両用表示装置
1か月前
日本化薬株式会社
ガス発生器
4日前
日本化薬株式会社
ガス発生器
1か月前
日産自動車株式会社
伝動部材
1か月前
日本化薬株式会社
ガス発生器
1か月前
豊田合成株式会社
乗員保護装置
1か月前
トヨタ自動車株式会社
電動車両
1か月前
トヨタ自動車株式会社
制御装置
1か月前
株式会社ヨコオ
車載装置
4日前
極東開発工業株式会社
タンク車
24日前
株式会社小糸製作所
車両用灯具
1か月前
和光工業株式会社
昇降装置
26日前
日本精機株式会社
鞍乗型車両用表示装置
3日前
トヨタ自動車株式会社
車両
1か月前
井関農機株式会社
作業車両
1か月前
マツダ株式会社
運転支援装置
1か月前
株式会社SUBARU
車体前部構造
18日前
マツダ株式会社
運転支援装置
1か月前
株式会社クボタ
作業車
24日前
株式会社ジェイテクト
車高調製装置
24日前
日産自動車株式会社
電動車両
6日前
林テレンプ株式会社
蓋付器具
14日前
続きを見る
他の特許を見る