TOP
|
特許
|
意匠
|
商標
特許ウォッチ
Twitter
他の特許を見る
10個以上の画像は省略されています。
公開番号
2025167913
公報種別
公開特許公報(A)
公開日
2025-11-07
出願番号
2024072930
出願日
2024-04-26
発明の名称
プログラム、情報処理装置、情報処理装置の制御方法
出願人
キヤノン株式会社
代理人
弁理士法人大塚国際特許事務所
主分類
G06F
3/12 20060101AFI20251030BHJP(計算;計数)
要約
【課題】ホストOSとして動作するOS上であり且つゲストOS上である動作環境で動作可能なプログラムの利便性を向上させること。
【解決手段】情報処理装置のコンピュータを、プログラムの動作環境が、ホストOSとして動作する第1のOS上だがゲストOS上ではない第1の動作環境である場合に、情報処理装置が、情報処理装置の外部であり且つサーバと異なる通信装置が形成するネットワークに属した状態か否かの判定を実行せず、ホストOSとして動作する第2のOS上であり且つゲストOS上である第2の動作環境である場合に、判定を実行するよう処理を切り替える切り替え手段、第1の動作環境である場合には、オペレーティングシステム(OS)を介して情報処理装置の外部のサーバとの通信を行うよう制御し、第2の動作環境である場合で且つネットワークに属した状態であると判定された場合には、通信を行わないように制御手段、として機能させる。
【選択図】 図4
特許請求の範囲
【請求項1】
情報処理装置のオペレーティングシステム(OS)上で動作可能なプログラムであって、
前記情報処理装置のコンピュータを、
前記OSを介して前記情報処理装置の外部のサーバとの通信を実行する通信実行手段、
前記情報処理装置が、前記情報処理装置の外部であり且つ前記サーバと異なる通信装置が形成するネットワークに属した状態か否かを判定するネットワーク判定手段、
前記プログラムの動作環境が、ホストOSとして動作する第1のOS上だがゲストOS上ではない第1の動作環境である場合に、前記ネットワーク判定手段により判定を実行せず、ホストOSとして動作する第2のOS上であり且つゲストOS上である第2の動作環境である場合に、前記ネットワーク判定手段による判定を実行するよう処理を切り替える切替え手段、
前記第1の動作環境である場合には、前記通信を行うよう前記通信実行手段を制御し、前記第2の動作環境である場合で且つ前記ネットワークに属した状態であると判定された場合には、前記通信を行わないように前記通信実行手段を制御する制御手段、として機能させる、
ことを特徴とするプログラム。
続きを表示(約 1,400 文字)
【請求項2】
前記プログラムの動作環境が、前記第1の動作環境と、前記第2の動作環境とのいずれであるかを判定する環境判定手段、として前記コンピュータをさらに機能させ、
前記切り替え手段は、
前記環境判定手段の判定結果によって、前記処理を切り替える、
ことを特徴とする請求項1に記載のプログラム。
【請求項3】
前記第2の動作環境である場合、前記情報処理装置の第1のIPアドレスを取得する第1取得手段、として前記コンピュータをさらに機能させ、
前記ネットワーク判定手段は、前記第1取得手段により取得された前記第1のIPアドレスを用いて、前記情報処理装置が、前記ネットワークに属した状態か否かを判定する、
ことを特徴とする請求項1に記載のプログラム。
【請求項4】
前記第2の動作環境である場合、前記情報処理装置が属しているネットワークを形成し、かつアクセスポイントとして動作する前記通信装置と異なる外部装置の第2のIPアドレスを取得する第2取得手段、として前記コンピュータをさらに機能させ、
前記ネットワーク判定手段は、前記第2取得手段により取得された前記第2のIPアドレスを用いて、前記情報処理装置が、前記ネットワークに属した状態か否かを判定する、
ことを特徴とする請求項1に記載のプログラム。
【請求項5】
前記通信実行手段により前記通信が実行された場合に、前記通信でエラーが生じたか否かを判定するエラー判定手段、として前記コンピュータをさらに機能させる、
ことを特徴とする請求項1に記載のプログラム。
【請求項6】
前記通信は、
前記サーバからファイルをダウンロードするための通信である、
ことを特徴とする請求項1に記載のプログラム。
【請求項7】
前記通信によりダウンロードされた前記ファイルに基づいて所定の画面を表示する表示手段、として前記コンピュータをさらに機能させる、
ことを特徴とする請求項6に記載のプログラム。
【請求項8】
前記ファイルは、
ユーザの個人情報の取り扱いの方針に関する情報を含み、
前記所定の画面は、
前記方針への同意を前記ユーザに求めるための画面である、
ことを特徴とする請求項7に記載のプログラム。
【請求項9】
前記制御手段により前記通信を行わないように前記通信実行手段が制御された場合、前記通信装置に関する情報が前記プログラムに登録されているか否かを判定する登録判定手段、として前記コンピュータをさらに機能させ、
前記登録判定手段により前記情報が前記プログラムに登録されていると判定された場合に、前記情報に基づいて画面の表示を切り替える表示制御手段、として前記コンピュータさらに機能させる、
ことを特徴とする請求項1に記載のプログラム。
【請求項10】
前記登録判定手段により前記情報が前記プログラムに登録されていないと判定された場合に、前記情報を前記プログラムに登録する登録手段、として前記コンピュータをさらに機能させる、
ことを特徴とする請求項9に記載のプログラム。
(【請求項11】以降は省略されています)
発明の詳細な説明
【技術分野】
【0001】
本発明は、プログラム、情報処理装置、情報処理装置の制御方法に関する。
続きを表示(約 2,000 文字)
【背景技術】
【0002】
特許文献1には、画像処理装置OS(ホストOS)とシンクライアントOS(ゲストOS)の各OSで動作する2台の仮想的なコンピュータがメモリ上に形成される形態が記載されている。
【先行技術文献】
【特許文献】
【0003】
特開2009-049679号公報
【発明の概要】
【発明が解決しようとする課題】
【0004】
ところで、ホストOSとして動作するOS上であり且つゲストOS上である動作環境が普及するにつれて、当該動作環境で動作可能なプログラムの利便性を向上させることが要望されている。
【0005】
本発明は、ホストOSとして動作するOS上であり且つゲストOS上である動作環境で動作可能なプログラムの利便性を向上させることを目的とする。
【課題を解決するための手段】
【0006】
上記目的を達成するために、本発明によれば、情報処理装置のオペレーティングシステム(OS)上で動作可能なプログラムであって、前記情報処理装置のコンピュータを、前記OSを介して前記情報処理装置の外部のサーバとの通信を実行する通信実行手段、前記情報処理装置が、前記情報処理装置の外部であり且つ前記サーバと異なる通信装置が形成するネットワークに属した状態か否かを判定するネットワーク判定手段、前記プログラムの動作環境が、ホストOSとして動作する第1のOS上だがゲストOS上ではない第1の動作環境である場合に、前記ネットワーク判定手段により判定を実行せず、ホストOSとして動作する第2のOS上であり且つゲストOS上である第2の動作環境である場合に、前記ネットワーク判定手段による判定を実行するよう処理を切り替える切替え手段、前記第1の動作環境である場合には、前記通信を行うよう前記通信実行手段を制御し、前記第2の動作環境である場合で且つ前記ネットワークに属した状態であると判定された場合には、前記通信を行わないように前記通信実行手段を制御する制御手段、として機能させる、プログラムが提供される。
【発明の効果】
【0007】
本発明によれば、ホストOSとして動作するOS上であり且つゲストOS上である動作環境で動作可能なプログラムの利便性を向上させることができる。
【図面の簡単な説明】
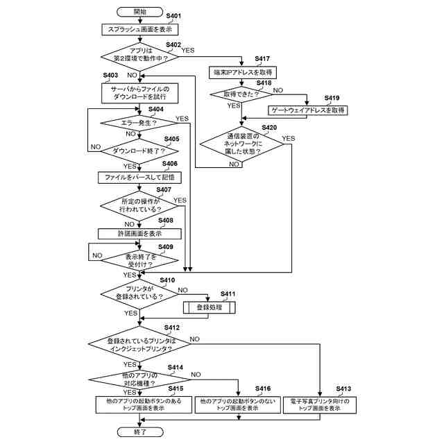
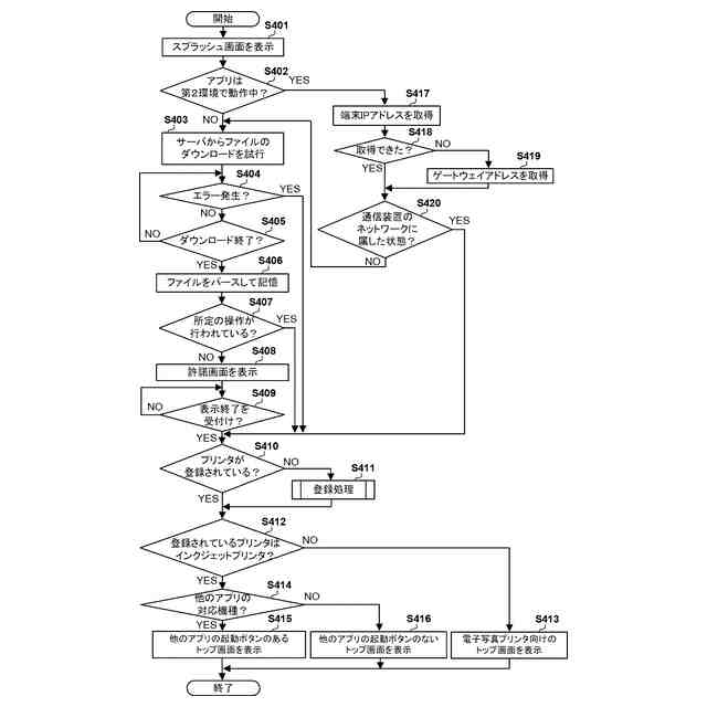
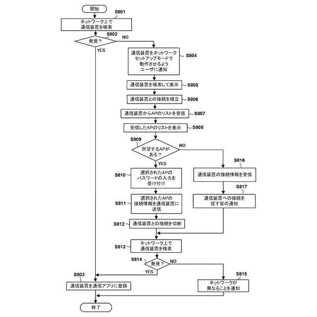
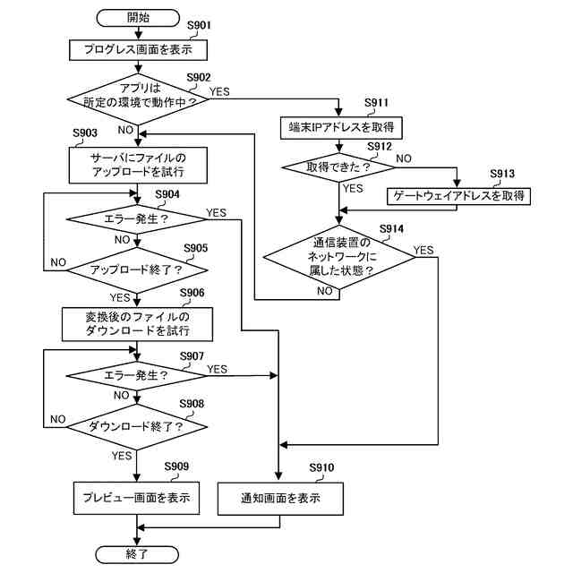
【0008】
通信システムの構成例を示す図である。
情報処理装置のソフトウェア構成を示す図である。
通信システムの構成例を示す図である。
通信アプリにより実行される処理を示すフローチャートである。
通信アプリにより表示される画面を示す図である。
通信アプリにより表示される画面を示す図である。
通信アプリにより表示される画面を示す図である。
通信アプリにより実行される処理を示すフローチャートである。
通信アプリにより実行される処理を示すフローチャートである。
通信アプリにより表示される画面を示す図である。
通信アプリにより表示される画面を示す図である。
【発明を実施するための形態】
【0009】
以下、添付図面を参照して実施形態を詳しく説明する。なお、以下の実施形態は特許請求の範囲に係る発明を限定するものではない。実施形態には複数の特徴が記載されているが、これらの複数の特徴の全てが発明に必須のものとは限らず、また、複数の特徴は任意に組み合わせられてもよい。さらに、添付図面においては、同一若しくは同様の構成に同一の参照番号を付し、重複した説明は省略する。
【0010】
[第1実施形態]
本実施形態の通信システムに含まれる情報処理装置及び通信装置について説明する。情報処理装置として、本実施形態ではスマートフォンを例示しているが、これに限定されず、携帯端末、ノートPC、タブレット端末、PDA(Personal Digital Assistant)、デジタルカメラ等、種々のものを適用可能である。また、通信装置として、情報処理装置と無線通信を行うことが可能な装置であれば、種々のものを適用可能である。例えば、プリンタであれば、インクジェットプリンタ、フルカラーレーザービームプリンタ、モノクロプリンタ等に適用することができる。また、プリンタのみならずスキャナ、複写機、ファクシミリ装置、携帯端末、スマートフォン、ノートPC、タブレット端末、PDA、デジタルカメラ、音楽再生デバイス、テレビ、スマートスピーカ等にも適用可能である。その他、複写機能、FAX機能、印刷機能、スキャナ機能等の複数の機能を備える複合機にも適用可能である。本実施形態では通信装置は、印刷機能、スキャナ機能等を有するマルチファンクションプリンタであるものとする。
(【0011】以降は省略されています)
この特許をJ-PlatPat(特許庁公式サイト)で参照する
関連特許
キヤノン株式会社
容器
1か月前
キヤノン株式会社
容器
1か月前
キヤノン株式会社
トナー
1か月前
キヤノン株式会社
トナー
1か月前
キヤノン株式会社
表示装置
11日前
キヤノン株式会社
表示装置
11日前
キヤノン株式会社
撮像装置
4日前
キヤノン株式会社
定着装置
25日前
キヤノン株式会社
撮像装置
4日前
キヤノン株式会社
撮像装置
4日前
キヤノン株式会社
二次電池
6日前
キヤノン株式会社
測距装置
1か月前
キヤノン株式会社
撮像装置
19日前
キヤノン株式会社
電子機器
4日前
キヤノン株式会社
定着装置
19日前
キヤノン株式会社
電子機器
1か月前
キヤノン株式会社
現像装置
2か月前
キヤノン株式会社
撮像装置
19日前
キヤノン株式会社
記録装置
25日前
キヤノン株式会社
記録装置
1か月前
キヤノン株式会社
定着装置
25日前
キヤノン株式会社
発光装置
11日前
キヤノン株式会社
表示装置
1か月前
キヤノン株式会社
定着装置
25日前
キヤノン株式会社
表示装置
4日前
キヤノン株式会社
撮像装置
4日前
キヤノン株式会社
撮像装置
4日前
キヤノン株式会社
撮像装置
1か月前
キヤノン株式会社
撮像装置
11日前
キヤノン株式会社
撮像装置
1か月前
キヤノン株式会社
現像容器
2か月前
キヤノン株式会社
表示装置
11日前
キヤノン株式会社
記録装置
1か月前
キヤノン株式会社
電子機器
27日前
キヤノン株式会社
撮像装置
1か月前
キヤノン株式会社
撮像装置
1か月前
続きを見る
他の特許を見る