TOP
|
特許
|
意匠
|
商標
特許ウォッチ
Twitter
他の特許を見る
公開番号
2025167908
公報種別
公開特許公報(A)
公開日
2025-11-07
出願番号
2024072925
出願日
2024-04-26
発明の名称
液体格納装置及び液体攪拌装置、制御方法
出願人
キヤノン株式会社
代理人
弁理士法人大塚国際特許事務所
主分類
B41J
2/17 20060101AFI20251030BHJP(印刷;線画機;タイプライター;スタンプ)
要約
【課題】液体の攪拌部を備える液体格納装置の利便性をより高めるための技術を提供すること。
【解決手段】液体を収容する収容手段と、前記収容手段を回動する駆動手段と、を含む攪拌部と、開閉部材によって開閉され、前記攪拌部を格納する格納部と、を備え、前記開閉部材の状態に関する停止条件が成立した場合に、前記駆動手段による前記収容手段の回動が停止される、液体格納装置。
【選択図】図35
特許請求の範囲
【請求項1】
液体を収容する収容手段と、前記収容手段を回動する駆動手段と、を含む攪拌部と、
開閉部材によって開閉され、前記攪拌部を格納する格納部と、
を備え、
前記開閉部材の状態に関する停止条件が成立した場合に、前記駆動手段による前記収容手段の回動が停止される、
ことを特徴とする液体格納装置。
続きを表示(約 1,300 文字)
【請求項2】
前記開閉部材の開閉状態を検知する第1の検知手段を備え、
前記停止条件は、
前記第1の検知手段により検知された前記開閉状態が、開状態である、
ことを特徴とする請求項1に記載の液体格納装置。
【請求項3】
前記停止条件の成立により前記収容手段の回動が停止された後、前記開閉部材の状態に関する再開条件が成立した場合に、前記駆動手段による前記収容手段の回動が再開され、
前記再開条件は、
前記第1の検知手段により検知された前記開閉状態が閉状態であることを含む、
ことを特徴とする請求項2に記載の液体格納装置。
【請求項4】
前記収容手段は、
前記液体の収容器を収容する収容部材と、
前記収容器を前記収容部材から出し入れする開口部と、を備え、
前記開閉部材は、
閉状態において、前記開口部を塞ぐように配置されている、
ことを特徴とする請求項1に記載の液体格納装置。
【請求項5】
前記収容器は、トレイに載置された状態で前記収容部材に収容され、
前記収容器は、前記トレイに載置された状態で前記開口部を介して出し入れされる、
ことを特徴とする請求項4に記載の液体格納装置。
【請求項6】
前記開閉部材の状態に関する停止条件が成立した場合に、前記トレイが水平姿勢となるように前記収容手段の回動が停止される、
ことを特徴とする請求項5に記載の液体格納装置。
【請求項7】
前記収容手段は、
前記トレイを前記開口部にロックするトレイロック機構を備える、
ことを特徴とする請求項5に記載の液体格納装置。
【請求項8】
前記トレイロック機構による前記トレイのロック状態と解除状態とを検知する第2の検知手段と、
前記収容手段から延設され、該収容手段から排出される液体の流路を形成するチューブと、
前記チューブの開通と閉塞とを切り替え可能な流路弁と、を備え、
前記第2の検知手段により前記解除状態が検知された場合に、前記流路弁は、前記チューブを閉塞する、
ことを特徴とする請求項7に記載の液体格納装置。
【請求項9】
前記停止条件が成立し、前記駆動手段による前記収容手段の回動が停止された後、前記第1の検知手段により前記開閉部材が閉状態であることを所定の時間内に検知されなかった場合に、警告を通知する通知手段を備える、
ことを特徴とする請求項2に記載の液体格納装置。
【請求項10】
前記開閉部材を、閉状態でロックする閉ロック機構と、
前記閉ロック機構による前記開閉部材のロックの解除操作を受付ける操作手段と、を備え、
前記停止条件は、
前記操作手段が、前記解除操作を受け付けたことである、
ことを特徴とする請求項1に記載の液体格納装置。
(【請求項11】以降は省略されています)
発明の詳細な説明
【技術分野】
【0001】
本発明は液体格納装置、液体攪拌装置、制御方法に関する。
続きを表示(約 1,900 文字)
【背景技術】
【0002】
沈降性を有する物質を含む液体は、使用に際して攪拌し、沈殿物を分散させる必要がある場合がある。例えば、液体インクを記録媒体に吐出して記録を行う記録装置では、顔料インクやメタリックインクといったインクを使用する場合、沈殿物を分散させるためにその攪拌が必要となる場合がある。特許文献1及び2には、インクの収容部を回動させることでインクを攪拌する装置が開示されている。
【先行技術文献】
【特許文献】
【0003】
特開平5-338195号公報
特許第6567186号公報
【発明の概要】
【発明が解決しようとする課題】
【0004】
しかし、液体攪拌機構を備える液体格納装置の利便性を高めることが求められている。
【0005】
本発明は、液体の攪拌部を備える液体格納装置の利便性を高めるための技術を提供するものである。
【課題を解決するための手段】
【0006】
本発明によれば、
液体を収容する収容手段と、前記収容手段を回動する駆動手段と、を含む攪拌部と、
開閉部材によって開閉され、前記攪拌部を格納する格納部と、
を備え、
前記開閉部材の状態に関する停止条件が成立した場合に、前記駆動手段による前記収容手段の回動が停止される、
ことを特徴とする液体格納装置。
【発明の効果】
【0007】
本発明は、液体の攪拌部を備える液体格納装置の利便性をより高めるための技術を提供することができる。
【図面の簡単な説明】
【0008】
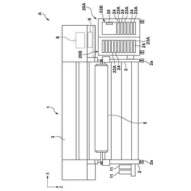
本発明の一実施形態に係るシステムの斜視図。
図1のシステムの正面図。
液体吐出装置の内部構造の説明図。
格納部の正面図。
液体収容器と容器支持ユニットの斜視図。
格納部に対する容器支持ユニットの装着態様を示す説明図。
ハンドルの動作説明図。
液体攪拌装置の斜視図。
液体攪拌装置の斜視図。
収容空間の正面図。
容器支持ユニットの収容態様を示す図。
液体攪拌装置の正面図。
液体攪拌装置の後部の斜視図。
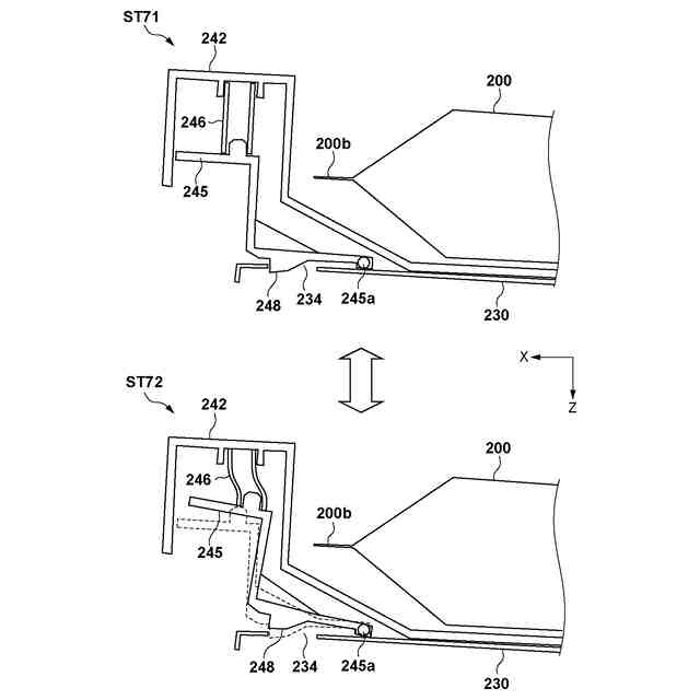
攪拌動作の例を示す図。
回動規制ユニットの説明図。
回動規制態様を示す図。
回動規制態様を示す図。
位置検知動作の説明図。
流路形成部材及び弁ユニットの説明図。
回動時の流路形成部材の姿勢の変化の例を示す図。
可動側及び固定側のチューブ固定部材の配置の説明図。
保持部材の説明図。
回動時のチューブ等の形態の変化の例を示す図。
図1のシステムの制御回路のブロック図。
制御例の説明図。
制御例の説明図。
別の例の説明図。
別の例の説明図。
別の例の説明図。
別の例の説明図。
別の例の説明図。
別の例の説明図。
別の例の説明図。
別の例の説明図。
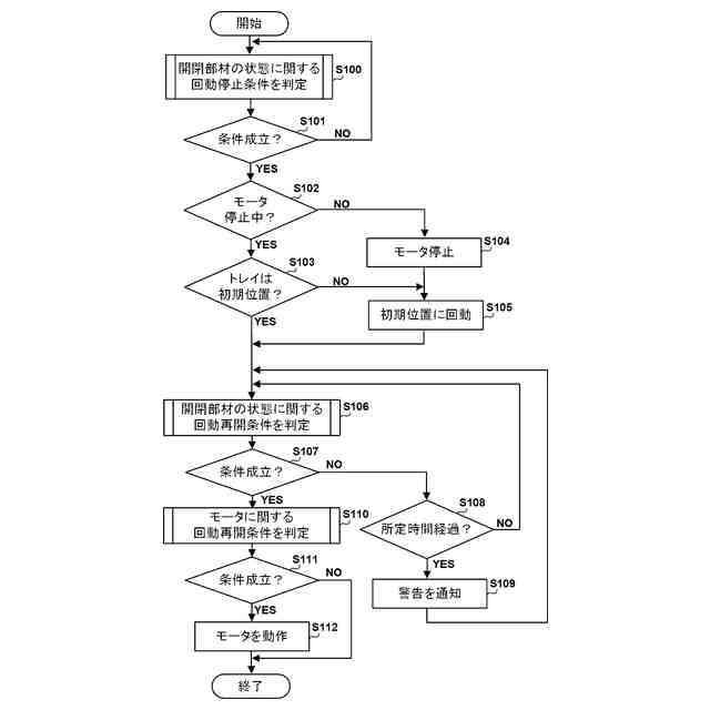
制御ユニットの処理例を示すフローチャート。
制御ユニットの処理例を示すフローチャート。
別の例の説明図。
別の例の説明図。
別の例の説明図。
制御ユニットの処理例を示すフローチャート。
制御ユニットの処理例を示すフローチャート。
制御ユニットの処理例を示すフローチャート。
【発明を実施するための形態】
【0009】
以下、添付図面を参照して実施形態を詳しく説明する。尚、以下の実施形態は特許請求の範囲に係る発明を限定するものではない。実施形態には複数の特徴が記載されているが、これらの複数の特徴の全てが発明に必須のものとは限らず、また、複数の特徴は任意に組み合わせられてもよい。さらに、添付図面においては、同一若しくは同様の構成に同一の参照番号を付し、重複した説明は省略する。
【0010】
<第一実施形態>
図1は本発明の一実施形態に係るシステムAの斜視図、図2はシステムAの正面図である。各図において、矢印X、Y、Zは互いに交差する方向を示し、本実施形態の場合、直交している。システムAを水平な面に設置した場合の左右方向をX方向、前後方向をY方向、上下方向をZ方向とする。X方向及びY方向は横方向とも呼ぶことができる。
(【0011】以降は省略されています)
この特許をJ-PlatPat(特許庁公式サイト)で参照する
関連特許
キヤノン株式会社
容器
1か月前
キヤノン株式会社
トナー
1か月前
キヤノン株式会社
定着装置
25日前
キヤノン株式会社
二次電池
6日前
キヤノン株式会社
発光装置
11日前
キヤノン株式会社
記録装置
1か月前
キヤノン株式会社
定着装置
19日前
キヤノン株式会社
電子機器
1か月前
キヤノン株式会社
記録装置
1か月前
キヤノン株式会社
電子機器
1か月前
キヤノン株式会社
撮像装置
4日前
キヤノン株式会社
雲台装置
1か月前
キヤノン株式会社
撮像装置
1か月前
キヤノン株式会社
撮像装置
1か月前
キヤノン株式会社
撮像装置
19日前
キヤノン株式会社
定着装置
25日前
キヤノン株式会社
表示装置
4日前
キヤノン株式会社
撮像装置
4日前
キヤノン株式会社
撮像装置
4日前
キヤノン株式会社
電子機器
27日前
キヤノン株式会社
定着装置
25日前
キヤノン株式会社
撮像装置
27日前
キヤノン株式会社
記録装置
25日前
キヤノン株式会社
記録装置
5日前
キヤノン株式会社
記録装置
5日前
キヤノン株式会社
撮像装置
4日前
キヤノン株式会社
撮像装置
19日前
キヤノン株式会社
電子機器
4日前
キヤノン株式会社
撮像装置
4日前
キヤノン株式会社
撮像装置
1か月前
キヤノン株式会社
測距装置
1か月前
キヤノン株式会社
電子機器
今日
キヤノン株式会社
表示装置
11日前
キヤノン株式会社
表示装置
11日前
キヤノン株式会社
定着装置
19日前
キヤノン株式会社
表示装置
1か月前
続きを見る
他の特許を見る