TOP
|
特許
|
意匠
|
商標
特許ウォッチ
Twitter
他の特許を見る
公開番号
2025167643
公報種別
公開特許公報(A)
公開日
2025-11-07
出願番号
2024072469
出願日
2024-04-26
発明の名称
Ge含有基板及びGe含有基板の製造方法
出願人
信越半導体株式会社
代理人
個人
,
個人
,
個人
主分類
H01L
21/20 20060101AFI20251030BHJP(基本的電気素子)
要約
【課題】
Si基板とGe含有層を有するGe含有基板であって、効率的に製造された良質なGe含有基板を提供することを目的とする。
【解決手段】
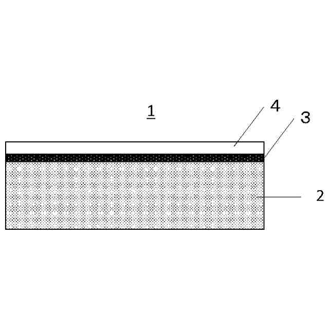
シリコン基板上の炭素がドープされたシリコンエピタキシャル層と、該シリコンエピタキシャル層上のSi
x
Ge
1-x
層(0≦x<1)とを有することを特徴とするGe含有基板。
【選択図】図1
特許請求の範囲
【請求項1】
シリコン基板上の炭素がドープされたシリコンエピタキシャル層と、該シリコンエピタキシャル層上のSi
x
Ge
1-x
層(0≦x<1)とを有することを特徴とするGe含有基板。
続きを表示(約 960 文字)
【請求項2】
前記シリコンエピタキシャル層の炭素濃度が1×10
20
~4×10
21
atoms/cm
3
であることを特徴とする請求項1に記載のGe含有基板。
【請求項3】
前記シリコンエピタキシャル層の炭素濃度が4×10
20
~8×10
20
atoms/cm
3
であることを特徴とする請求項1に記載のGe含有基板。
【請求項4】
前記Si
x
Ge
1-x
層がSiGe層であることを特徴とする請求項1から3のいずれか一項に記載のGe含有基板。
【請求項5】
前記Si
x
Ge
1-x
層がGe層であることを特徴とする請求項1から3のいずれか一項に記載のGe含有基板。
【請求項6】
シリコン基板上に炭素をドープしたシリコン層をエピタキシャル成長させ、前記炭素をドープしたシリコン層上にSi
x
Ge
1-x
層(0≦x<1)を成長させることを特徴とするGe含有基板の製造方法。
【請求項7】
前記炭素がドープされたシリコン層の炭素濃度を1×10
20
~4×10
21
atoms/cm
3
とすることを特徴とする請求項6に記載のGe含有基板の製造方法。
【請求項8】
前記炭素がドープされたシリコン層の炭素濃度を4×10
20
~8×10
20
atoms/cm
3
とすることを特徴とする請求項6に記載のGe含有基板の製造方法。
【請求項9】
前記炭素がドープされたシリコン層を700~900℃で前記エピタキシャル成長させることを特徴とする請求項6に記載のGe含有基板の製造方法。
【請求項10】
前記炭素がドープされたシリコン層を730~750℃で前記エピタキシャル成長させることを特徴とする請求項6に記載のGe含有基板の製造方法。
(【請求項11】以降は省略されています)
発明の詳細な説明
【技術分野】
【0001】
本発明は、Ge含有基板及びGe含有基板の製造方法に関する。
続きを表示(約 2,500 文字)
【背景技術】
【0002】
SiGeやGeは電子・光・RF等の各種デバイスで広く利用されている材料である。特にSiGeについては、最近では現在のロジックICに採用されているFin構造に代わり、次世代以降の半導体ではGAA(Gate All Around)や、さらにNMOSとCMOSを積層するCFET(Complementary Field Effect Transistor)が提案され、これらの製造工程においても重要な役割を担う材料である(非特許文献1)。
【先行技術文献】
【特許文献】
【0003】
特開2007-180285号公報
特開2004-363592号公報
【非特許文献】
【0004】
応用物理学会 半導体の結晶成長と加工および評価に関する産学連携委員会 第1回研究会 「半導体復権を支える結晶技術」
米永、「高品質SiGe結晶の育成と基礎物性の解明」、まてりあ、47(1)、3(2008)
佐藤、「ヘテロエピタキシーの基礎と課題 厳環境下IoT向け3C-SiC技術研究会第1回研究会」(2019)
Wong,L.H.“Strain relaxation in SiGe/Si heteroepitaxy.” Doctoral thesis,Nanyang Technological University,Singapore,(2007).
E.A.Fitgerald,et.al.,“Totally relaxed GexSi1-x layers with low threading dislocation densities grows on Si substrares”,App.Phys.Lett.,59,811(1991).
F.K.LeGeues,et.al.,“Mechanism and conditions for anomalous strain relaxation in graded thin films and superlattices”,App.Phys.Lett.,71,4230(1992).
T.Taniguchi,et.al.,Abst.of SAP Spring Meeting.,17a-F102-9(2018).
T.Taniguchi,et.al.,Abst.of JSAP Autum Meeting.,20p-234-10(2018).
【発明の概要】
【発明が解決しようとする課題】
【0005】
しかしながら、SiGeは平衡状態図において、液相線と固相線が大きく離れておりその分配係数が2から5と、1より大きく多結晶化しやすいことが知られており、単結晶が成長できても成長速度が遅く恒常的には難しいことが知られている材料である(非特許文献2)。
【0006】
そこで、半導体デバイス用にはSi基板上へSiGeを成長させることが行われ、仮想SiGe基板と呼ばれたりすることがある。このSiGe成長(ヘテロエピタキシャル)では、SiとGeの格子定数差をどのように緩和するかが重要である。Si結晶の格子定数は0.5431nm、Ge結晶の格子定数は0.56754nmであり、両者の間には約4.5%の違いがある。SiGeはこの格子定数の違いを緩和するために、SiGe混晶を使う。Geの組成比をxとすると、SiGe混晶の格子定数は「0.5431nm+x×0.02nm+xの2乗×0.0027nm」となる。例えばxを0.3と仮定すると、格子定数は0.5493nmとなり、格子不整合は0.14%とわずかで済む。この格子不整合が原因でその後に成長するエピタキシャル層に転位や欠陥が成長し、品質の劣化を招く。ところが、臨界膜厚が存在し、格子不整合が仮にあったとしてもこの臨界膜厚を超えなければ、欠陥が入らないとされている(非特許文献3)。
【0007】
そこで、この臨界膜厚を利用したバッファ層形成による中間層が各種提案されている。例えば、シリコン基板から所定のGe濃度のSiGe層までにGe濃度を変化させていくやり方があり、これは傾斜バッファ層と呼ばれる(非特許文献4、5、6)。また、超格子バッファ層と呼ばれる臨界膜厚以下の厚さの層を何層も重ねていくやり方も提案されている(非特許文献6、7、8)。
【0008】
このような手法以外にも、特許文献1には、SOI基板のSi層上に、減圧CVD装置を用いてSiGe層をエピタキシャル成長させて、クロスハッチ状の周期的表面凹凸を有しない歪みSiGe層を設け、前記歪みSiGe層を有するSiGe on SOI基板を熱酸化処理して、Ge濃度を増大させ、かつ歪みを緩和する歪み緩和SGOI基板の製造方法が記載されている。
【0009】
また、特許文献2には、Si含有基板にイオンを最初に注入し、注入リッチ領域は、高温でのアニールの間にGe拡散を妨げるバリア層が形成されるように充分なイオン濃度を有し、次に、Ge含有層は、Si含有基板の表面の上に形成され、その後、加熱工程が、バリア層の形成およびGeの相互拡散を可能にする温度で行われ、それによって、バリア層の上に十分に格子緩和された単結晶SiGe層を形成することによりSIMOXおよびGe相互拡散を用いて十分に格子緩和された高品質SiGeオン・インシュレータ基板材料を形成する方法が記載されている。
【0010】
このように種々の方法が検討されているが、特に特許文献1や2にあるような手法は貼り合わせ・剥離工程を前提としており、この工程での不良の発生が避けられず、また基板製造工程の増加は避けられない。
(【0011】以降は省略されています)
この特許をJ-PlatPat(特許庁公式サイト)で参照する
関連特許
信越半導体株式会社
SiGe基板の作製方法
1か月前
信越半導体株式会社
SiGe基板の製造方法
20日前
信越半導体株式会社
酸素原子層の酸素濃度の測定方法
1か月前
信越半導体株式会社
SiGe基板の作製方法及びSiGe基板
20日前
信越半導体株式会社
Ge含有基板及びGe含有基板の製造方法
25日前
信越半導体株式会社
SiGe基板の作製方法及びSiGe基板
28日前
信越半導体株式会社
シリコン単結晶ウェーハの空孔濃度の評価方法
26日前
信越半導体株式会社
エピタキシャル基板及びその製造方法並びに縦型デバイス基板の製造方法
1か月前
信越半導体株式会社
排気装置、シリコン単結晶製造装置、排気方法、及びシリコン単結晶の製造方法
5日前
東ソー株式会社
絶縁電線
1か月前
APB株式会社
蓄電セル
1か月前
ローム株式会社
半導体装置
1か月前
マクセル株式会社
電源装置
1か月前
株式会社東芝
端子台
1か月前
日新イオン機器株式会社
イオン源
1か月前
株式会社GSユアサ
蓄電装置
1か月前
富士電機株式会社
電磁接触器
12日前
三菱電機株式会社
回路遮断器
20日前
株式会社GSユアサ
蓄電装置
12日前
株式会社GSユアサ
蓄電装置
1か月前
株式会社GSユアサ
蓄電装置
26日前
株式会社GSユアサ
蓄電設備
1か月前
株式会社GSユアサ
蓄電設備
1か月前
太陽誘電株式会社
コイル部品
1か月前
株式会社ホロン
冷陰極電子源
1か月前
トヨタ自動車株式会社
バッテリ
1か月前
ホシデン株式会社
複合コネクタ
6日前
トヨタ自動車株式会社
蓄電装置
1か月前
日本特殊陶業株式会社
保持装置
1か月前
大電株式会社
電線又はケーブル
4日前
トヨタ自動車株式会社
冷却構造
1か月前
トヨタ自動車株式会社
蓄電装置
4日前
北道電設株式会社
配電具カバー
1か月前
日本特殊陶業株式会社
保持装置
25日前
日新イオン機器株式会社
基板処理装置
1か月前
ヒロセ電機株式会社
電気コネクタ
12日前
続きを見る
他の特許を見る