TOP
|
特許
|
意匠
|
商標
特許ウォッチ
Twitter
他の特許を見る
公開番号
2025173433
公報種別
公開特許公報(A)
公開日
2025-11-27
出願番号
2024079021
出願日
2024-05-14
発明の名称
排気装置、シリコン単結晶製造装置、排気方法、及びシリコン単結晶の製造方法
出願人
信越半導体株式会社
代理人
個人
,
個人
,
個人
主分類
C30B
29/06 20060101AFI20251119BHJP(結晶成長)
要約
【課題】
CZ法によるシリコン単結晶の引き上げにおいて、排気管内に生成される酸化ケイ素(SiOx)の堆積物を、排ガス管を開放することなく安全かつ連続的に除去する装置を提供することを目的とする。
【解決手段】
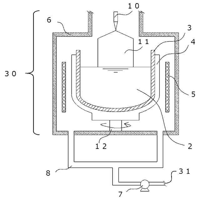
チャンバと、該チャンバ内の石英ルツボとを具備し、該石英ルツボに収容された原料融液からシリコン単結晶を引き上げるシリコン単結晶引上げ装置に接続される排気装置であって、該排気装置は、前記チャンバに接続され前記チャンバに導入された不活性ガスを排気するための排気管と、前記排気管に接続され、前記排気管内に堆積する堆積物を除去するための水を前記排気管に供給する給水装置と、前記排気管に接続され、前記排気管から排水された前記水を貯留し、前記水に含まれる前記堆積物を沈殿させて除去する貯留タンクとを具備するものであることを特徴とする排気装置。
【選択図】図1
特許請求の範囲
【請求項1】
チャンバと、該チャンバ内の石英ルツボとを具備し、該石英ルツボに収容された原料融液からシリコン単結晶を引き上げるシリコン単結晶引上げ装置に接続される排気装置であって、
該排気装置は、
前記チャンバに接続され前記チャンバに導入された不活性ガスを排気するための排気管と、
前記排気管に接続され、前記排気管内に堆積する堆積物を除去するための水を前記排気管に供給する給水装置と、
前記排気管に接続され、前記排気管から排水された前記水を貯留し、前記水に含まれる前記堆積物を沈殿させて除去する貯留タンクとを具備するものであることを特徴とする排気装置。
続きを表示(約 870 文字)
【請求項2】
前記貯留タンクは、底部がすり鉢形状であり、最底部に水抜き用バルブを具備するものであることを特徴とする請求項1に記載の排気装置。
【請求項3】
前記給水装置は前記貯留タンクに接続されており、前記貯留タンクから供給された上澄み水を前記排気管に循環して供給するものであることを特徴とする請求項1に記載の排気装置。
【請求項4】
前記給水装置は前記貯留タンクに接続されており、前記貯留タンクから供給された上澄み水を前記排気管に循環して供給するものであることを特徴とする請求項2に記載の排気装置。
【請求項5】
前記給水装置は前記排気管に水をミスト噴射により供給するものであることを特徴とする請求項1に記載の排気装置。
【請求項6】
前記シリコン単結晶引上げ装置と請求項1から5のいずれか一項に記載の排気装置とを具備することを特徴とするシリコン単結晶製造装置。
【請求項7】
チャンバと、該チャンバ内の石英ルツボとを具備し、該石英ルツボに収容された原料融液からシリコン単結晶を引き上げるシリコン単結晶引上げ装置に接続される排気装置を用いた排気方法であって、
該排気方法は、
前記排気装置として請求項1から5のいずれか一項に記載の排気装置を用い、
前記排気管に水を供給して前記排気管内に堆積する堆積物を除去し、
前記排気管から排水された前記水を貯留し、前記水に含まれる前記堆積物を沈殿させて除去することを特徴とする排気方法。
【請求項8】
前記貯留された水の上澄み水を前記排気管に循環して供給することを特徴とする請求項7に記載の排気方法。
【請求項9】
前記水の供給をミスト噴射により行うことを特徴とする請求項7に記載の排気方法。
【請求項10】
請求項6に記載のシリコン単結晶製造装置を用いてシリコン単結晶を製造することを特徴とするシリコン単結晶の製造方法。
発明の詳細な説明
【技術分野】
【0001】
本発明は、排気装置、シリコン単結晶製造装置、排気方法、及びシリコン単結晶の製造方法に関する。
続きを表示(約 1,300 文字)
【背景技術】
【0002】
半導体素子の製造に用いられるシリコン単結晶の製造方法として、黒鉛ルツボに内挿した石英ルツボ内のシリコン融液から単結晶を成長させるチョクラルスキー法(以下「CZ法」と記す)が広く実施されている。
【0003】
CZ法では、不活性ガス雰囲気下で、石英ルツボに充填したシリコン多結晶原料を円筒状の黒鉛ヒータで加熱溶融し、そのシリコン融液に種結晶を浸し石英ルツボ及び種結晶を回転させながら種結晶を引き上げることでシリコン単結晶を製造する。
【0004】
単結晶引き上げ時、石英ルツボ内面からシリコン溶融液中に酸素が溶け出し、これがシリコン溶融と反応して酸化ケイ素(SiOx)が生成され、溶融液表面から蒸発する。
【0005】
CZ法では溶融液表面より蒸発した酸化ケイ素が溶融液直上のチャンバ壁面等に析出し、溶融液面に落下すると単結晶成長を阻害する為、チャンバ内を真空ポンプで数千Paの低圧状態とし不活性ガスを流すことで、蒸発する酸化ケイ素を炉外に排出している。
【先行技術文献】
【特許文献】
【0006】
特開2001-097797号公報
【発明の概要】
【発明が解決しようとする課題】
【0007】
炉外に排出され、排ガス管(以下、「排気管」ともいう。複数のシリコン単結晶引上げ装置を1本の排ガス管に集約して接続した排ガス管は「排ガス集合配管」ともいう。)に到達した酸化ケイ素ガスは次第に冷却され、排ガス管内面に析出して堆積していく。この酸化ケイ素は十分な酸素が溶融液内や炉内に存在しない為、完全に酸化されずSiOxなどの不安定な酸化途中の状態で堆積していく。不安定な酸化途中のSiOxの形態で存在している為、空気の混入により急激に酸化が進み、局部的な小発火を起こす可能性があり危険である。
【0008】
CZ法はバッチプロセスの為、引き上げ終了時に装置を開放して残原料と石英ルツボを取り出し、炉内や排気用の排ガス管の内側に付着した酸化ケイ素を除去する必要がある。排ガス管の内側に付着した酸化ケイ素を吸引除去する際、局部的な小発火の可能性がある為、少量の空気を流し付着物の酸化を促進してから装置を開放している。
【0009】
前記の装置開放前の状態では一時的に排ガス集合配管に空気が導入される為、稀に局部的な小発火を起こし配管の一部を破損するという問題があった。破裂弁や圧抜き弁などの設置により配管の破損を回避する対策は採られているが、近年、単結晶の大重量化や溶融方法の改善に伴い堆積する酸化ケイ素の量が増大しており、局部的な小発火を起こす件数は増加傾向にあるという問題があった。
【0010】
また排ガス集合配管には各引き上げ機より排出された酸化ケイ素が大量に付着する為、定期的に排ガス集合配管を開放して洗浄、除去する必要があり、開放時の局部的な小発火の危険性が従来よりも増しているという問題がある。
(【0011】以降は省略されています)
この特許をJ-PlatPat(特許庁公式サイト)で参照する
関連特許
信越半導体株式会社
SiGe基板の製造方法
19日前
信越半導体株式会社
SiGe基板の作製方法及びSiGe基板
19日前
信越半導体株式会社
排気装置、シリコン単結晶製造装置、排気方法、及びシリコン単結晶の製造方法
4日前
株式会社CUSIC
SiC積層体の製造方法
5か月前
SECカーボン株式会社
結晶成長装置
7か月前
アムジエン・インコーポレーテツド
SLC30A8発現を阻害するためのRNAiコンストラクト及びその使用方法
1か月前
住友金属鉱山株式会社
結晶育成装置
3か月前
学校法人 東洋大学
マルチカラー結晶の結晶成長方法
6か月前
株式会社FLOSFIA
構造体および構造体の製造方法
3か月前
株式会社SUMCO
単結晶の製造方法
5か月前
富士電機株式会社
半導体装置及びその製造方法
11日前
信越化学工業株式会社
炭化金属被覆材料
5か月前
コマディール・エス アー
サファイア棒状体の製造方法
6か月前
セイコーエプソン株式会社
人工水晶製造装置
3か月前
株式会社C&A
処理装置および方法
6か月前
信越半導体株式会社
半導体ウェーハの製造方法
1か月前
日本碍子株式会社
AlN単結晶基板及びデバイス
2か月前
株式会社レゾナック
SiCエピタキシャルウェハ
6か月前
住友金属鉱山株式会社
圧電性酸化物単結晶基板の製造方法
6か月前
住友金属鉱山株式会社
圧電性酸化物単結晶基板の製造方法
5か月前
住友金属鉱山株式会社
単結晶の育成方法及びその装置
1か月前
住友電気工業株式会社
炭化珪素基板の製造方法
4か月前
旭化成株式会社
結晶の製造方法、六方晶系半導体結晶及び素子
6か月前
信越半導体株式会社
3C-SiC単結晶基板の評価方法
4か月前
住友化学株式会社
窒化物積層体の製造方法および窒化物積層体
4か月前
住友電気工業株式会社
炭化珪素基板の製造方法
4か月前
株式会社Kanazawa Diamond
ダイヤモンド
6か月前
株式会社SUMCO
単結晶シリコンインゴットの製造方法
5か月前
サイクリスタル ゲーエムベーハー
バルクSiC結晶の製造方法
2か月前
グローバルウェーハズ・ジャパン株式会社
半導体基板の製造方法
5か月前
三菱マテリアル電子化成株式会社
シリコンインゴット
1か月前
住友化学株式会社
窒化物結晶基板、および窒化物結晶基板の製造方法
5か月前
信越半導体株式会社
SiGe基板の作製方法及びSiGe基板
27日前
信越半導体株式会社
ヘテロエピタキシャルウェーハの製造方法
5か月前
住友化学株式会社
窒化物結晶基板の製造方法、および窒化物結晶基板
7か月前
学校法人 名城大学
結晶成長用基板の作製方法
3か月前
続きを見る
他の特許を見る