TOP
|
特許
|
意匠
|
商標
特許ウォッチ
Twitter
他の特許を見る
公開番号
2025167583
公報種別
公開特許公報(A)
公開日
2025-11-07
出願番号
2024072361
出願日
2024-04-26
発明の名称
車両充電システムおよび車両充電方法
出願人
中部電力株式会社
代理人
弁理士法人コスモス国際特許商標事務所
主分類
H02J
7/02 20160101AFI20251030BHJP(電力の発電,変換,配電)
要約
【課題】複数の車両のバッテリーを、効率良く充電できる車両充電システムおよび車両充電方法を提供すること。
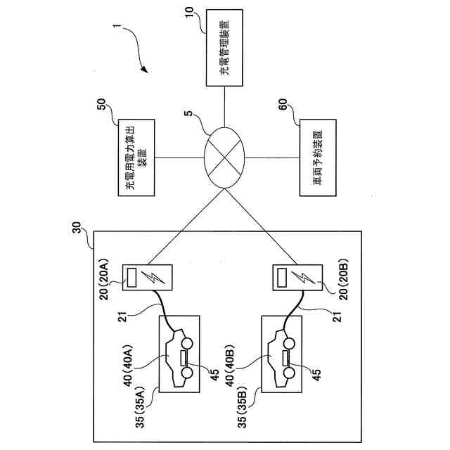
【解決手段】車両充電システム1は、複数の充電装置20と、充電装置20を制御可能な制御部110を備えている。充電装置20は、充電可能なバッテリー45を搭載した車両40の充電が可能である。制御部110は、複数の充電装置20ごとの車両40への充電を制御可能である。制御部110の優先度判定部111は、優先度判定処理により、充電可能状態の複数の車両40についてそれぞれ、充電の優先度を判定する優先度判定を実行する。そして、制御部110は、優先度判定にて優先度が高いと判定された車両40である高優先度車両を、高優先度車両と比べて優先度が低いと判定された車両40である低優先度車両よりも優先して充電する優先車両充電制御を行うことがある。
【選択図】図2
特許請求の範囲
【請求項1】
充電可能なバッテリーを搭載した車両の充電が可能な複数の充電装置と、
複数の前記充電装置ごとの車両への充電を制御可能な制御部と、
前記充電装置による充電が可能な状態である充電可能状態の複数の車両についてそれぞれ、充電の優先度を判定する優先度判定を行う優先度判定部と、を備え、
前記制御部は、
前記優先度判定にて優先度が高いと判定された車両である高優先度車両を、前記高優先度車両と比べて優先度が低いと判定された車両である低優先度車両よりも優先して充電する優先車両充電制御を行うことがある車両充電システム。
続きを表示(約 1,300 文字)
【請求項2】
請求項1に記載の車両充電システムであって、
前記優先度判定部は、
前記充電可能状態の各車両について、バッテリーに充電する理想充電量を算出し、
前記優先度判定では、算出した前記理想充電量をバッテリーに充電する充電期間を、今回の前記充電可能状態が継続する充電可能状態期間から差し引いた余裕期間が短い車両ほど、前記高優先度車両として判定しやすい車両充電システム。
【請求項3】
請求項2に記載の車両充電システムであって、
前記優先度判定部は、
前記充電可能状態である各車両について、
前回の前記充電可能状態が終了してから今回の前記充電可能状態となるまでの期間である前回使用期間におけるバッテリーの放電量を指標する前回放電量指標値、および、
今回の前記充電可能状態が終了後の期間である次回使用期間におけるバッテリーの放電量を指標する次回放電量指標値に基づいて、前記理想充電量を算出する車両充電システム。
【請求項4】
請求項3に記載の車両充電システムであって、
前記優先度判定部は、
前記前回放電量指標値として、前記前回使用期間について車両を使用することを予約した予約情報を用い、
前記次回放電量指標値として、前記次回使用期間について車両を使用することを予約した予約情報を用いる車両充電システム。
【請求項5】
請求項2に記載の車両充電システムであって、
各車両について、バッテリーの残電池容量を指標する残電池容量指標値を算出する残電池容量指標値算出部を備え、
前記残電池容量指標値算出部は、各車両の残電池容量指標値を、前回の前記充電可能状態が終了してから今回の前記充電可能状態となるまでの期間である前回使用期間に各車両について取得された複数の位置情報に基づいて算出し、
前記優先度判定部は、
前記充電可能状態である各車両について、残電池容量指標値に基づいて、前記理想充電量を算出する車両充電システム。
【請求項6】
請求項1から請求項5までのいずれかに記載の車両充電システムであって、
前記制御部は、
車両の充電に使用可能な上限の電力として予め定められた充電用上限電力が、前記充電可能状態である複数の車両について同時に充電した際に必要となる電力である総合充電電力以上の期間については、当該充電可能状態である複数の車両について同時に充電し、
前記充電用上限電力が、前記総合充電電力未満の期間については、前記優先車両充電制御を行うことがある車両充電システム。
【請求項7】
充電可能なバッテリーを搭載した車両の充電が可能な複数の充電装置による、前記充電装置ごとの車両への充電を制御可能な車両充電方法であって、
前記充電装置による充電が可能な状態である充電可能状態の複数の車両についてそれぞれ、充電の優先度を判定する優先度判定を行い、
前記優先度判定にて優先度が高いと判定された車両である高優先度車両を、前記高優先度車両と比べて優先度が低いと判定された車両である低優先度車両よりも優先して充電する優先車両充電制御を行うことがある車両充電方法。
発明の詳細な説明
【技術分野】
【0001】
本開示技術は、充電可能なバッテリーを搭載した車両の充電が可能な複数の充電装置による車両充電システムおよび車両充電方法に関する。
続きを表示(約 1,900 文字)
【背景技術】
【0002】
従来より、発電量に応じて、バッテリー搭載車両の充電を調整することが行われている。例えば、特許文献1には、所定の地域について、複数の電気自動車の将来における充電量を予測し、自然エネルギー発電に基づく電力の利用率を高めるように、電気自動車の充電スケジュールを作成する技術が記載されている。
【先行技術文献】
【特許文献】
【0003】
特開2016-134160号公報
【発明の概要】
【発明が解決しようとする課題】
【0004】
ところで、上記の従来技術は、所定の地域における自然エネルギー発電の利用率を高めるためのものであり、例えば、一つ以上の特定の駐車場や充電スポット等において個々の車両が使用される都合はそれほど考慮されていない。すなわち、複数の車両はいずれも、将来においても、過去における使用態様と同様の態様で使用されることを前提として充電量の予測が行われており、その充電量の予測値は、自然エネルギー発電の利用率を高めるために用いられている程度である。また、車両によっては、将来の使用態様が過去と同様であるとは限らない。このため、上記の従来技術では、例えば、個々の車両が使用される都合に応じて、効率的に充電できないという問題があった。
【0005】
本開示技術の課題とするところは、複数の車両のバッテリーを、効率良く充電できる車両充電システムおよび車両充電方法を提供することを目的とする。
【課題を解決するための手段】
【0006】
本開示技術の一態様は、充電可能なバッテリーを搭載した車両の充電が可能な複数の充電装置と、複数の充電装置ごとの車両への充電を制御可能な制御部と、充電装置による充電が可能な状態である充電可能状態の複数の車両についてそれぞれ、充電の優先度を判定する優先度判定を行う優先度判定部と、を備え、制御部は、優先度判定にて優先度が高いと判定された車両である高優先度車両を、高優先度車両と比べて優先度が低いと判定された車両である低優先度車両よりも優先して充電する優先車両充電制御を行うことがある車両充電システムである。
【0007】
この車両充電システムは、優先車両充電制御により、充電の優先度が高い車両を、優先度が低い車両よりも優先して充電することができる。よって、この車両充電システムは、複数の車両のバッテリーを、効率良く充電できる車両充電システムである。
【発明の効果】
【0008】
本開示技術によれば、複数の車両のバッテリーを、効率良く充電できる車両充電システムおよび車両充電方法が提供されている。
【図面の簡単な説明】
【0009】
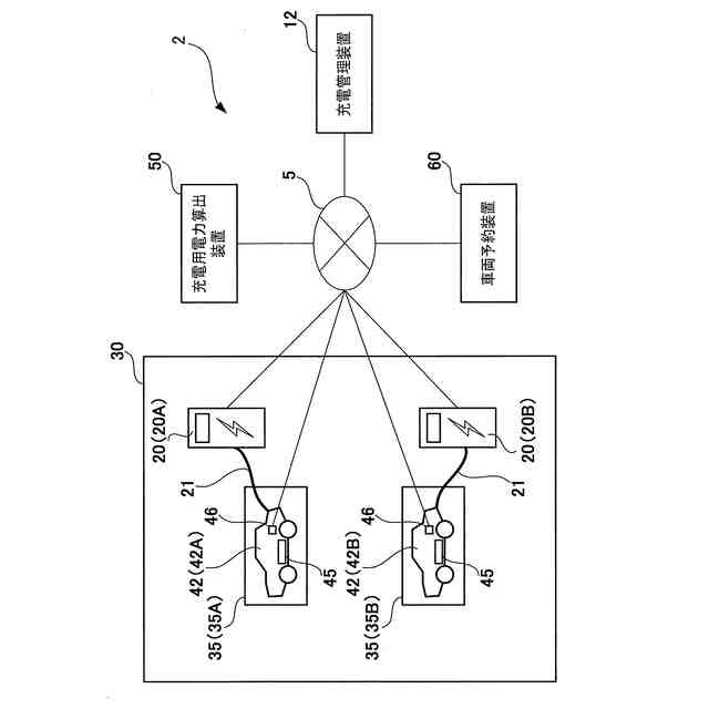
第1実施形態に係る車両充電システムの全体構成を示す図である。
第1実施形態に係る車両充電システムの充電管理装置の構成を示す図である。
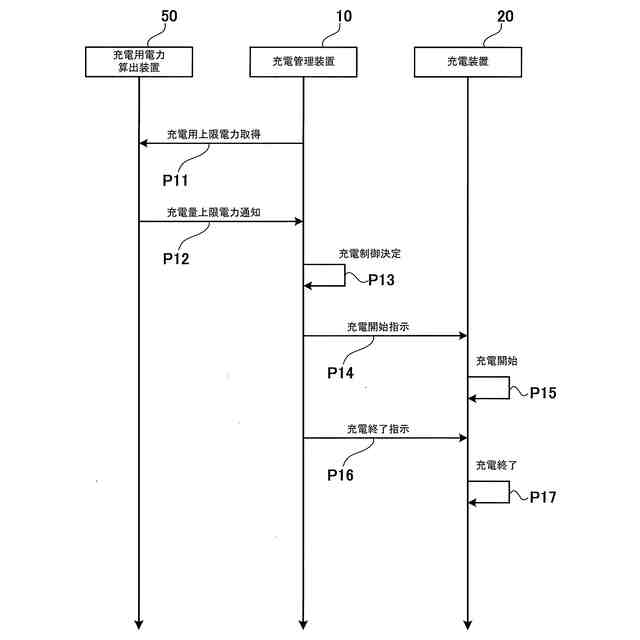
第1実施形態に係る車両充電システムにおける車両の充電時の概要を示す図である。
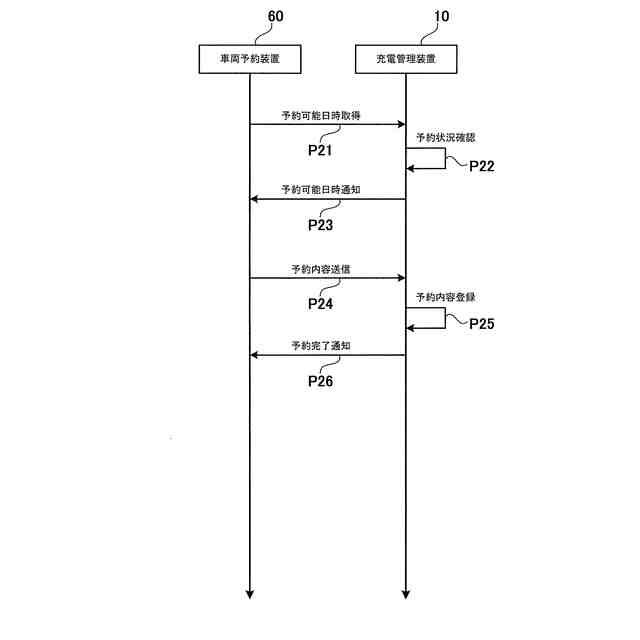
第1実施形態に係る車両充電システムにおける車両の予約時の概要を示す図である。
第1実施形態に係る車両充電システムにおける充電制御決定処理のフローチャートである。
第1実施形態に係る車両充電システムにおける優先度判定処理のフローチャートである。
第1実施形態に係る車両充電システムにおける余裕期間の算出例について説明する図である。
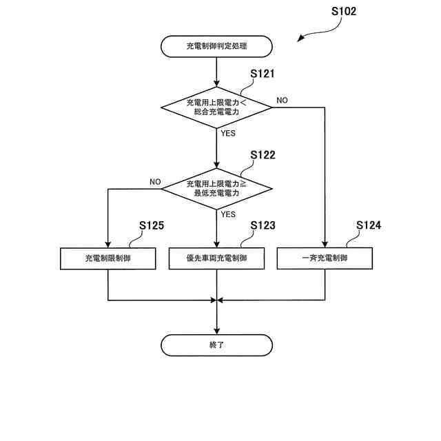
第1実施形態に係る車両充電システムにおける充電制御判定処理のフローチャートである。
第2実施形態に係る車両充電システムの全体構成を示す図である。
第2実施形態に係る車両充電システムの充電管理装置の構成を示す図である。
第2実施形態に係る車両充電システムにおける充電制御決定処理のフローチャートである。
第2実施形態に係る車両充電システムにおける優先度判定処理のフローチャートである。
第2実施形態に係る車両充電システムにおける余裕期間の算出例について説明する図である。
【発明を実施するための形態】
【0010】
以下、本開示技術を具体化した実施の形態について、添付図面を参照しつつ詳細に説明する。まず、実施の形態のひとつである第1実施形態について説明し、その後、第1実施形態とは異なる第2実施形態について説明する。
(【0011】以降は省略されています)
この特許をJ-PlatPat(特許庁公式サイト)で参照する
関連特許
中部電力株式会社
車両充電システムおよび車両充電方法
10日前
中部電力ミライズ株式会社
車両充電システム
1か月前
中部電力株式会社
鳥類の飛来を抑制する抑制具、鳥類の飛来を抑制する方法
10日前
中部電力ミライズ株式会社
状態判定装置および状態判定プログラム
19日前
中部電力株式会社
地表の三次元モデル作成装置、地表の三次元モデル作成方法、及び地表の三次元モデル作成プログラム
1か月前
株式会社センシンロボティクス
情報処理方法、情報処理システム及びプログラム
1か月前
株式会社センシンロボティクス
情報処理システム、情報処理方法及びプログラム
1か月前
株式会社センシンロボティクス
情報処理システム、情報処理方法及びプログラム
1か月前
個人
単極モータ
1か月前
個人
電気を重力で発電装置
11日前
キヤノン電子株式会社
モータ
18日前
キヤノン電子株式会社
モータ
10日前
株式会社アイシン
ロータ
1か月前
株式会社アイシン
ロータ
1か月前
コーセル株式会社
電源装置
19日前
日星電気株式会社
ケーブル組立体
26日前
トヨタ自動車株式会社
モータ
10日前
株式会社デンソー
回転機
1か月前
株式会社アイシン
ステータ
1か月前
株式会社アイシン
ステータ
1か月前
株式会社ダイヘン
充電装置
1か月前
株式会社ダイヘン
充電装置
1か月前
株式会社ダイヘン
充電装置
1か月前
株式会社ダイヘン
充電装置
1か月前
株式会社アイシン
ステータ
1か月前
株式会社アイシン
ステータ
1か月前
個人
二次電池繰返パルス放電器用印刷基板
24日前
株式会社kaisei
発電システム
1か月前
株式会社ミツバ
回転電機
1か月前
株式会社ミツバ
回転電機
1か月前
株式会社デンソー
電力変換装置
25日前
株式会社デンソー
電力変換装置
1か月前
株式会社ダイヘン
インバータ装置
1か月前
トヨタ自動車株式会社
固定子の加熱装置
21日前
株式会社デンソー
非接触受電装置
27日前
トヨタ自動車株式会社
ステータの製造装置
11日前
続きを見る
他の特許を見る